LEMON Manuals: Even more car manuals for everyone: 1960-2025
Home >> Lexus >> 2007 >> RX 350 FWD >> Repair and Diagnosis >> Engine Performance >> Engine Control System >> ECM >> Installation
April 5, 2026: LEMON Manuals is launched! Read the announcement.

Engine Control System: ECM: Installation

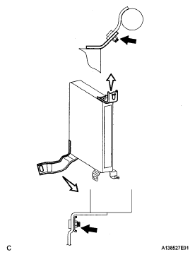
  1. INSTALL ECM 
    1. Install the ECM No. 1 bracket to the ECM with the 2 screws.
    2. Install the ECM No. 2 bracket to the ECM with the 2 screws.
    3. Install the ECM No. 3 bracket to the ECM with the 2 screws.
    4. Install the ECM with the 2 nuts.

      Torque: 5.5 N*m (56 kgf*cm, 49 in.*lbf) 

    5. Install the wire harness clamp.
    6. Connect the 5 ECM connectors.
  2. INSTALL GLOVE COMPARTMENT DOOR ASSEMBLY 
  3. CONNECT CABLE TO NEGATIVE BATTERY TERMINAL 
  4. INITIALIZE ECM 
    NOTE: After replacing the ECM on vehicles with a dynamic laser cruise control system, it is necessary to initialize the ECM so that the ECM can recognize the dynamic laser cruise control system.
    Fig 1: Locating ECM Bracket Screws
    G05268344Courtesy of © TOYOTA, LICENSE AGREEMENT TMS1002
    1. Be sure to perform the following procedures after replacing the ECM.
      1. Turn the ignition switch to the ON position.
      2. Turn the cruise main switch on.
      3. With the brake pedal depressed, push the cruise control main switch to RES/ACC 3 times within 3 seconds. Check that the buzzer sounds at this time.
        NOTE: Do not turn the headlight dimmer switch on at this time because the optical axis automatic adjustment mode has already started, which may lead to an incorrect optical axis setting. If the headlight dimmer switch is turned on by mistake, readjust the optical axis (See ADJUSTMENT ).
      4. Turn the ignition switch off.