LEMON Manuals: Even more car manuals for everyone: 1960-2025
Home >> Lexus >> 2008 >> GS 460 >> Repair and Diagnosis >> Brakes >> Traction Control >> Brake Control >> Vehicle Stability Control System >> System Description
April 5, 2026: LEMON Manuals is launched! Read the announcement.

System Description

  1. VDIM (Vehicle Dynamics Integrated Management) DESCRIPTION 
    1. This vehicle is equipped with VDIM. It is a concept of vehicle motion control that integrates brake control, drive force control and steering control.
    2. Conventional vehicles use a combination of independent functions such as ABS, TR(A)C, VSC and electronic power steering. However, VDIM integrates these systems to improve "driving, turning and stopping," the motion performance of the vehicle in other words.
    3. In conventional vehicles, control starts at the vehicle's limit. However VDIM exercises control before the limit is reached, creating a smooth vehicle response. This expands the limits of the vehicle, and increases driving pleasure.
      Fig 1: Vehicle Dynamics Integrated Management Description Chart
      G05806950Courtesy of © TOYOTA, LICENSE AGREEMENT TMS1002
    4. The VDIM manages alt functions, such as the ABS with EBD, BA, the TR(A)C, and the VSC. It is operated by the VSC system, which regulates a brake fluid pressure. The steering cooperative control function is also available. The VDIM is able to perform comprehensive management.
    5. Conventional brake control systems begin to control either the braking or motive force in order to stabilize the vehicle when it becomes unstable due to loss of tire traction. In contrast, in order to maintain stable vehicle control, the VDIM commences controlling the brake and steering systems in accordance with changes in vehicle balance before the vehicle becomes unstable. As a result, smooth vehicle control is achieved.
    6. Conventional brake control systems manage all related functions, such as the ABS with EBD, BA, the TR(A)C and the VSC independently, according to the vehicle dynamics. In contrast, the VDIM provides smooth control by seamlessly integrating all those functions.
  2. FUNCTION DESCRIPTION 

    HINT:

    The yaw rate and acceleration sensor is made up of 2 individual sensors that are combined in a single unit. One of the sensors is the yaw rate sensor and the other is the acceleration sensor. This unit communicates with the skid control ECU via CAN communication.

    1. Regarding enabling and disabling TR(A)C and VSC operation through the VSC OFF switch.

      Changing modes: Through the VSC OFF switch, the vehicle can be changed to normal mode, TR(A)C off mode and VSC off mode.

      1. Normal mode: When the vehicle is in TR(A)C off mode or VSC off mode, and the VSC OFF switch is pressed for a short amount of time, the vehicle changes to normal mode. During normal mode, TR(A)C and VSC operation is possible. After the engine switch is turned on (IG), the vehicle is in normal mode.
      2. TR(A)C off mode: When the vehicle is in normal mode and the VSC OFF switch is pressed for a short amount of time, the vehicle changes to TR(A)C off mode. During TR(A)C off mode, the combination meter's slip indicator light illuminates, and TR(A)C operation is disabled. During TR(A)C off mode, if the vehicle speed increases to 50 km/h (31 mph) or more, the vehicle automatically returns to normal mode.
      3. VSC OFF mode: When the vehicle is stopped and the VSC OFF switch is pressed for 3 seconds or more, the vehicle changes to VSC off mode. During VSC off mode, the combination meter's slip indicator and VSC OFF indicator lights illuminate. Also, VSC and TR(A)C operation is disabled. During VSC off mode, even if the vehicle speed increases, the vehicle does not return to normal mode.
    2. ABS (Anti-lock Brake System)

      The ABS helps prevent the wheels from locking when the brakes are applied firmly or when braking on a slippery surface.

      Fig 2: Anti-lock Brake System Chart
      G05806951Courtesy of © TOYOTA, LICENSE AGREEMENT TMS1002
      1. Operation description

        The skid control ECU detects wheel lock by receiving vehicle speed signals from each speed sensor, and sends control signals to the solenoid valve. The solenoid valve avoid wheel lock by controlling the brake fluid pressure of each wheel cylinder.

        The ABS warning light comes on when the ABS system is malfunctioning.

    3. EBD (Electronic Brake force Distribution) The EBD control utilizes the ABS, to properly distribute brake force between the front and rear wheels in accordance with driving conditions. When braking while cornering, it also controls the brake force distribution between the right and left wheels, helping to maintain vehicle behavior.
      Fig 3: Electronic Brake Force Distribution Chart
      G05806952Courtesy of © TOYOTA, LICENSE AGREEMENT TMS1002
      1. Operation description

        The skid control ECU receives a speed signal from each wheel speed sensor, and uses these signals to detect wheel lock. The skid control ECU uses this information in order to determine appropriate control of the solenoid valves. The solenoid valves control the hydraulic pressure applied to the brake cylinder at each wheel. In this way, the solenoid valves are used to control the brake force distribution between the front and rear, and left and right wheels. The brake warning light will come on if there is a malfunction in the EBD system.

    4. BA (Brake Assist)

      The primary purpose of the brake assist system is to provide auxiliary brake force to assist a driver who cannot generate a large enough brake force during emergency braking, thus helping to maximize the vehicle's brake performance.

      Fig 4: Brake Assist Chart
      G05806953Courtesy of © TOYOTA, LICENSE AGREEMENT TMS1002
      1. Operation description

        The skid control ECU receives the speed signal from each speed sensor and the fluid pressure signal from the master cylinder pressure sensor to determine whether brake assist is necessary. If brake assist is necessary, the skid control ECU sends control signals to the pump motor and solenoid. The pump and the solenoid valve then control the pressure applied to each wheel cylinder.

        The ABS warning light comes on to indicate a malfunction in the BA system.

    5. TR(A)C (Traction Control)

      The TR(A)C system helps prevent the drive wheels from slipping when the driver presses down on the accelerator pedal excessively when starting off or accelerating on a slippery surface.

      Fig 5: Traction Control Chart
      G05806954Courtesy of © TOYOTA, LICENSE AGREEMENT TMS1002
      1. Operation description

        The skid control ECU detects the vehicle's slip condition by receiving signals from each speed sensor and ECM via CAN communication. The skid control ECU sends via CAN communication to the ECM in order to control engine torque. The skid control ECU controls brake hydraulic pressure using the pump and solenoid valves. The slip indicator light blinks when the system is operating. When there is a malfunction in the TR(A)C system, both the VSC warning and slip indicator lights will come on and the DTC will be displayed on the multi-information display. The VSC OFF switch stops TR(A)C operation.

        HINT:

        When the VSC OFF switch is pressed, the vehicle changes to TR(A)C off mode, and TR(A)C operation is disabled. During TR(A)C off mode, if the VSC OFF switch is pressed again or the vehicle speed increases to 50 km/h (31 mph), TR(A)C operation becomes possible. During TR(A)C off mode, the slip indicator light illuminates.

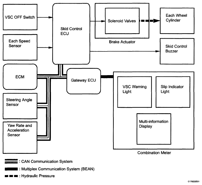
    6. VSC (Vehicle Stability Control)

      The VSC system helps prevent the vehicle from slipping sideways as a result of strong front or rear wheel skid during cornering.

      Fig 6: Vehicle Stability Control Chart
      G05806955Courtesy of © TOYOTA, LICENSE AGREEMENT TMS1002
      1. Operation description

        The skid control ECU determines the vehicle condition by receiving signals from the speed sensor, yaw rate and acceleration sensor and steering angle sensor. The skid control ECU sends via CAN communication to the ECM in order to control engine torque. The skid control ECU controls brake hydraulic pressure using the pump and solenoid valves.

        The slip indicator light blinks and the skid control buzzer sounds when the system is operating. When there is a malfunction in the VSC system, both VSC warning and slip indicator lights will come on and the DTC will be displayed on the multi-information display. The VSC OFF switch stops VSC operation.

        HINT:

        When the VSC OFF switch is pressed for 3 seconds or more with the vehicle stopped, the VSC system changes to VSC off mode. If the VSC OFF switch is pressed again with the system in VSC off mode, the TR(A)C and VSC systems can be operated. When the system is in VSC off mode, the slip indicator light and VSC OFF indicator light illuminate.

  3. HILL-START ASSIST CONTROL 
    1. The hill-start assist control detects rearward motion of the vehicle. It automatically increased the brake hydraulic pressure for the four wheels in order to reduce the rearward speed of the vehicle.
    2. The vehicle tends to slide backward when the driver moves his foot from the brake pedal to the accelerator pedal trying to start on a steep or slippery uphill. This function is effective in this kind of situation in which starting is difficult.
  4. DYNAMIC RADAR CRUISE CONTROL 
    1. This system is designed to maintain an appropriate distance to the vehicle ahead, which is proportional to the vehicle speed. The distance to the vehicle ahead is measured based on signals sent from the millimeter wave radar sensor. To maintain the appropriate distance, this system controls the engine output, and also applies the brake if the distance to the vehicle ahead is too short.
  5. PRE-COLLISION CONTROL 
    1. The pre-collision system predicts frontal collisions with other vehicles or objects. By winding up the seat belts prior to a collision, and performing brake control and brake assist control, it lessens the impact during a collision.
    2. The millimeter wave radar sensor recognizes if there is a vehicle or object on the road ahead, and the distance control ECU makes a judgement on whether a collision is unavoidable based on the position, speed, and course of the object.
    3. The distance control ECU sends this information via CAN communication to the seat belt control ECU, suspension control ECU and skid control ECU, in order to operate each component of the pre-collision system.
  6. ABS with EBD, BA, TR(A)C and VSC OPERATION 
    1. The skid control ECU calculates vehicle stability based on signals from the speed sensor, yaw rate and acceleration sensor, and steering angle sensor. In addition, it evaluates the results to determine whether any control actions (control of the engine output torque using the electronic throttle control or wheel brake pressure using the brake actuator assembly) should be implemented.
    2. The slip indicator blinks and the skid control buzzer sounds to inform the driver that the VSC system is operating. The slip indicator also blinks when traction control is operating, and the operation being performed is displayed.
  7. FAIL SAFE 
    1. When a failure occurs in the ABS with BA, TR(A)C and VSC systems, the ABS and VSC warning lights, and slip indicator light come on and ABS with BA, TR(A)C and VSC operations are prohibited. In addition to this, when there is a malfunction that disables EBD operation, the brake warning light also comes on and EBD operation is prohibited.
    2. If control is prohibited due to a malfunction during operation, control will be disabled gradually. This is to avoid sudden vehicle instability.
  8. INITIAL CHECK 
    1. When the vehicle speed first reaches approximately 6 km/h (4 mph) or more after the engine switch is turned on (IG), each solenoid valve and motor of the brake actuator are sequentially activated to perform an electrical check. During this initial check, the operating sound of the solenoid valve and motor can be heard from the engine compartment, but this is not a malfunction.
  9. INSPECTION MODE 
    1. VSC operation can be disabled by operating the Techstream (See PRECAUTION ).
  10. FUNCTION OF COMPONENTS 
    COMPONENTS FUNCTION CHART

    Components Function
    Skid control ECU
    • Processes signals sent from each sensor to control the ABS, BA, TR(A)C, and VSC.
    • Sends and receives control signals to or from the ECM, yaw rate and acceleration sensor, and steering angle sensor, etc. via CAN communication.
    Brake actuator assembly Controls the hydraulic pressure of each of the four wheel cylinders using output signals of the skid control ECU.
    ABS solenoid relay Supplies power to each solenoid.
    ABS motor relay Supplies power to the pump motor.
    ABS motor fail safe relay Cuts off power to the motor when the pump motor circuit malfunctions.
    Solenoid identification Determines the identification signal using the skid control ECU, and specifies control characteristics of the actuator.
    Speed sensor Detects the wheel speed and sends the signal to the skid control ECU.
    Steering angle sensor
    • Detects the steering amount and direction and sends the signals to the skid control ECU via CAN communication.
    • Has a magnetic resistance element which detects the rotation of the magnet housed in the detection gear in order to detect the changes of magnetic resistance and the steering amount and direction.
    Yaw rate and acceleration sensor
    • Acceleration sensor measures the capacity of the condenser that changes the distance between the electrodes depending on G force, which occurs when the vehicle is accelerated, and converts the measured value into electrical signals.
    • Yaw rate sensor detects the vehicle's angular velocity (yaw rate) in the vertical direction based on the amount and direction of the piezoelectric ceramics deflection.
    • Sends signals to the skid control ECU via CAN communication.
    Master cylinder pressure sensor
    • Detects the fluid pressure in the master cylinder.
    • Housed in the brake actuator assembly.
    Stop light switch Detects the brake operating conditions and inputs the results to the skid control ECU.
    Brake pedal load sensing switch
    • Installed on the brake pedal.
    • Turned on when the brake pedal is depressed.
    Parking brake switch Detects the parking brake operating conditions and inputs the signals to the skid control ECU.
    VSC OFF switch Pressing this switch turns off TR(A)C and pressing and holding this switch turns off TR(A)C and VSC.
    ECM Controls the engine output when TR(A)C and/or VSC are operating with the skid control ECU via CAN communication.
    Skid control buzzer
    • Intermittently sounds to inform the driver that the VSC is operating.
    • Intermittently sounds to inform the driver if the temperature of the brake actuator has increased excessively due to continuous operation of the hill-start assist control.
    ABS warning light
    • Comes on to inform the driver that a malfunction in the ABS and/or BA has occurred.
    • Blinks to output DTCs.
    Brake warning light
    • Comes on to inform the driver that the parking brake is ON when the system is normal, the brake fluid has decreased, or the master cylinder pressure is lost as the brake pedal load sensing switch is pressed.
    • Comes on to inform the driver that a malfunction in the EBD has occurred.
    VSC warning light
    • Displays to inform the driver that a malfunction in the VSC system has occurred.
    • Displays to output DTCs.
    VSC OFF indicator light Comes on to inform the driver when the VSC off mode is entered using the VSC OFF switch.
    Slip indicator light
    • Blinks to inform the driver that TR(A)C and VSC are operating.
    • Comes on when the VSC OFF switch is ON to inform the driver of the TR(A)C or VSC prohibited state.
    Master caution indicator light Comes on to inform-the driver that a malfunction in the brake control system has occurred.
    Multi-information display
    • Shows warning messages to alert the driver when the skid control ECU detects malfunctions in the brake control system.
    • Displays DTCs.