LEMON Manuals: Even more car manuals for everyone: 1960-2025
Home >> Lexus >> 2008 >> IS 250 AWD >> Repair and Diagnosis >> External Pages >> Different car >> Section 40 (Networking) >> Can Communication System >> System Diagram
April 5, 2026: LEMON Manuals is launched! Read the announcement.

System Diagram

WARNING: This page is about a different car, the 2008 Lexus IS F. However, it is still accessible from the selected car via links, so may be relevant.
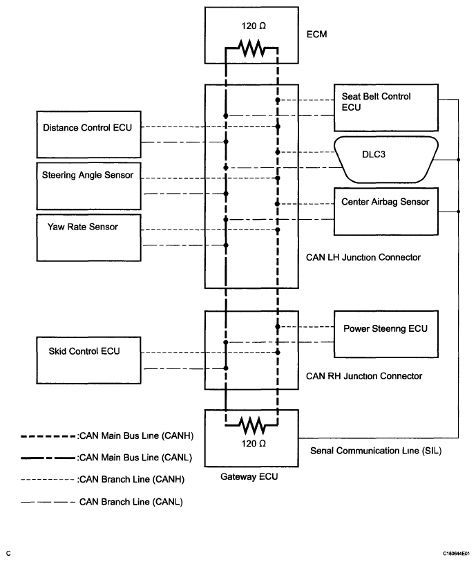
Fig 1: Communication System Diagram
G05754111Courtesy of © TOYOTA, LICENSE AGREEMENT TMS1002

HINT.