LEMON Manuals: Even more car manuals for everyone: 1960-2025
Home >> Lexus >> 2008 >> LX 570 >> Repair and Diagnosis >> Transmission >> Automatic Trans >> Automatic Transmission >> Automatic Transmission Unit >> Disassembly
April 5, 2026: LEMON Manuals is launched! Read the announcement.

Automatic Transmission Unit: Disassembly

  1. REMOVE TRANSMISSION CONTROL SHAFT LEVER RH 
    1. Remove the nut, spring washer and control shaft lever.
    Fig 1: Removing Transmission Control Shaft Lever RH
    G05760783Courtesy of © TOYOTA, LICENSE AGREEMENT TMS1002
  2. REMOVE PARK/NEUTRAL POSITION SWITCH ASSEMBLY 
    1. Using a screwdriver, bend the tabs of the lock washer.
    2. Remove the nut, lock washer and bolt.
    3. Remove the park/neutral position switch.
    Fig 2: Removing Park/Neutral Position Switch Assembly
    G05155047Courtesy of © TOYOTA, LICENSE AGREEMENT TMS1002
  3. REMOVE SPEED SENSOR 
    1. Remove the 2 bolts and 2 speed sensors.
    2. Remove the 2 O-rings from the sensors.
    Fig 3: Removing Speed Sensor
    G05155048Courtesy of © TOYOTA, LICENSE AGREEMENT TMS1002
  4. REMOVE TRANSMISSION OIL COOLER ASSEMBLY 
    1. Remove the 3 bolts and transmission oil cooler with transmission oil thermostat.
    2. Separate the transmission oil cooler from the transmission oil thermostat.
    3. Remove the 4 O-rings.
    Fig 4: Removing Transmission Oil Cooler Assembly
    G05760745Courtesy of © TOYOTA, LICENSE AGREEMENT TMS1002
  5. REMOVE AUTOMATIC TRANSMISSION BREATHER TUBE 
    1. Remove the 2 bolts.
    2. Remove the breather tube.
    3. Remove the O-ring from the tube.
    Fig 5: Removing Automatic Transmission Breather Tube
    G05647639Courtesy of © TOYOTA, LICENSE AGREEMENT TMS1002
  6. REMOVE AUTOMATIC TRANSMISSION HOUSING 
    1. Remove the 14 bolts.
    2. Remove the transmission housing.
    Fig 6: Removing Automatic Transmission Housing
    G05155052Courtesy of © TOYOTA, LICENSE AGREEMENT TMS1002
  7. REMOVE REAR ADAPTOR TRANSFER 
    1. Remove the 10 bolts.
    2. Remove the rear adaptor transfer.

      HINT:

      Tap on the circumference of the extension housing with a plastic-faced hammer to remove the rear adaptor transfer.

      Fig 7: Removing Rear Adaptor Transfer
      G05155304Courtesy of © TOYOTA, LICENSE AGREEMENT TMS1002
  8. REMOVE TRANSMISSION CASE ADAPTOR OIL SEAL 
    1. Using a screwdriver, pry out the oil seal.
      NOTE: Be careful not to damage the rear adaptor transfer.

      HINT:

      Wrap the tip of the screwdriver with tape.

      Fig 8: Removing Transmission Case Adaptor Oil Seal
      G05155054Courtesy of © TOYOTA, LICENSE AGREEMENT TMS1002
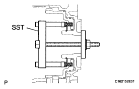
  9. REMOVE TRANSFER CASE ADAPTER RADIAL BALL BEARING 
    1. Using a screwdriver, remove the snap ring.
    2. Using SST and a press, press out the bearing.

      SST 09950-60010 (09951-00650), 09950-70010 (09951-07150) 

      Fig 9: Removing Transfer Case Adapter Radial Ball Bearing
      G05155055Courtesy of © TOYOTA, LICENSE AGREEMENT TMS1002
  10. FIX AUTOMATIC TRANSMISSION CASE SUB-ASSEMBLY 
    1. Install the transmission case to an overhaul attachment.
    Fig 10: Installing Transmission Case To Overhaul Attachment
    G05155056Courtesy of © TOYOTA, LICENSE AGREEMENT TMS1002
  11. REMOVE AUTOMATIC TRANSMISSION OIL PAN SUB-ASSEMBLY 
    NOTE: Do not turn the transmission over as this will contaminate the valve body with foreign matter on the bottom of the pan.
    1. Remove the drain plug, 12 bolts, oil pan and gasket.
  12. INSPECT AUTOMATIC TRANSMISSION OIL PAN SUB-ASSEMBLY  (See INSPECTION )
    Fig 11: Removing Automatic Transmission Oil Pan Sub-Assembly
    G05760793Courtesy of © TOYOTA, LICENSE AGREEMENT TMS1002
  13. REMOVE VALVE BODY OIL STRAINER ASSEMBLY 
    1. Turn over the transmission.
    2. Remove the 4 bolts and oil strainer from the valve body.
    3. Remove the O-ring from the oil strainer.
    Fig 12: Removing Valve Body Oil Strainer Assembly
    G05647461Courtesy of © TOYOTA, LICENSE AGREEMENT TMS1002
  14. REMOVE TRANSMISSION WIRE 
    1. Remove the 2 bolts and 2 temperature sensor clamps.
    2. Disconnect the 2 ATF temperature sensors.
    3. Disconnect the 9 connectors from the solenoid valves.
      Fig 13: Locating Bolts And Temperature Sensor Clamps
      G05155059Courtesy of © TOYOTA, LICENSE AGREEMENT TMS1002
    4. Remove the 2 bolts and pull out the No. 1 and No. 2 transmission wires.
      Fig 14: Locating Bolts For No. 1 And No. 2 Transmission Wires
      G05155060Courtesy of © TOYOTA, LICENSE AGREEMENT TMS1002
    5. Remove the 2 O-rings from the transmission wire connectors.
  15. REMOVE TRANSMISSION VALVE BODY ASSEMBLY 
    1. Remove the bolt, detent spring cover and detent spring.
      Fig 15: Removing O-Rings From Transmission Wire Connectors
      G05155061Courtesy of © TOYOTA, LICENSE AGREEMENT TMS1002
    2. Remove the 19 bolts.
    3. Remove the valve body assembly.
    Fig 16: Locating Bolts For Valve Body Assembly
    G05154849Courtesy of © TOYOTA, LICENSE AGREEMENT TMS1002
  16. REMOVE TRANSMISSION CASE GASKET 
    1. Remove the 3 gaskets.
    Fig 17: Removing Transmission Case Gasket
    G05155063Courtesy of © TOYOTA, LICENSE AGREEMENT TMS1002
  17. REMOVE BRAKE DRUM GASKET 
    1. Remove the 3 gaskets.
    Fig 18: Removing Brake Drum Gasket
    G05155064Courtesy of © TOYOTA, LICENSE AGREEMENT TMS1002
  18. REMOVE CHECK BALL BODY 
    1. Remove the check ball body and spring.
    Fig 19: Removing Check Ball Body
    G05155290Courtesy of © TOYOTA, LICENSE AGREEMENT TMS1002
  19. REMOVE C-2 ACCUMULATOR PISTON 
    1. While applying compressed air to the oil hole, remove the C-2 accumulator piston and spring.
    2. Remove the 2 O-rings from the piston.
      NOTE: Be careful as the C-3 and B-3 accumulator pistons may jump out.
      Fig 20: Removing C-2 Accumulator Piston
      G05155066Courtesy of © TOYOTA, LICENSE AGREEMENT TMS1002
  20. REMOVE B-3 ACCUMULATOR PISTON 
    1. While applying compressed air to the oil hole, remove the B-3 accumulator piston and spring.
    2. Remove the 2 O-rings from the piston.
      NOTE: Be careful as the C-3 accumulator piston may jump out.
    Fig 21: Removing B-3 Accumulator Piston
    G05155066Courtesy of © TOYOTA, LICENSE AGREEMENT TMS1002
  21. REMOVE C-3 ACCUMULATOR PISTON 
    1. While applying compressed air to the oil hole, remove the C-3 accumulator piston and spring.
    2. Remove the 2 O-rings from the piston.
    Fig 22: Removing C-3 Accumulator Piston
    G05155068Courtesy of © TOYOTA, LICENSE AGREEMENT TMS1002
  22. REMOVE B-1 ACCUMULATOR VALVE 
    1. Remove the B-1 accumulator valve and 2 springs.
    Fig 23: Removing B-1 Accumulator Valve
    G05155069Courtesy of © TOYOTA, LICENSE AGREEMENT TMS1002
  23. REMOVE PARKING LOCK PAWL BRACKET 
    1. Remove the 3 bolts and bracket.
    Fig 24: Removing Parking Lock Pawl Bracket
    G05155070Courtesy of © TOYOTA, LICENSE AGREEMENT TMS1002
  24. REMOVE PARKING LOCK ROD SUB-ASSEMBLY 
    1. Disconnect the parking lock rod from the manual valve lever.
    Fig 25: Removing Parking Lock Rod Sub-Assembly
    G05155071Courtesy of © TOYOTA, LICENSE AGREEMENT TMS1002
  25. REMOVE PARKING LOCK PAWL 
    1. Pull out the parking lock pawl shaft from the front side, and then remove the lock pawl and spring.
    2. Remove the E-ring from the shaft.
    Fig 26: Removing Parking Lock PAWL
    G05155072Courtesy of © TOYOTA, LICENSE AGREEMENT TMS1002
  26. REMOVE MANUAL VALVE LEVER SUB-ASSEMBLY 
    1. Using a screwdriver and hammer, cut off the spacer and remove it from the shaft.
      Fig 27: Cutting Off Spacer
      G04963516Courtesy of © TOYOTA, LICENSE AGREEMENT TMS1002
    2. Using a pin punch and hammer, tap out the spring pin.

      HINT:

      Slowly tap out the spring pin so that it does not fall into the transmission case.

    3. Pull the manual valve lever shaft out through the transmission case, and remove the manual valve lever.
    Fig 28: Pulling Manual Valve Lever Shaft Out Through Transmission Case
    G05155074Courtesy of © TOYOTA, LICENSE AGREEMENT TMS1002
  27. REMOVE MANUAL VALVE LEVER SHAFT OIL SEAL 
    1. Using a screwdriver, pry out the 2 oil seals.
      NOTE: Be careful not to damage the transmission case.

      HINT:

      Wrap the tip of the screwdriver with tape before use.

      Fig 29: Prying Out Oil Seals
      G05155075Courtesy of © TOYOTA, LICENSE AGREEMENT TMS1002
  28. REMOVE OIL PUMP ASSEMBLY 
    1. Remove the 10 bolts.
      Fig 30: Locating Oil Pump Assembly Bolts
      G05155076Courtesy of © TOYOTA, LICENSE AGREEMENT TMS1002
    2. Using SST, pull out the oil pump.

      SST 09950-40011 (09951-04010,09953-04020, 09958-04011, 09952-04010, 09954-04010, 09955-04031, 09955-04031) 

      Fig 31: Pulling Out Oil Pump
      G05155077Courtesy of © TOYOTA, LICENSE AGREEMENT TMS1002
    3. Remove the O-ring and 2 thrust bearing races from the oil pump.
    Fig 32: Removing O-Ring And Thrust Bearing Races From Oil Pump
    G05155078Courtesy of © TOYOTA, LICENSE AGREEMENT TMS1002
  29. REMOVE CLUTCH DRUM AND INPUT SHAFT ASSEMBLY 
    1. Remove the clutch drum and input shaft assembly from the transmission case.
      Fig 33: Removing Clutch Drum And Input Shaft Assembly From Transmission Case
      G05155079Courtesy of © TOYOTA, LICENSE AGREEMENT TMS1002
    2. Remove the clutch drum thrust washer and 2 thrust needle roller bearings.
  30. INSPECT NO. 2 1-WAY CLUTCH ASSEMBLY  (See INSPECTION )
    Fig 34: Removing Clutch Drum Thrust Washer And Thrust Needle Roller Bearings
    G05155080Courtesy of © TOYOTA, LICENSE AGREEMENT TMS1002
  31. REMOVE NO. 2 1-WAY CLUTCH ASSEMBLY 
    1. Remove the No. 2 1-way clutch and clutch drum thrust washer from the clutch drum and input shaft assembly.
    Fig 35: Removing No. 2 1-Way Clutch Assembly
    G05155081Courtesy of © TOYOTA, LICENSE AGREEMENT TMS1002
  32. FIX CLUTCH DRUM AND INPUT SHAFT ASSEMBLY 
    1. Place the oil pump onto the torque converter clutch, and then place the clutch drum and input shaft assembly onto the oil pump.
    Fig 36: Fixing Clutch Drum And Input Shaft Assembly
    G05155082Courtesy of © TOYOTA, LICENSE AGREEMENT TMS1002
  33. REMOVE REVERSE CLUTCH HUB SUB-ASSEMBLY 
    1. Using a screwdriver, remove the snap ring.
      Fig 37: Removing Snap Ring
      G05155083Courtesy of © TOYOTA, LICENSE AGREEMENT TMS1002
    2. Remove the reverse clutch reaction sleeve and reverse clutch hub sub-assembly with the rear clutch disc set from the clutch drum.
    Fig 38: Removing Reverse Clutch Reaction Sleeve And Reverse Clutch Hub Sub-Assembly
    G05155084Courtesy of © TOYOTA, LICENSE AGREEMENT TMS1002
  34. REMOVE REAR CLUTCH DISC SET 
    1. Remove the cushion plate, selected reverse clutch flange, 5 discs and 4 plates from the reverse clutch hub.
      Fig 39: Removing Cushion Plate, Selected Reverse Clutch Flange, Discs And Plates From Reverse Clutch Hub
      G05760821Courtesy of © TOYOTA, LICENSE AGREEMENT TMS1002
    2. Remove the reverse clutch flange from the clutch drum.
  35. INSPECT REAR CLUTCH DISC  (See INSPECTION )
  36. INSPECT REVERSE CLUTCH HUB SUB-ASSEMBLY  (See INSPECTION )
    Fig 40: Removing Reverse Clutch Flange From Clutch Drum
    G05155086Courtesy of © TOYOTA, LICENSE AGREEMENT TMS1002
  37. REMOVE FORWARD CLUTCH HUB SUB-ASSEMBLY 
    1. Remove the thrust needle roller bearing, forward clutch hub and No. 3 clutch hub thrust washer from the clutch drum.
    2. Fig 41: Removing Forward Clutch Hub Sub-Assembly
      G05155087Courtesy of © TOYOTA, LICENSE AGREEMENT TMS1002
  38. INSPECT FORWARD CLUTCH HUB SUB-ASSEMBLY  (See INSPECTION )
  39. REMOVE COAST CLUTCH HUB SUB-ASSEMBLY WITH NO. 4 1-WAY CLUTCH ASSEMBLY 
    1. Remove the 2 thrust needle roller bearings, coast clutch hub with the No. 4 1-way clutch, and thrust bearing race from the clutch drum.
    2. Fig 42: Removing Coast Clutch Hub Sub-Assembly With No. 4 1-Way Clutch Assembly
      G05155088Courtesy of © TOYOTA, LICENSE AGREEMENT TMS1002
  40. INSPECT NO. 4 1-WAY CLUTCH ASSEMBLY  (See INSPECTION )
  41. REMOVE NO. 4 1-WAY CLUTCH ASSEMBLY 
    1. Separate the No. 4 1-way clutch from the coast clutch hub.
    2. Remove the No. 2 clutch hub thrust washer from the coast clutch hub.
    Fig 43: Removing No. 4 1-Way Clutch Assembly
    G05155089Courtesy of © TOYOTA, LICENSE AGREEMENT TMS1002
  42. REMOVE FORWARD MULTIPLE DISC CLUTCH CLUTCH DISC SET 
    1. Using a screwdriver, remove the hole snap ring.
      Fig 44: Removing Hole Snap Ring
      G05155090Courtesy of © TOYOTA, LICENSE AGREEMENT TMS1002
    2. Remove the flange, 6 discs, 6 plates and cushion plate from the input shaft.
    3. Fig 45: Removing Flange, Discs, Plates And Cushion Plate From Input Shaft
      G05155091Courtesy of © TOYOTA, LICENSE AGREEMENT TMS1002
  43. INSPECT FORWARD MULTIPLE DISC CLUTCH CLUTCH DISC  (See INSPECTION )
  44. REMOVE COAST CLUTCH DISC SET 
    1. Using a screwdriver, remove the hole snap ring.
      Fig 46: Removing Hole Snap Ring
      G05155092Courtesy of © TOYOTA, LICENSE AGREEMENT TMS1002
    2. Remove the flange, 4 discs and 4 plates from the input shaft.
  45. INSPECT COAST CLUTCH DISC  (See INSPECTION )
    Fig 47: Removing Flange, Discs And Plates From Input Shaft
    G05155093Courtesy of © TOYOTA, LICENSE AGREEMENT TMS1002
  46. REMOVE INPUT SHAFT SUB-ASSEMBLY 
    1. Remove the input shaft from the clutch drum.
    Fig 48: Removing Input Shaft Sub-Assembly
    G05155094Courtesy of © TOYOTA, LICENSE AGREEMENT TMS1002
  47. REMOVE INPUT SHAFT OIL SEAL RING 
    1. Remove the 4 oil seal rings from the input shaft.
    Fig 49: Removing Input Shaft Oil Seal Ring
    G05155095Courtesy of © TOYOTA, LICENSE AGREEMENT TMS1002
  48. REMOVE COAST CLUTCH PISTON 
    1. Place SST on the No. 1 clutch balancer, and compress the return spring with a press.

      SST 09350-30020 (09350-07040) 

    2. Using SST, remove the snap ring.

      SST 09350-30020 (09350-07070) 

      Fig 50: Removing Snap Ring
      G05155096Courtesy of © TOYOTA, LICENSE AGREEMENT TMS1002
    3. Remove the No. 1 clutch balancer and forward clutch return spring from the input shaft.
      Fig 51: Removing No. 1 Clutch Balancer And Forward Clutch Return Spring From Input Shaft
      G05155097Courtesy of © TOYOTA, LICENSE AGREEMENT TMS1002
    4. Remove the O-ring from the No. 1 clutch balancer.
      Fig 52: Removing O-Ring From No. 1 Clutch Balancer
      G05155098Courtesy of © TOYOTA, LICENSE AGREEMENT TMS1002
    5. Hold the input shaft by hand and apply compressed air to the input shaft to remove the coast clutch piston.
  49. INSPECT FORWARD CLUTCH RETURN SPRING SUB-ASSEMBLY  (See INSPECTION )
    Fig 53: Applying Compressed Air To Input Shaft For Removing Coast Clutch Piston
    G05155099Courtesy of © TOYOTA, LICENSE AGREEMENT TMS1002
  50. REMOVE FORWARD CLUTCH PISTON SUB-ASSEMBLY 
    1. Hold the input shaft by hand and apply compressed air to the input shaft to remove the forward clutch piston.
      Fig 54: Applying Compressed Air To Input Shaft For Removing Forward Clutch Piston
      G05155100Courtesy of © TOYOTA, LICENSE AGREEMENT TMS1002
    2. Remove the O-ring from the input shaft.
    Fig 55: Removing O-Ring From Input Shaft
    G05155101Courtesy of © TOYOTA, LICENSE AGREEMENT TMS1002
  51. REMOVE DIRECT CLUTCH DISC SET 
    1. Using a screwdriver, remove the 2 hole snap rings from the clutch drum.
      Fig 56: Removing Hole Snap Rings From Clutch Drum
      G05155102Courtesy of © TOYOTA, LICENSE AGREEMENT TMS1002
    2. Remove the direct clutch flange, 5 discs and 5 plates from the clutch drum.
  52. INSPECT DIRECT CLUTCH DISC  (See INSPECTION )
    Fig 57: Removing Direct Clutch Flange, Discs And Plates From Clutch Drum
    G05155103Courtesy of © TOYOTA, LICENSE AGREEMENT TMS1002
  53. REMOVE NO. 3 CLUTCH BALANCER 
    1. Place SST on the No. 3 clutch balancer, and compress the return spring with a press.

      SST 09380-60010 (09381-06020, 09381-06030, 09381-06040, 09381-06050, 09381-06080) 

    2. Using SST, remove the snap ring.

      SST 09350-30020 (09350-07070) 

    3. Remove the No. 3 clutch balancer.
      Fig 58: Placing SST On No. 3 Clutch Balancer
      G05155104Courtesy of © TOYOTA, LICENSE AGREEMENT TMS1002
    4. Remove the reverse clutch return spring and O-ring from the reverse clutch piston sub-assembly.
  54. INSPECT REVERSE CLUTCH RETURN SPRING SUB-ASSEMBLY  (See INSPECTION )
    Fig 59: Removing Reverse Clutch Return Spring And O-Ring From Reverse Clutch Piston Sub-Assembly
    G05155105Courtesy of © TOYOTA, LICENSE AGREEMENT TMS1002
  55. REMOVE REVERSE CLUTCH PISTON SUB-ASSEMBLY 
    1. Remove the reverse clutch piston from the clutch drum.
      Fig 60: Removing Reverse Clutch Piston From Clutch Drum
      G05155106Courtesy of © TOYOTA, LICENSE AGREEMENT TMS1002
    2. Remove the O-ring from the reverse clutch piston.
      Fig 61: Removing O-Ring From Reverse Clutch Piston
      G05155107Courtesy of © TOYOTA, LICENSE AGREEMENT TMS1002
    3. Remove the O-ring from the clutch drum.
    Fig 62: Removing O-Ring From Clutch Drum
    G05155108Courtesy of © TOYOTA, LICENSE AGREEMENT TMS1002
  56. REMOVE DIRECT CLUTCH PISTON SUB-ASSEMBLY 
    1. Place SST on the direct clutch piston, and compress the return spring with a press.

      SST 09380-60010 (09381-06030, 09381-06040, 09381-06080) 

    2. Using SST, remove the snap ring.

      SST 09350-30020 (09350-07070) 

    3. Place the oil pump onto the torque converter clutch, and then place the clutch drum onto the oil pump.
      Fig 63: Placing Oil Pump Onto Torque Converter Clutch
      G05155109Courtesy of © TOYOTA, LICENSE AGREEMENT TMS1002
    4. Hold the direct clutch piston by hand and apply compressed air to the oil hole of the oil pump as shown in the illustration to remove the direct clutch piston with the No. 2 clutch balancer and direct clutch return spring sub-assembly.
      Fig 64: Applying Compressed Air To Oil Hole Of Oil Pump
      G05155110Courtesy of © TOYOTA, LICENSE AGREEMENT TMS1002
    5. Remove the No. 2 clutch balancer and direct clutch return spring sub-assembly from the direct clutch piston.
      Fig 65: Removing No. 2 Clutch Balancer And Direct Clutch Return Spring Sub-Assembly From Direct Clutch Piston
      G05155111Courtesy of © TOYOTA, LICENSE AGREEMENT TMS1002
    6. Remove the 2 O-rings from the direct clutch piston.
  57. INSPECT DIRECT CLUTCH RETURN SPRING SUB-ASSEMBLY  (See INSPECTION )
    Fig 66: Removing O-Rings From Direct Clutch Piston
    G05155112Courtesy of © TOYOTA, LICENSE AGREEMENT TMS1002
  58. REMOVE NO. 3 BRAKE SNAP RING 
    1. Using a screwdriver, remove the No. 3 brake snap ring from the transmission case.
    Fig 67: Removing No. 3 Brake Snap Ring
    G05155113Courtesy of © TOYOTA, LICENSE AGREEMENT TMS1002
  59. REMOVE NO. 3 BRAKE DISC SET 
    1. Remove the 2 flanges, 4 discs and 3 plates from the transmission case.
  60. INSPECT NO. 3 BRAKE DISC  (See INSPECTION )
    Fig 68: Removing No. 3 Brake Disc Set
    G05155114Courtesy of © TOYOTA, LICENSE AGREEMENT TMS1002
  61. REMOVE NO. 3 BRAKE PISTON HOLE SNAP RING 
    1. Using SST, remove the snap ring.

      SST 09350-30020 (09350-07060) 

      Fig 69: Removing No. 3 Brake Piston Hole Snap Ring
      G05155115Courtesy of © TOYOTA, LICENSE AGREEMENT TMS1002
  62. REMOVE NO. 3 BRAKE CYLINDER WITH NO. 3 BRAKE PISTON AND NO. 3 BRAKE PISTON RETURN SPRING SUB-ASSEMBLY 
    1. Remove the No. 3 brake cylinder with the No. 3 brake piston and No. 3 brake piston return spring from the transmission case.
    Fig 70: Removing No. 3 Brake Cylinder With No. 3 Brake Piston And No. 3 Brake Piston Return Spring Sub-Assembly
    G05155116Courtesy of © TOYOTA, LICENSE AGREEMENT TMS1002
  63. REMOVE NO. 3 BRAKE PISTON 
    1. Using SST and a press, compress the return spring and remove the snap ring and No. 3 brake piston return spring with a screwdriver.

      SST 09380-60010 (09381-06020, 09381-06040, 09381-06060, 09381-06100, 09381-06110) 

      Fig 71: Removing Snap Ring And No. 3 Brake Piston Return Spring With Screwdriver
      G05155117Courtesy of © TOYOTA, LICENSE AGREEMENT TMS1002
    2. Hold the No. 3 brake piston and apply compressed air (392 kPa, 4.0 kgf/cm2 , 57 psi) to the No. 3 brake cylinder to remove the No. 3 brake piston.
      Fig 72: Applying Compressed Air To No. 3 Brake Cylinder
      G05155118Courtesy of © TOYOTA, LICENSE AGREEMENT TMS1002
    3. Remove the 2 O-rings from the No. 3 brake piston.
  64. INSPECT NO. 3 BRAKE PISTON RETURN SPRING SUB-ASSEMBLY  (See INSPECTION )
    Fig 73: Removing O-Rings From No. 3 Brake Piston
    G05155119Courtesy of © TOYOTA, LICENSE AGREEMENT TMS1002
  65. REMOVE 1-WAY CLUTCH ASSEMBLY WITH 1-WAY CLUTCH INNER RACE SUB-ASSEMBLY 
    1. Remove the 1-way clutch with 1-way clutch inner race from the transmission case.
  66. INSPECT 1 -WAY CLUTCH ASSEMBLY  (See INSPECTION )
    Fig 74: Removing 1-Way Clutch Assembly With 1-Way Clutch Inner Race Sub-Assembly
    G05155120Courtesy of © TOYOTA, LICENSE AGREEMENT TMS1002
  67. REMOVE 1-WAY CLUTCH INNER RACE SUB-ASSEMBLY 
    1. Separate the 1 -way clutch inner race from the 1 -way clutch and remove the No. 1 planetary carrier thrust washer.
    Fig 75: Removing 1-Way Clutch Inner Race Sub-Assembly
    G05155121Courtesy of © TOYOTA, LICENSE AGREEMENT TMS1002
  68. REMOVE FRONT PLANETARY GEAR ASSEMBLY 
    1. Remove the front planetary gear and thrust needle roller bearing from the transmission case.
      Fig 76: Removing Front Planetary Gear And Thrust Needle Roller Bearing From Transmission Case
      G05155122Courtesy of © TOYOTA, LICENSE AGREEMENT TMS1002
    2. Remove the No. 2 planetary carrier thrust washer, thrust bearing race and front planetary sun gear from the front planetary gear.
    3. Fig 77: Identifying No. 2 Planetary Carrier Thrust Washer, Thrust Bearing Race And Front Planetary Sun Gear
      G05155123Courtesy of © TOYOTA, LICENSE AGREEMENT TMS1002
  69. INSPECT FRONT PLANETARY GEAR ASSEMBLY  (See INSPECTION )
  70. REMOVE FRONT PLANETARY RING GEAR WITH FRONT PLANETARY RING GEAR FLANGE SUB-ASSEMBLY AND CENTER PLANETARY RING GEAR 
    1. Remove the front planetary ring gear with the front planetary ring gear flange and center planetary ring gear from the transmission case.
    2. Remove the thrust needle roller bearing and thrust bearing race.
    Fig 78: Removing Thrust Needle Roller Bearing And Thrust Bearing Race
    G05155124Courtesy of © TOYOTA, LICENSE AGREEMENT TMS1002
  71. REMOVE FRONT PLANETARY RING GEAR 
    1. Using a screwdriver, remove the snap ring.
      Fig 79: Removing Snap Ring
      G05155125Courtesy of © TOYOTA, LICENSE AGREEMENT TMS1002
    2. Remove the front planetary ring gear from the center planetary ring gear.
    Fig 80: Removing Front Planetary Ring Gear From Center Planetary Ring Gear
    G05155126Courtesy of © TOYOTA, LICENSE AGREEMENT TMS1002
  72. REMOVE CENTER PLANETARY RING GEAR 
    1. Using a screwdriver, remove the snap ring.
      Fig 81: Removing Snap Ring
      G05155127Courtesy of © TOYOTA, LICENSE AGREEMENT TMS1002
    2. Remove the center planetary ring gear from the front planetary ring gear flange.
    Fig 82: Removing Center Planetary Ring Gear From Front Planetary Ring Gear Flange
    G05155128Courtesy of © TOYOTA, LICENSE AGREEMENT TMS1002
  73. REMOVE NO. 1 BRAKE DISC SET 
    1. Remove the flange, 4 discs and 4 plates from the transmission case.
  74. INSPECT NO. 1 BRAKE DISC  (See INSPECTION )
    Fig 83: Removing No. 1 Brake Disc Set
    G05155129Courtesy of © TOYOTA, LICENSE AGREEMENT TMS1002
  75. REMOVE NO. 1 BRAKE CYLINDER WITH NO. 1 BRAKE PISTON 
    1. Place SST on the No. 1 brake piston return spring, and compress the return spring.

      SST 09380-60010 (09381-06010, 09381-06020, 09381-06050, 09381-06060, 09381-06090, 09381-06100, 09381-06110, 09381-06120) 

    2. Using a screwdriver, remove the snap ring from the transmission case.
      Fig 84: Removing Snap Ring From Transmission Case
      G05155130Courtesy of © TOYOTA, LICENSE AGREEMENT TMS1002
    3. Remove the brake piston return spring and No. 1 brake piston with No. 1 brake cylinder from the transmission case.
  76. INSPECT BRAKE PISTON RETURN SPRING SUB-ASSEMBLY  (See INSPECTION )
    Fig 85: Identifying Brake Piston Return Spring
    G05155131Courtesy of © TOYOTA, LICENSE AGREEMENT TMS1002
  77. REMOVE NO. 1 BRAKE PISTON 
    1. Hold the No. 1 brake piston and apply compressed air to the No. 1 brake cylinder to remove the No. 1 brake piston.

      HINT:

      If the piston does not pop out with compressed air, lift the piston out with needle-nose pliers.

      Fig 86: Applying Compressed Air To No. 1 Brake Cylinder
      G05155132Courtesy of © TOYOTA, LICENSE AGREEMENT TMS1002
    2. Remove the 2 O-rings from the No. 1 brake piston.
      Fig 87: Removing O-Rings From No. 1 Brake Piston
      G05155133Courtesy of © TOYOTA, LICENSE AGREEMENT TMS1002
  78. REMOVE NO. 2 BRAKE DISC SET 
    1. Place SST on the No. 2 brake flange, and compress the return spring.

      SST 09380-60010 (09381-06010, 09381-06020, 09381-06050, 09381-06070, 09381-06090, 09381-06120) 

    2. Using a screwdriver, remove the snap ring from the transmission case.
      Fig 88: Removing Snap Ring From Transmission Case
      G05155134Courtesy of © TOYOTA, LICENSE AGREEMENT TMS1002
    3. Remove the 2 flanges, 4 discs, 3 plates and brake piston return spring from the transmission case.
  79. INSPECT NO. 2 BRAKE DISC  (See INSPECTION )
  80. INSPECT NO. 2 BRAKE PISTON RETURN SPRING SUB-ASSEMBLY  (See INSPECTION )
    Fig 89: Identifying Brake Piston Return Spring And Transmission Case
    G05155135Courtesy of © TOYOTA, LICENSE AGREEMENT TMS1002
  81. REMOVE CENTER PLANETARY GEAR ASSEMBLY 
    1. Remove the center planetary gear and planetary sun gear from the transmission case.
    2. Fig 90: Removing Center Planetary Gear And Planetary Sun Gear From Transmission Case
      G05155136Courtesy of © TOYOTA, LICENSE AGREEMENT TMS1002
  82. INSPECT CENTER PLANETARY GEAR ASSEMBLY  (See INSPECTION )
  83. REMOVE NO. 2 BRAKE CYLINDER WITH NO. 2 BRAKE PISTON 
    1. Remove the No. 2 brake cylinder with the No. 2 brake piston from the transmission case.
    Fig 91: Removing No. 2 Brake Cylinder With No. 2 Brake Piston From Transmission Case
    G05155137Courtesy of © TOYOTA, LICENSE AGREEMENT TMS1002
  84. REMOVE NO. 2 BRAKE PISTON 
    1. Hold the No. 2 brake piston and apply compressed air to the No. 2 brake cylinder to remove the No. 2 brake piston.

      HINT:

      If the piston does not pop out with compressed air, lift the piston out with needle-nose pliers.

      Fig 92: Applying Compressed Air To No. 2 Brake Cylinder
      G05155138Courtesy of © TOYOTA, LICENSE AGREEMENT TMS1002
    2. Remove the 2 O-rings from the No. 2 brake piston.
    Fig 93: Removing O-Rings From No. 2 Brake Piston
    G05155139Courtesy of © TOYOTA, LICENSE AGREEMENT TMS1002
  85. REMOVE INTERMEDIATE SHAFT WITH NO. 3 1-WAY CLUTCH ASSEMBLY, REAR PLANETARY RING GEAR FLANGE AND REAR PLANETARY RING GEAR 
    1. Using SST, remove the snap ring from the transmission case.

      SST 09350-30020 (09350-07060) 

      Fig 94: Removing Snap Ring From Transmission Case
      G05155140Courtesy of © TOYOTA, LICENSE AGREEMENT TMS1002
    2. Remove the intermediate shaft with No. 3 1-way clutch, rear planetary ring gear flange and rear planetary ring gear from the transmission case.
  86. INSPECT NO. 3 1-WAY CLUTCH ASSEMBLY  (See INSPECTION )
    Fig 95: Removing Intermediate Shaft With No. 3 1-Way Clutch, Rear Planetary Ring Gear Flange
    G05155141Courtesy of © TOYOTA, LICENSE AGREEMENT TMS1002
  87. REMOVE NO. 3 1-WAY CLUTCH ASSEMBLY 
    1. Remove the No. 3 1-way clutch and 1-way clutch inner race from the intermediate shaft.
    Fig 96: Removing No. 3 1-Way Clutch Assembly
    G05155142Courtesy of © TOYOTA, LICENSE AGREEMENT TMS1002
  88. REMOVE REAR PLANETARY RING GEAR 
    1. Remove the rear planetary ring gear with rear planetary ring gear flange, 3 thrust bearing races and thrust needle roller bearing from the intermediate shaft.
      Fig 97: Removing Rear Planetary Ring Gear With Rear Planetary Ring Gear Flange
      G05155143Courtesy of © TOYOTA, LICENSE AGREEMENT TMS1002
    2. Using a screwdriver, remove the snap ring.
    3. Remove the rear planetary ring gear flange from the rear planetary ring gear.
  89. INSPECT INTERMEDIATE SHAFT  (See INSPECTION )
    Fig 98: Removing Snap Ring
    G05155144Courtesy of © TOYOTA, LICENSE AGREEMENT TMS1002
  90. REMOVE NO. 4 BRAKE DISC SET 
    1. Remove the 2 flanges, 7 discs and 6 plates from the transmission case.
    Fig 99: Removing Flanges, Discs And Plates From Transmission Case
    G05155145Courtesy of © TOYOTA, LICENSE AGREEMENT TMS1002
  91. INSPECT NO. 4 BRAKE DISC  (See INSPECTION )
  92. REMOVE BRAKE PLATE STOPPER SPRING 
    NOTE: When removing the stopper spring, do not apply excessive force and do not deform it.
    Fig 100: Removing Brake Plate Stopper Spring
    G05155146Courtesy of © TOYOTA, LICENSE AGREEMENT TMS1002
  93. REMOVE REAR PLANETARY GEAR ASSEMBLY 
    1. Remove the rear planetary gear from the transmission case.
      Fig 101: Removing Rear Planetary Gear From Transmission Case
      G05155147Courtesy of © TOYOTA, LICENSE AGREEMENT TMS1002
    2. Remove the 2 thrust needle roller bearings from the rear planetary gear.
      Fig 102: Removing Thrust Needle Roller Bearings From Rear Planetary Gear
      G05155148Courtesy of © TOYOTA, LICENSE AGREEMENT TMS1002
    3. Remove the thrust bearing race from the transmission case.
    Fig 103: Removing Thrust Bearing Race From Transmission Case
    G05155149Courtesy of © TOYOTA, LICENSE AGREEMENT TMS1002
  94. INSPECT REAR PLANETARY GEAR ASSEMBLY  (See INSPECTION )
  95. REMOVE 1ST AND REVERSE BRAKE PISTON 
    1. Place SST on the spring retainer and compress the brake return spring.

      SST 09380-60010 (09381-06030, 09381-06040, 09381-06080, 09381-06120, 09381-06130, 09381-05040, 09381-05050) 

    2. Using SST, remove the snap ring and brake return spring.

      SST 09350-30020 (09350-07070) 

      Fig 104: Removing Snap Ring And Brake Return Spring
      G05155150Courtesy of © TOYOTA, LICENSE AGREEMENT TMS1002
    3. Hold the 1st and reverse brake piston and apply compressed air (392 kPa, 4.0 kgf/cm2 , 57 psi) to the transmission case to remove the 1st and reverse brake piston.

      HINT:

      If the piston does not pop out with compressed air, lift the piston out with needle-nose pliers.

      Fig 105: Applying Compressed Air To Transmission Case
      G05155151Courtesy of © TOYOTA, LICENSE AGREEMENT TMS1002
    4. Remove the 3 O-rings from the 1st and reverse brake piston.
    5. Fig 106: Removing O-Rings From 1St And Reverse Brake Piston
      G05155152Courtesy of © TOYOTA, LICENSE AGREEMENT TMS1002
  96. INSPECT 1ST AND REVERSE BRAKE RETURN SPRING SUB-ASSEMBLY  (See INSPECTION )