LEMON Manuals: Even more car manuals for everyone: 1960-2025
Home >> Lexus >> 2008 >> LX 570 >> Repair and Diagnosis >> Transmission >> Automatic Trans >> Automatic Transmission >> Automatic Transmission Unit >> Reassembly
April 5, 2026: LEMON Manuals is launched! Read the announcement.

Automatic Transmission Unit: Reassembly

  1. BEARING POSITION 
    Fig 1: Exploded View Of Bearing Components
    G05155183Courtesy of © TOYOTA, LICENSE AGREEMENT TMS1002

    Bearing and Race Diameter 

    BEARING AND RACE DIAMETER

    Mark Front Race Diameter Inside / Outside Thrust Bearing Diameter Inside / Outside Rear Race Diameter Inside / Outside
    A 74.26 to 74.56 mm (2.92 to 2.94 in.) / 87.39 to 87.74 mm (3.44 to 3.45 in.) 71.96 to 72.26 mm (2.83 to 2.84 in.) / 85.25 to 85.6 mm (3.36 to 3.37 in.) -
    B 38.0 to 38.3 mm (1.50 to 1.51 in.)/53.9 to 54.1 mm (2.12 to 2.13 in.) 36.45 to 36.7 mm (1.44 to 1.45 in.) / 52.96 to 53.26 mm (2.09 to 2.10 in.) -
    C - 21.05 to 21.3 mm (0.829 to 0.839 in.) / 39.63 to 39.88 mm (1.56 to 1.57 in.) 22.8 to 23.1 mm (0.898 to 0.909 in.) / 44.5 to 44.75 mm (1.75 to 1.76 in.)
    D - 39.45 to 39.7 mm (1.55 to 1.56 in.) / 60.5 to 60.75 mm (2.38 to 2.39 in.) -
    E - 46.45 to 46.7 mm (1.83 to 1.84 in.) / 64.3 to 64.55 mm (2.53 to 2.54 in.) -
    F 55.0 to 55.2 mm (2.165 to 2.173 in.) / 68.8 to 69.3 mm (2.71 to 2.73 in.) 54.55 to 54.8 mm (2.15 to 2.16 in.) / 70.0 to 70.5 mm (2.76 to 2.78 in.) -
    G - 65.35 to 65.6 mm (2.57 to 2.58 in.) / 85.6 to 85.95 mm (3.37 to 3.38 in.) 62.85 to 63.1 mm (2.47 to 2.48 in.) / 82.3 to 82.6 mm (3.24 to 3.25 in.)
    H 39.67 to 39.87 mm (1.56 to 1.57 in.) / 56.5 to 57.0 mm (2.22 to 2.24 in.) 36.5 to 36.6 mm (1.437 to 1.441 in.) / 56.62 to 56.92 mm (2.23 to 2.24 in.) 36.45 to 36.7 mm (1.435 to 1.445 in.) / 56.5 to 57.0 mm (2.22 to 2.24 in.)
    I 21.05 to 21.3 mm (0.829 to 0.839 in.) / 39.5 to 39.8 mm (1.56 to 1.57 in.) 23.2 to 23.4 mm (0.913 to 0.921 in.) / 43.9 to 44.15 mm (1.73 to 1.74 in.) -
    J - 43.6 to 43.9 mm (1.72 to 1.73 in.) / 62.3 to 62.8 mm (2.45 to 2.47 in.) 47.15 to 47.4 mm (1.86 to 1.87 in.) / 66.9 to 67.1 mm (2.63 to 2.64 in.)
  2. INSTALL 1ST AND REVERSE BRAKE PISTON 
    1. Coat 3 new O-rings with ATF, and install them to the 1st and reverse brake piston.
      Fig 2: Identifying O-Rings
      G05155184Courtesy of © TOYOTA, LICENSE AGREEMENT TMS1002
    2. Install the 1st and reverse brake piston to the transmission case.
      NOTE:
      • Be careful not to damage the O-ring.
      • Make sure that the parking hole of the brake piston is on the bottom side by engaging the brake piston protrusion to the transmission case spline grooves.
    Fig 3: Installing 1st And Reverse Brake Piston To Transmission Case
    G05155185Courtesy of © TOYOTA, LICENSE AGREEMENT TMS1002
  3. INSTALL 1ST AND REVERSE BRAKE RETURN SPRING SUB-ASSEMBLY 
    1. Place the brake return spring onto the 1st and reverse brake piston.

      SST 09380-60010 (09381-06030, 09381-06040, 09381-06080, 09381-06120, 09381-06130, 09381-05040, 09381-05050) 

    2. Place SST on the spring retainer, and compress the return spring.
    3. Using SST, install the snap ring.

      SST 09350-30020 (09350-07070) 

      Fig 4: Placing Brake Return Spring Onto 1st And Reverse Brake Piston
      G05155150Courtesy of © TOYOTA, LICENSE AGREEMENT TMS1002
  4. SELECT NO. 4 BRAKE FLANGE 
    1. Measure distance A (from the tip of the 1st and reverse brake piston to the step in the transmission case) in the illustration.*1

      HINT:

      Standard distance A: 27.82 to 28.42 mm (1.09 to 1.12 in.)

      Fig 5: Measuring Distance From Tip Of 1st And Reverse Brake Piston To Step In Transmission Case
      G05155187Courtesy of © TOYOTA, LICENSE AGREEMENT TMS1002
    2. Assemble the No. 4 brake flange, 7 No. 4 brake discs and 6 No. 4 brake plates, and measure distance B in the illustration.*2

      HINT:

      Standard distance B: 25.98 to 27.01 mm (1.02 to 1.06 in.)

      Fig 6: Measuring Distance B
      G05155188Courtesy of © TOYOTA, LICENSE AGREEMENT TMS1002
    3. Apply the A and B measurements taken in *1 and *2 to the graph below. Use A for the X axis and B for the Y axis, and then choose the No. 4 brake selective flange indicated by the graph point.
      Fig 7: A And B Measurements Reference Graph
      G05155189Courtesy of © TOYOTA, LICENSE AGREEMENT TMS1002
    4. Measure length H of the selected flange as shown in the illustration.

      HINT:

      Make sure that when the B measurement and H dimension of the selected flange are subtracted from the A measurement, the value is 0.961 to 1.261 mm (0.0378 to 0.0495 in.).

      No. 4 Brake Selected Flange Length H 

    BRAKE SELECTED FLANGE LENGTH

    Mark Length H
    0 0 mm (0 in.)
    2 0.15 to 0.25 mm (0.00590 to 0.00984 in.)
    4 0.35 to 0.45 mm (0.0138 to 0.0177 in.)
    6 0.55 to 0.65 mm (0.0217 to 0.0256 in.)
    8 0.75 to 0.85 mm (0.0295 to 0.0335 in.)
    10 0.95 to 1.05 mm (0.0374 to 0.0413 in.)
  5. INSTALL REAR PLANETARY GEAR ASSEMBLY 
    1. Install the thrust bearing race.

      HINT:

      Use a small amount of MP grease to make the thrust bearing race stay securely in place.

      Bearing Race Diameter 

      BEARING RACE DIAMETER

      Item Inside Outside
      Race J 47.15 to 47.4 mm (1.86 to 1.87 in.) 66.9 to 67.1 mm (2.63 to 2.64 in.)
      Fig 8: Identifying Thrust Bearing Race
      G05155190Courtesy of © TOYOTA, LICENSE AGREEMENT TMS1002
    2. Install the 2 thrust needle roller bearings to the rear planetary gear.

      Bearing Diameter 

      BEARING DIAMETER

      Item Inside Outside
      Bearing 23.2 to 23.4 mm (0.913 to 0.921 in.) 43.9 to 44.15 mm (1.73 to 1.74 in.)
      Bearing J 43.6 to 43.9 mm (1.72 to 1.73 in.) 62.3 to 62.8 mm (2.45 to 2.47 in.)
      Fig 9: Installing Thrust Needle Roller Bearings To Rear Planetary Gear
      G05155191Courtesy of © TOYOTA, LICENSE AGREEMENT TMS1002

      HINT:

      Use a small amount of MP grease to make the thrust needle roller bearings stay securely in place.

    3. Install the rear planetary gear assembly.
    Fig 10: Installing Rear Planetary Gear Assembly
    G05155147Courtesy of © TOYOTA, LICENSE AGREEMENT TMS1002
  6. INSTALL BRAKE PLATE STOPPER SPRING 
    Fig 11: Installing Brake Plate Stopper Spring
    G05155193Courtesy of © TOYOTA, LICENSE AGREEMENT TMS1002
  7. INSTALL REAR PLANETARY RING GEAR 
    1. Install the rear planetary ring gear flange to the rear planetary ring gear.
    2. Using a screwdriver, install the snap ring.
      Fig 12: Installing Snap Ring
      G05155144Courtesy of © TOYOTA, LICENSE AGREEMENT TMS1002
    3. Install the 3 thrust bearing races, thrust needle roller bearing and planetary ring gear with the rear planetary ring gear flange to the intermediate shaft.

      HINT:

      Use a small amount of MP grease to make the thrust needle roller bearing and races stay securely in place.

    Fig 13: Installing Thrust Bearing Races, Thrust Needle Roller Bearing And Planetary Ring Gear
    G05155195Courtesy of © TOYOTA, LICENSE AGREEMENT TMS1002

    Bearing and Race Diameter 

    BEARING AND RACE DIAMETER

    Item Inside Outside
    Front race H 39.67 to 39.87 mm (1.56 to 1.57 in.) 56.5 to 57.0 mm (2.22 to 2.24 in.)
    Bearing H 36.5 to 36.6 mm (1.437 to 1.441 in.) 56.62 to 56.92 mm (2.23 to 2.24 in.)
    Rear race H 36.45 to 36.7 mm (1.435 to 1.445 in.) 56.5 to 57.0 mm (2.22 to 2.24 in.)
    Race I 21.05 to 21.3 mm (0.829 to 0.839 in.) 39.5 to 39.8 mm (1.56 to 1.57 in.)
  8. INSTALL INTERMEDIATE SHAFT WITH REAR PLANETARY RING GEAR FLANGE AND REAR PLANETARY RING GEAR 
    1. Install the intermediate shaft with the rear planetary ring gear flange and rear planetary ring gear to the transmission case.
    Fig 14: Installing Intermediate Shaft With Rear Planetary Ring Gear Flange And Rear Planetary Ring Gear
    G05155196Courtesy of © TOYOTA, LICENSE AGREEMENT TMS1002
  9. INSTALL NO. 4 BRAKE DISC SET 
    1. Install the flange, 7 discs, 6 plates and selected flange.

      Install in order: 

      F - D - P - D - P - D - P - D - P - D - P - D - P - D - S/F 

      HINT:

      F = Flange

      D = Disc

      P = Plate

      S/F = Selected flange

      NOTE: Before assembling new discs, soak them in ATF for at least 2 hours.
    Fig 15: Installing No. 4 Brake Disc Set
    G05155197Courtesy of © TOYOTA, LICENSE AGREEMENT TMS1002
  10. INSTALL NO. 3 1-WAY CLUTCH INNER RACE 
    1. Install the 1 -way clutch inner race to the No. 3 1-way clutch assembly.
      NOTE: Do not mistake the direction of the 1-way clutch inner race.
  11. INSPECT NO. 3 1-WAY CLUTCH ASSEMBLY  (See INSPECTION )
    Fig 16: Installing No. 3 1-Way Clutch Inner Race
    G05155198Courtesy of © TOYOTA, LICENSE AGREEMENT TMS1002
  12. INSTALL NO. 3 1-WAY CLUTCH ASSEMBLY 
    1. Install the 1-way clutch assembly to the transmission case.
      Fig 17: Installing No. 3 1-Way Clutch Assembly
      G05155199Courtesy of © TOYOTA, LICENSE AGREEMENT TMS1002
    2. Using SST, install the snap ring.

      SST 09350-30020 (09350-07060) 

      Fig 18: Installing Snap Ring
      G05155140Courtesy of © TOYOTA, LICENSE AGREEMENT TMS1002
  13. INSTALL NO. 2 BRAKE PISTON 
    1. Coat 2 new O-rings with ATF, and install them to the brake piston.
    2. Press the brake piston into the brake cylinder with both hands.
      NOTE: Be careful not to damage the O-rings.
      Fig 19: Installing No. 2 Brake Piston
      G05155201Courtesy of © TOYOTA, LICENSE AGREEMENT TMS1002
  14. INSTALL NO. 2 BRAKE CYLINDER WITH NO. 2 BRAKE PISTON 
    1. Install the No. 2 brake cylinder with piston to the transmission case.
    Fig 20: Installing No. 2 Brake Cylinder With Piston To Transmission Case
    G05155137Courtesy of © TOYOTA, LICENSE AGREEMENT TMS1002
    NOTE:
    • When installing the No. 2 brake cylinder with piston to the transmission case, align and install the cylinder claw to the case top groove.
    • Make sure the No. 2 brake cylinder with piston is securely inserted into the transmission case.
    Fig 21: Installing Cylinder Claw To Case Top Groove
    G05155203Courtesy of © TOYOTA, LICENSE AGREEMENT TMS1002
  15. SELECT NO. 2 BRAKE FLANGE 
    1. Install the No. 2 brake piston return spring and flange to the No. 2 brake piston.
    2. Place SST on the brake flange and compress the brake return spring.

      SST 09380-60010 (09381-06010, 09381-06020, 09381-06050, 09381-06070, 09381-06090, 09381-06120) 

    3. Using a screwdriver, install the snap ring to the transmission case.
      Fig 22: Installing Snap Ring To Transmission Case
      G05155134Courtesy of © TOYOTA, LICENSE AGREEMENT TMS1002
    4. Measure distance A (from the top surface of the snap ring to the top surface of the brake piston return spring retainer) in the illustration.*1

      HINT:

      Standard distance A: 21.00 to 21.76 mm (0.834 to 0.857 in.)

      Fig 23: Measuring Distance From Top Surface Of Snap Ring To Top Surface Of Brake Piston Return Spring Retainer
      G05155205Courtesy of © TOYOTA, LICENSE AGREEMENT TMS1002
    5. Assemble the 4 discs, 3 plates and flange as shown in the illustration. Then with a fixture of 165.2 mm (6.50 in.) or less placed on the flange, measure distance B.*2

      HINT:

      Standard distance B: 16.54 to 17.15 mm (0.651 to 0.675 in.)

      Fig 24: Installing Discs, Plates And Flange
      G05155206Courtesy of © TOYOTA, LICENSE AGREEMENT TMS1002
    6. Apply the A and B measurements taken in *1 and *2 to the graph below. Use A for the X axis and B for the Y axis, and then choose the flange indicated by the graph point.
      Fig 25: A And B Measurements Reference Graph
      G05155207Courtesy of © TOYOTA, LICENSE AGREEMENT TMS1002

      HINT:

      Make sure that when the B measurement and selected flange thickness are subtracted from the A measurement, the value is 2.20 to 2.50 mm (0.0866 to 0.0984 in.).

      Flange Thickness 

      FLANGE THICKNESS

      Mark Thickness
      0 1.95 to 2.05 mm (0.0768 to 0.0807 in.)
      1 2.05 to 2.15 mm (0.0807 to 0.0846 in.)
      2 2.15 to 2.25 mm (0.0846 to 0.0886 in.)
      3 2.25 to 2.35 mm (0.0886 to 0.0925 in.)
      4 2.35 to 2.45 mm (0.0925 to 0.0965 in.)
      5 2.45 to 2.55 mm (0.0965 to 0.100 in.)
      6 2.55 to 2.65 mm (0.100 to 0.104 in.)
      7 2.65 to 2.75 mm (0.104 to 0.108 in.)
    7. Remove the snap ring, flange and No. 2 brake piston return spring from the transmission case.
  16. INSTALL NO. 2 BRAKE DISC SET 
    1. Install the brake piston return spring, selected flange, 4 discs, 3 plates and flange.

      Install in order: 

      S/F - D - P - D - P - D - P - D - F 

      HINT:

      S/F = Selected flange

      D = Disc

      P = Plate

      F = Flange

      Fig 26: Installing Brake Piston Return Spring, Selected Flange, Discs, Plates And Flange
      G05155208Courtesy of © TOYOTA, LICENSE AGREEMENT TMS1002
      NOTE: Before assembling new discs, soak them in ATF for at least 2 hours.
    2. Place SST on the brake flange and compress the brake return spring.

      SST 09380-60010 (09381-06010, 09381-06020, 09381-06050, 09381-06070, 09381-06090, 09381-06120) 

    3. Using a screwdriver, install the snap ring to the transmission case.
    Fig 27: Installing Snap Ring To Transmission Case
    G05155134Courtesy of © TOYOTA, LICENSE AGREEMENT TMS1002
  17. INSTALL CENTER PLANETARY GEAR ASSEMBLY 
    1. Install the center planetary sun gear and center planetary gear to the transmission case.
      NOTE: Make sure to install the center planetary sun gear with the groove facing the transmission case.
      Fig 28: Installing Center Planetary Gear Assembly
      G05760946Courtesy of © TOYOTA, LICENSE AGREEMENT TMS1002
  18. INSTALL NO. 1 BRAKE PISTON 
    1. Coat 2 new O-rings with ATF, and install them to the brake piston.
    2. Press the brake piston into the brake cylinder with both hands.
      NOTE: Be careful not to damage the O-rings.
      Fig 29: Installing No. 1 Brake Piston
      G05155211Courtesy of © TOYOTA, LICENSE AGREEMENT TMS1002
  19. INSTALL NO. 1 BRAKE CYLINDER WITH NO. 1 BRAKE PISTON 
    1. Install the No. 1 brake cylinder with piston and brake piston return spring to the transmission case.
      Fig 30: Installing No. 1 Brake Cylinder With Piston And Brake Piston Return Spring To Transmission Case
      G05155131Courtesy of © TOYOTA, LICENSE AGREEMENT TMS1002
      NOTE:
      • When installing the No. 1 brake cylinder with piston to the transmission case, align and install the cylinder claw to the case top groove.
      • Make sure the No. 1 brake cylinder with piston is securely inserted into the transmission case.
      Fig 31: Installing Cylinder Claw To Case Top Groove
      G05155213Courtesy of © TOYOTA, LICENSE AGREEMENT TMS1002
    2. Place SST on the brake return spring and compress the brake return spring.

      SST 09380-60010 (09381-06010, 09381-06020, 09381-06050, 09381-06060, 09381-06090, 09381-06100, 09381-06110, 09381-06120) 

    3. Using a screwdriver, install the snap ring to the transmission case.
    Fig 32: Installing Snap Ring To Transmission Case
    G05155130Courtesy of © TOYOTA, LICENSE AGREEMENT TMS1002
  20. SELECT NO. 1 BRAKE FLANGE 
    1. Measure distance A (from the step in the transmission case to the tip of the No. 1 brake piston) in the illustration.*1

      HINT:

      Standard distance A: 19.74 to 20.22 mm (0.777 to 0.796 in.)

      Fig 33: Measuring Distance From Step In Transmission Case To Tip Of No. 1 Brake Piston
      G05155215Courtesy of © TOYOTA, LICENSE AGREEMENT TMS1002
    2. Assemble the 4 plates and 4 discs and measure distance B in the illustration.*2

      HINT:

      Standard distance B: 16.72 to 17.19 mm (0.658 to 0.677 in.)

      Fig 34: Identifying Plates And Discs
      G05155216Courtesy of © TOYOTA, LICENSE AGREEMENT TMS1002
    3. Apply the A and B measurements taken in *1 and *2 to the graph below. Use A for the X axis and B for the Y axis, and then choose the flange indicated by the graph point.
    Fig 35: A And B Measurements Reference Graph
    G05155217Courtesy of © TOYOTA, LICENSE AGREEMENT TMS1002

    HINT:

    Make sure that when the B measurement and selected flange thickness are subtracted from the A measurement, the value is 0.56 to 0.86 mm (0.0220 to 0.0339 in.).

    Flange Thickness 

    FLANGE THICKNESS

    Mark Thickness
    0 1.95 to 2.05 mm (0.0768 to 0.0807 in.)
    1 2.15 to 2.25 mm (0.0846 to 0.0886 in.)
    2 2.35 to 2.45 mm (0.0925 to 0.0965 in.)
    3 2.55 to 2.65 mm (0.100 to 0.104 in.)
  21. INSTALL CENTER PLANETARY RING GEAR 
    1. Install the front planetary ring gear flange to the center planetary ring gear.
      Fig 36: Installing Front Planetary Ring Gear Flange To Center Planetary Ring Gear
      G05155128Courtesy of © TOYOTA, LICENSE AGREEMENT TMS1002
    2. Using a screwdriver, install the snap ring.
    Fig 37: Installing Snap Ring
    G05155127Courtesy of © TOYOTA, LICENSE AGREEMENT TMS1002
  22. INSTALL FRONT PLANETARY RING GEAR 
    1. Install the front planetary ring gear to the center planetary ring gear.
    Fig 38: Installing Front Planetary Ring Gear To Center Planetary Ring Gear
    G05155126Courtesy of © TOYOTA, LICENSE AGREEMENT TMS1002
  23. INSTALL FRONT PLANETARY RING GEAR WITH FRONT PLANETARY RING GEAR FLANGE SUB-ASSEMBLY AND CENTER PLANETARY RING GEAR 
    1. Install the thrust bearing race and thrust needle roller bearing.

      HINT:

      Use a small amount of MP grease to make the thrust needle roller bearing and race stay securely in place.

      Fig 39: Installing Thrust Bearing Race And Thrust Needle Roller Bearing
      G05155221Courtesy of © TOYOTA, LICENSE AGREEMENT TMS1002

      Bearing and Race Diameter 

      BEARING AND RACE DIAMETER

      Item Inside Outside
      Race 62.85 to 63.1 mm (2.47 to 2.48 in.) 82.3 to 82.6 mm (3.24 to 3.25 in.)
      Bearing 65.35 to 65.6 mm (2.57 to 2.58 in.) 85.6 to 85.95 mm (3.37 to 3.38 in.)
    2. Install the front planetary ring gear with the front planetary ring gear flange and center planetary ring gear to the transmission case.
  24. INSTALL FRONT PLANETARY GEAR ASSEMBLY 
    1. Install the No. 2 planetary carrier thrust washer to the front planetary gear.

      HINT:

      Use a small amount of MP grease to make the thrust washer stay securely in place.

      Fig 40: Installing No. 2 Planetary Carrier Thrust Washer To Front Planetary Gear
      G05155222Courtesy of © TOYOTA, LICENSE AGREEMENT TMS1002
    2. Install the thrust needle roller bearing, thrust bearing race, front planetary sun gear and front planetary gear.

      HINT:

      Use a small amount of MP grease to make the thrust needle roller bearing and race stay securely in place.

      Bearing Diameter 

    BEARING DIAMETER

    Item Inside Outside
    Bearing 54.55 to 54.8 mm (2.15 to 2.16 in.) 70.0 to 70.5 mm (2.76 to 2.78 in.)
    Race 55.0 to 55.2 mm (2.165 to 2.173 in.) 68.8 to 69.3 mm (2.71 to 2.73 in.)
    Fig 41: Installing Thrust Needle Roller Bearing, Thrust Bearing Race, Front Planetary Sun Gear And Front Planetary Gear
    G05155223Courtesy of © TOYOTA, LICENSE AGREEMENT TMS1002
  25. INSTALL 1-WAY CLUTCH INNER RACE SUB-ASSEMBLY 
    1. Apply the No. 1 planetary carrier thrust washer to the 1-way clutch inner race, and then install them to the 1-way clutch.

    HINT:

    Use a small amount of MP grease to make the thrust washer stay securely in place.

    Fig 42: Installing 1-Way Clutch Inner Race Sub-Assembly
    G05155121Courtesy of © TOYOTA, LICENSE AGREEMENT TMS1002
  26. INSPECT 1-WAY CLUTCH ASSEMBLY  (See INSPECTION )
  27. INSTALL 1-WAY CLUTCH ASSEMBLY WITH 1-WAY CLUTCH INNER RACE SUB-ASSEMBLY 
    1. Install the 1-way clutch with the 1-way clutch inner race to the transmission case.
    Fig 43: Installing 1-Way Clutch With 1-Way Clutch Inner Race To Transmission Case
    G05155120Courtesy of © TOYOTA, LICENSE AGREEMENT TMS1002
  28. INSTALL NO. 1 BRAKE DISC SET 
    1. Install the 4 plates, 4 discs and flange.

    Install in order: 

    P - D - P - D - P - D - P - D - F 

    HINT:

    P = Plate

    D = Disc

    F = Flange

    NOTE: Before assembling new discs, soak them in ATF for at least 2 hours.
    Fig 44: Installing Plates, Discs And Flange
    G05155226Courtesy of © TOYOTA, LICENSE AGREEMENT TMS1002
  29. INSTALL NO. 3 BRAKE PISTON 
    1. Coat 2 new O-rings with ATF, and install them to the brake piston.
    2. Press the brake piston into the brake cylinder with both hands.
      NOTE: Be careful not to damage the O-rings.
      Fig 45: Installing No. 3 Brake Piston
      G05155227Courtesy of © TOYOTA, LICENSE AGREEMENT TMS1002
    3. Using SST and a press, compress the return spring and install the snap ring with a screwdriver.
    4. Fig 46: Installing Snap Ring With Screwdriver
      G05155117Courtesy of © TOYOTA, LICENSE AGREEMENT TMS1002

    SST 09380-60010 (09381-06020, 09381-06040, 09381-06060, 09381-06100, 09381-06110) 

    NOTE: Be sure the end gap of the snap ring is not aligned with the spring retainer claw.
  30. INSTALL NO. 3 BRAKE CYLINDER WITH NO. 3 BRAKE PISTON AND NO. 3 BRAKE PISTON RETURN SPRING SUB-ASSEMBLY 
    Fig 47: Installing No. 3 Brake Cylinder With No. 3 Brake Piston And No. 3 Brake Piston Return Spring Sub-Assembly
    G05155116Courtesy of © TOYOTA, LICENSE AGREEMENT TMS1002
    1. Install the No. 3 brake cylinder with the No. 3 brake piston and No. 3 brake piston return spring to the transmission case.
      NOTE:
      • Align the oil holes of the No. 3 brake cylinder and transmission case as shown in the illustration.
      • Make sure the No. 3 brake piston and cylinder are securely inserted into the transmission case.
    Fig 48: Identifying Oil Holes
    G05155230Courtesy of © TOYOTA, LICENSE AGREEMENT TMS1002
  31. INSTALL NO. 3 BRAKE PISTON HOLE SNAP RING 
    1. Using SST, install the snap ring.

      SST 09350-30020 (09350-07060) 

    Fig 49: Installing No. 3 Brake Piston Hole Snap Ring
    G05155115Courtesy of © TOYOTA, LICENSE AGREEMENT TMS1002
  32. INSTALL NO. 3 BRAKE DISC SET 
    1. Install the "O" mark flange, 4 discs, 3 plates and "A" mark flange to the transmission case.

      Install in order: 

      OF - D - P - D - P - D - P - D - AF 

      HINT:

      OF = "O" mark flange

      P = Plate D = Disc

      AF = "A" mark flange

    Fig 50: Installing No. 3 Brake Disc Set
    G05155232Courtesy of © TOYOTA, LICENSE AGREEMENT TMS1002
    NOTE: Before assembling new discs, soak them in ATF for at least 2 hours.
  33. INSTALL NO. 3 BRAKE SNAP RING 
    1. Using a screwdriver, install the snap ring.
    Fig 51: Installing No. 3 Brake Snap Ring
    G05155113Courtesy of © TOYOTA, LICENSE AGREEMENT TMS1002
  34. INSTALL DIRECT CLUTCH PISTON SUB-ASSEMBLY 
    1. Coat 2 new O-rings with ATF, and install them to the direct clutch piston.
      Fig 52: Installing O-Rings To Direct Clutch Piston
      G05155234Courtesy of © TOYOTA, LICENSE AGREEMENT TMS1002
    2. Install the direct clutch return spring and No. 2 clutch balancer to the direct clutch piston.
      Fig 53: Identifying No. 2 Clutch Balancer And Direct Clutch Return Spring Sub-Assembly
      G05155111Courtesy of © TOYOTA, LICENSE AGREEMENT TMS1002
    3. Press the direct clutch piston with the clutch return spring and clutch balancer into the reverse clutch piston with both hands.
      NOTE: Be careful not to damage the O-ring.
      Fig 54: Identifying Direct Clutch Piston
      G05155236Courtesy of © TOYOTA, LICENSE AGREEMENT TMS1002
    4. Place SST on the direct clutch balancer, and compress the return spring with a press.

      SST 09380-60010 (09381-06030, 09381-06040, 09381-06080) 

      NOTE: Stop pressing when the spring sheet is lowered to a position 1 to 2 mm (0.0394 to 0.0787 in.) from the snap ring groove to prevent the spring sheet from being deformed.
      Fig 55: Placing SST On Direct Clutch Balancer
      G05155109Courtesy of © TOYOTA, LICENSE AGREEMENT TMS1002
    5. Using SST, install the snap ring.

      SST 09350-30020 (09350-07070) 

      NOTE: Do not expand the snap ring excessively.
    6. Set the end gap of the snap ring in the balancer as shown in the illustration.
      NOTE: Be sure the end gap of the snap ring is not aligned with the spring retainer claw.
      Fig 56: Identifying Stopper
      G05290110Courtesy of © TOYOTA, LICENSE AGREEMENT TMS1002
  35. INSTALL REVERSE CLUTCH PISTON SUB-ASSEMBLY 
    1. Coat a new O-ring with ATF, and install it to the clutch drum.
      Fig 57: Identifying O-Ring
      G05155239Courtesy of © TOYOTA, LICENSE AGREEMENT TMS1002
    2. Coat a new O-ring with ATF, and install it to the reverse clutch piston.
      Fig 58: Identifying O-Ring For Reverse Clutch Piston
      G05155240Courtesy of © TOYOTA, LICENSE AGREEMENT TMS1002
    3. Pass the clutch drum into the reverse clutch piston with both hands.
      NOTE:
      • Be careful not to damage the O-ring.
      • Make sure to align the holes of the reverse clutch piston and clutch drum as shown in the illustration.
      • Make sure to align the protrusions of the reverse clutch piston and the cutout of the clutch drum.
      Fig 59: Identifying Holes Of Reverse Clutch Piston And Clutch Drum
      G05155241Courtesy of © TOYOTA, LICENSE AGREEMENT TMS1002
  36. INSTALL NO. 3 CLUTCH BALANCER 
    1. Coat a new O-ring with ATF, and install it to the reverse clutch piston.
    2. Install the reverse clutch return spring and balancer onto the reverse clutch piston.
      Fig 60: Identifying O-Ring
      G05155242Courtesy of © TOYOTA, LICENSE AGREEMENT TMS1002
    3. Place SST on the clutch balancer, and compress the clutch balancer with a press.

      SST 09380-60010 (09381-06020, 09381-06030, 09381-06040, 09381-06050, 09381-06070, 09381-06080) 

      Fig 61: Placing SST On Clutch Balancer
      G05155104Courtesy of © TOYOTA, LICENSE AGREEMENT TMS1002
      NOTE: Stop pressing when the spring sheet is lowered to a position 1 to 2 mm (0.0394 to 0.0787 in.) from the snap ring groove to prevent the spring sheet from being deformed.
    4. Using SST, install the snap ring.

      SST 09350-30020 (09350-07070) 

      NOTE: Do not expand the snap ring excessively.
    5. Set the end gap of the snap ring in the piston as shown in the illustration.
      NOTE: Be sure the end gap of the snap ring is not aligned with the spring retainer claw.
      Fig 62: Installing Snap Ring
      G05155244Courtesy of © TOYOTA, LICENSE AGREEMENT TMS1002
  37. INSTALL DIRECT CLUTCH DISC 
    1. Place the oil pump onto the torque converter clutch, and then place the clutch drum onto the oil pump.
    2. Install the 5 plates, 5 discs and reverse clutch flange to the clutch drum.

      Install in order: 

      P - D - P - D - P - D - P - D - P - D - F 

      HINT:

      P = Plate

      D = Disc

      F = Flange

      NOTE: Before assembling new discs, soak them in ATF for at least 2 hours.
      Fig 63: Installing Direct Clutch Disc
      G05155245Courtesy of © TOYOTA, LICENSE AGREEMENT TMS1002
    3. Using a screwdriver, install the snap ring to the clutch drum.
    4. Using a dial indicator, measure the moving distance (A) of the clutch flange at both ends across the diameter while blowing compressed air (392 kPa, 2.0 kgf/cm2 , 57 psi) into the oil hole as shown in the illustration. Then choose from the 9 flange thicknesses in the table so that the measured value is within the standard value.

      Standard moving distance (A): 

      0.58 to 0.88 mm (0.0228 to 0.0346 in.) 

      Fig 64: Installing Snap Ring To Clutch Drum
      G05155246Courtesy of © TOYOTA, LICENSE AGREEMENT TMS1002
      Fig 65: Measuring Moving Distance Of Clutch Flange
      G05155247Courtesy of © TOYOTA, LICENSE AGREEMENT TMS1002

      Flange Thickness 

      FLANGE THICKNESS

      Mark Thickness
      0 3.45 to 3.55 mm (0.136 to 0.140 in.)
      1 3.55 to 3.65 mm (0.140 to 0.144 in.)
      2 3.65 to 3.75 mm (0.144 to 0.148 in.)
      3 3.75 to 3.85 mm (0.148 to 0.152 in.)
      4 3.85 to 3.95 mm (0.152 to 0.156 in.)
      5 3.95 to 4.05 mm (0.156 to 0.159 in.)
      6 4.05 to 4.15 mm (0.159 to 0.163 in.)
      7 4.15 to 4.25 mm (0.163 to 0.167 in.)
      8 4.25 to 4.35 mm (0.167 to 0.171 in.)
    5. Temporarily remove the snap ring, install the selected flange and reinstall the snap ring.
  38. SELECT REVERSE CLUTCH FLANGE 
    1. Using a screwdriver, install the snap ring to the clutch drum.
      NOTE: Make sure to install the direct clutch and reverse clutch snap rings so that their openings face opposite directions.
      Fig 66: Installing Snap Ring To Clutch Drum
      G05155248Courtesy of © TOYOTA, LICENSE AGREEMENT TMS1002
    2. Install the flange, 5 discs, 4 plates, selected flange, cushion plate and reverse clutch reaction sleeve to the clutch drum.

      Install in order: 

      F - D - P - D - P - D - P - D - P - D - S/F - C 

      HINT:

      F = Flange

      D = Disc

      P = Plate

      S/F = Selected flange

      C = Cushion plate

      Fig 67: Installing Flange, Discs, Plates, Selected Flange, Cushion Plate And Reverse Clutch Reaction Sleeve To Clutch Drum
      G05760985Courtesy of © TOYOTA, LICENSE AGREEMENT TMS1002
    3. Using a screwdriver, install the hole snap ring.
    4. Using a dial indicator, measure the moving distance (A minus B) of the tip of the reverse clutch piston (A) and cushion plate at both ends across the diameter (B) while blowing compressed air (392 kPa, 2.0 kgf/cm2 , 57 psi) into the oil hole as shown in the illustration. Then choose from the 12 flange thicknesses in the table so that the measured value is within the standard value.
      Fig 68: Identifying Snap Ring
      G05155250Courtesy of © TOYOTA, LICENSE AGREEMENT TMS1002
      Fig 69: Measuring Moving Distance Of Tip Of Reverse Clutch Piston
      G05760987Courtesy of © TOYOTA, LICENSE AGREEMENT TMS1002

      Standard moving distance (A minus B): 

      0.59 to 0.89 mm (0.0232 to 0.0350 in.) 

      Flange Thickness 

      FLANGE THICKNESS

      Mark Thickness
      0 2.35 to 2.45 mm (0.0925 to 0.0965 in.)
      1 2.45 to 2.55 mm (0.0965 to 0.100 in.)
      2 2.55 to 2.65 mm (0.100 to 0.104 in.)
      3 2.65 to 2.75 mm (0.104 to 0.108 in.)
      4 2.75 to 2.85 mm (0.108 to 0.112 in.)
      5 2.85 to 2.95 mm (0.112 to 0.116 in.)
      6 2.95 to 3.05 mm (0.116 to 0.120 in.)
      7 3.05 to 3.15 mm (0.120 to 0.124 in.)
      8 3.15 to 3.25 mm (0.124 to 0.128 in.)
      A 3.25 to 3.35 mm (0.128 to 0.132 in.)
      B 3.35 to 3.45 mm (0.132 to 0.136 in.)
      C 3.45 to 3.55 mm (0.136 to 0.140 in.)
    5. Remove the snap ring, reverse clutch reaction sleeve and rear clutch disc set from the clutch drum.
    Fig 70: Removing Snap Ring, Reverse Clutch Reaction Sleeve And Rear Clutch Disc Set From Clutch Drum
    G04963752Courtesy of © TOYOTA, LICENSE AGREEMENT TMS1002
  39. INSTALL FORWARD CLUTCH PISTON SUB-ASSEMBLY AND COAST CLUTCH PISTON 
    1. Coat a new O-ring with ATF, and install it to the input shaft.
      Fig 71: Identifying O-Ring For Input Shaft
      G05155253Courtesy of © TOYOTA, LICENSE AGREEMENT TMS1002
    2. Install the forward clutch piston and coast clutch piston to the input shaft.
      Fig 72: Installing Forward Clutch Piston And Coast Clutch Piston To Input Shaft
      G05155254Courtesy of © TOYOTA, LICENSE AGREEMENT TMS1002
    3. Coat a new O-ring with ATF, and install it to the No. 1 clutch balancer.
      Fig 73: Identifying O-Ring For No. 1 Clutch Balancer
      G05155255Courtesy of © TOYOTA, LICENSE AGREEMENT TMS1002
    4. Install the forward clutch return spring and No. 1 clutch balancer to the input shaft.
      NOTE: Be careful not to damage the O-rings.
      Fig 74: Installing Forward Clutch Return Spring And No. 1 Clutch Balancer To Input Shaft
      G05155097Courtesy of © TOYOTA, LICENSE AGREEMENT TMS1002
    5. Place SST on the No. 1 clutch balancer, and compress the return spring with a press.

      SST 09350-30020 (09350-07040) 

      NOTE: Stop pressing when the spring sheet is lowered to a position 1 to 2 mm (0.0394 to 0.0787 in.) from the snap ring groove to prevent the spring sheet from being deformed.
      Fig 75: Placing SST On No. 1 Clutch Balancer
      G05155096Courtesy of © TOYOTA, LICENSE AGREEMENT TMS1002
    6. Using SST, install the snap ring.

      SST 09350-30020 (09350-07070) 

      NOTE: Do not expand the snap ring excessively.
    7. Set the end gap of the snap ring in the balancer as shown in the illustration.
      NOTE: Be sure the end gap of the snap ring is not aligned with the spring retainer claw.
      Fig 76: Setting End Gap Of Snap Ring In Balancer
      G05155258Courtesy of © TOYOTA, LICENSE AGREEMENT TMS1002
  40. INSTALL COAST CLUTCH DISC SET 
    1. Install the 4 plates, 4 discs and flange.

      Install in order: 

      P - D - P - D - P - D - P - D - F 

      HINT:

      P = Plate

      D = Disc

      F = Flange

      Fig 77: Installing Plates, Discs And Flange
      G05155259Courtesy of © TOYOTA, LICENSE AGREEMENT TMS1002
      NOTE: Before assembling new discs, soak them in ATF for at least 2 hours.
    2. Temporarily install the snap ring.
      Fig 78: Installing Snap Ring
      G05155260Courtesy of © TOYOTA, LICENSE AGREEMENT TMS1002
    3. Using a dial indicator, measure the moving distance (A) of the clutch flange at both ends across the diameter while blowing compressed air (196 kPa, 2.0 kgf/cm2 , 28 psi) into the oil hole as shown in the illustration. Then choose from the 11 flange thicknesses in the table so that the measured value is within the standard value.
      Fig 79: Identifying Compressed Air From Oil Hole
      G05155261Courtesy of © TOYOTA, LICENSE AGREEMENT TMS1002

      Standard moving distance (A): 

      0.41 to 0.71 mm (0.0161 to 0.0280 in.) 

      Flange Thickness 

      FLANGE THICKNESS

      Mark Thickness
      0 2.95 to 3.05 mm (0.116 to 0.120 in.)
      1 3.05 to 3.15 mm (0.120 to 0.124 in.)
      2 3.15 to 3.25 mm (0.124 to 0.128 in.)
      3 3.25 to 3.35 mm (0.128 to 0.132 in.)
      4 3.35 to 3.45 mm (0.132 to 0.136 in.)
      5 3.45 to 3.55 mm (0.136 to 0.140 in.)
      6 3.55 to 3.65 mm (0.140 to 0.144 in.)
      7 3.65 to 3.75 mm (0.144 to 0.148 in.)
      8 3.75 to 3.85 mm (0.148 to 0.152 in.)
      A 3.85 to 3.95 mm (0.152 to 0.156 in.)
      B 3.95 to 4.05 mm (0.156 to 0.159 in.)
    4. Temporarily remove the snap ring, install the selected flange and reinstall the snap ring.
  41. INSTALL NO. 4 1-WAY CLUTCH ASSEMBLY 
    1. Install the No. 2 clutch hub thrust washer to the coast clutch hub.

      HINT:

      Use a small amount of MP grease to make the thrust washer stay securely in place.

    2. Install the 1-way clutch to the coast clutch hub.
    Fig 80: Installing No. 4 1-Way Clutch Assembly
    G05155089Courtesy of © TOYOTA, LICENSE AGREEMENT TMS1002
  42. INSPECT NO. 4 1-WAY CLUTCH ASSEMBLY  (See INSPECTION )
  43. INSTALL COAST CLUTCH HUB SUB-ASSEMBLY WITH NO. 4 1-WAY CLUTCH ASSEMBLY 
    1. Install the 2 thrust needle roller bearings, thrust bearing race and coast clutch hub with the No. 4 1-way clutch to the input shaft.
    Fig 81: Installing Coast Clutch Hub Sub-Assembly With No. 4 1-Way Clutch Assembly
    G05155263Courtesy of © TOYOTA, LICENSE AGREEMENT TMS1002

    HINT:

    Use a small amount of MP grease to make the thrust needle roller bearings and race stay securely in place.

    Bearing and Race Diameter 

    BEARING AND RACE DIAMETER

    Item Inside Outside
    Bearing C 21.05 to 21.3 mm (0.829 to 0.839 in.) 39.63 to 39.88 mm (1.56 to 1.57 in.)
    Race 22.8 to 23.1 mm (0.898 to 0.909 in.) 44.5 to 44.75 mm (1.75 to 1.76 in.)
    Bearing D 39.45 to 39.7 mm (1.55 to 1.56 in.) 60.5 to 60.75 mm (2.38 to 2.39 in.)
  44. INSTALL FORWARD MULTIPLE DISC CLUTCH DISC SET 
    1. Install the cushion plate, 6 plates, 6 discs and flange to the input shaft.

      Install in order: 

      C - P - D - P - D - P - D - P - D - P - D - P - D - F 

      HINT:

      C = Cushion plate

      P = Plate

      D = Disc

      F = Flange

      NOTE: Before assembling new discs, soak them in ATF for at least 2 hours.
      Fig 82: Installing Cushion Plate, Plates, Discs And Flange To Input Shaft
      G05155264Courtesy of © TOYOTA, LICENSE AGREEMENT TMS1002
    2. Temporarily install the snap ring.
      Fig 83: Installing Snap Ring
      G04963707Courtesy of © TOYOTA, LICENSE AGREEMENT TMS1002
    3. Using a dial indicator, measure the moving distance (A) of the clutch flange at both ends across the diameter while blowing compressed air (196 kPa, 2.0 kgf/cm2 , 28 psi) into the oil hole as shown in the illustration. Then choose from the 12 flange thicknesses in the table so that the measured value is within the standard value.
      Fig 84: Measuring Moving Distance Using Dial Indicator
      G05155266Courtesy of © TOYOTA, LICENSE AGREEMENT TMS1002

      Standard moving distance (A): 

      0.85 to 1.15 mm (0.0335 to 0.0453 in.) 

      Flange Thickness 

      FLANGE THICKNESS

      Mark Thickness
      0 2.95 to 3.05 mm (0.116 to 0.120 in.)
      1 3.05 to 3.15 mm (0.120 to 0.124 in.)
      2 3.15 to 3.25 mm (0.124 to 0.128 in.)
      3 3.25 to 3.35 mm (0.128 to 0.132 in.)
      4 3.35 to 3.45 mm (0.132 to 0.136 in.)
      5 3.45 to 3.55 mm (0.136 to 0.140 in.)
      6 3.55 to 3.65 mm (0.140 to 0.144 in.)
      7 3.65 to 3.75 mm (0.144 to 0.148 in.)
      8 3.75 to 3.85 mm (0.148 to 0.152 in.)
      A 3.85 to 3.95 mm (0.152 to 0.156 in.)
      B 3.95 to 4.05 mm (0.156 to 0.159 in.)
      C 4.05 to 4.15 mm (0.159 to 0.163 in.)
    4. Temporarily remove the snap ring, install the selected flange and reinstall the snap ring.
  45. INSTALL INPUT SHAFT OIL SEAL RING 
    1. Overlap the seal ring edges in the axial direction.
      NOTE:
      • Overlapping the seal ring edges in the axial direction prevents damage to the seal ring.
      • Do not overlap the seal ring edges in the radial direction, as this may damage the seal ring.
      Fig 85: Identifying Seal Ring Edges Positions
      G05155267Courtesy of © TOYOTA, LICENSE AGREEMENT TMS1002
    2. Coat 4 new oil seal rings with ATF.
    3. Squeeze the ends of the 4 oil seal rings together, and then install them to the input shaft groove.
      NOTE: Do not excessively widen the rings.

      HINT:

      After installing the oil seal rings, check that they rotate smoothly.

      Fig 86: Installing Oil Seal Rings To Input Shaft Groove
      G05155268Courtesy of © TOYOTA, LICENSE AGREEMENT TMS1002
  46. INSTALL INPUT SHAFT ASSEMBLY 
    1. Install the input shaft to the clutch drum.
    Fig 87: Installing Input Shaft To Clutch Drum
    G05155094Courtesy of © TOYOTA, LICENSE AGREEMENT TMS1002
  47. INSTALL FORWARD CLUTCH HUB SUB-ASSEMBLY 
    1. Install the No. 3 clutch hub thrust washer, forward clutch hub and thrust needle roller bearing to the clutch drum.
      NOTE: Before installing the forward clutch hub, apply ATF to the forward clutch hub bush sliding surfaces. After the installation, check that the forward clutch hub rotates smoothly.
    Fig 88: Installing Forward Clutch Hub Sub-Assembly
    G05155087Courtesy of © TOYOTA, LICENSE AGREEMENT TMS1002

    HINT:

    Use a small amount of MP grease to make the thrust needle roller bearing and thrust washer stay securely in place.

    Bearing Diameter 

    BEARING DIAMETER

    Item Inside Outside
    Bearing 46.45 to 46.7 mm (1.83 to 1.84 in.) 64.3 to 64.55 mm (2.53 to 2.54 in.)
  48. INSTALL REVERSE CLUTCH HUB SUB-ASSEMBLY 
    1. Install the reverse clutch hub to the clutch drum.
      NOTE: Before installing the reverse clutch hub, apply ATF to the reverse clutch hub bush sliding surfaces. After the installation, check that the reverse clutch rotates smoothly.
    Fig 89: Installing Reverse Clutch Hub Sub-Assembly
    G05155271Courtesy of © TOYOTA, LICENSE AGREEMENT TMS1002
  49. INSTALL REAR CLUTCH DISC SET 
    1. Install the flange, 5 discs, 4 plates, selected flange, cushion plate and reverse clutch reaction sleeve to the clutch drum.

      Install in order: 

      F - D - P - D - P - D - P - D - P - D - S/F - C 

      HINT:

      F = Flange

      D = Disc

      P = Plate

      S/F = Selected flange

      C = Cushion plate

    2. Using a screwdriver, install the snap ring to the clutch drum.
    Fig 90: Installing Rear Clutch Disc Set
    G05761008Courtesy of © TOYOTA, LICENSE AGREEMENT TMS1002
  50. INSTALL NO. 2 1-WAY CLUTCH ASSEMBLY 
    1. Install the clutch drum thrust washer to the clutch drum.

      HINT:

      Use a small amount of MP grease to make the thrust washer stay securely in place.

    2. Install the 1-way clutch to the clutch drum.
  51. INSPECT NO. 2 1-WAY CLUTCH ASSEMBLY  (See INSPECTION )
    Fig 91: Installing No. 2 1-Way Clutch Assembly
    G05155081Courtesy of © TOYOTA, LICENSE AGREEMENT TMS1002
  52. INSTALL CLUTCH DRUM AND INPUT SHAFT ASSEMBLY 
    1. Install the 2 thrust needle roller bearings.

      HINT:

      Use a small amount of MP grease to make the thrust needle roller bearings stay securely in place.

      Fig 92: Installing Clutch Drum And Input Shaft Assembly
      G05155274Courtesy of © TOYOTA, LICENSE AGREEMENT TMS1002

      Bearing Diameter 

      BEARING DIAMETER

      Item Inside Outside
      Bearing A 71.96 to 72.26 mm (2.83 to 2.84 in.) 85.25 to 85.6 mm (3.36 to 3.37 in.)
      Bearing B 36.45 to 36.7 mm (1.44 to 1.45 in.) 52.96 to 53.26 mm (2.09 to 2.10 in.)
    2. Coat the clutch drum thrust washer with petroleum jelly and install it onto the clutch drum and input shaft assembly.
    3. Install the clutch drum and input shaft assembly to the transmission case.
    Fig 93: Installing Clutch Drum And Input Shaft Drum Assembly Onto Transmission Case
    G05155275Courtesy of © TOYOTA, LICENSE AGREEMENT TMS1002
  53. INSTALL OIL PUMP ASSEMBLY 
    1. Coat a new O-ring with ATF, and install it to the oil pump.
    2. Install the 2 thrust bearing races to the front oil pump.
      Fig 94: Identifying O-Ring
      G05155276Courtesy of © TOYOTA, LICENSE AGREEMENT TMS1002

      Thrust Bearing Race Diameter 

      THRUST BEARING RACE DIAMETER

      Item Inside Outside
      Race A 74.26 to 74.56 mm (2.92 to 2.94 in.) 87.39 to 87.74 mm (3.44 to 3.45 in.)
      Race B 38.0 to 38.3 mm (1.50 to 1.51 in.) 53.9 to 54.1 mm (2.12 to 2.13 in.)
    3. Pass the input shaft through the center hole of the oil pump, and align the bolt holes of the oil pump assembly with the transmission case.
    4. Hold the input shaft, and lightly press the oil pump body to slide the oil seal rings into the overdrive direct clutch drum.
    5. Apply seal packing to the flanges of the bolts.

      Seal packing: 

      Toyota Genuine Seal Packing 1281, Three Bond 1281 or equivalent 

      Fig 95: Identifying Flanges Bolts
      G05155076Courtesy of © TOYOTA, LICENSE AGREEMENT TMS1002
      NOTE: Do not allow seal packing to contact the bolt threads.
    6. Install the 10 bolts.

      Torque: 21 N*m (214 kgf*cm, 15 ft.*lbf) 

      NOTE: During installation, do not allow oil to contact the bolts or the surface of the oil pump body.
  54. INSPECT INDIVIDUAL PISTON OPERATION  (See INSPECTION )
  55. INSTALL MANUAL VALVE LEVER SHAFT OIL SEAL 
    1. Using SST, tap in 2 new oil seals.

      SST 09350-30020 (09350-07110) 

    2. Coat the lips of the oil seals with MP grease.
    Fig 96: Installing Manual Valve Lever Shaft Oil Seal
    G05155278Courtesy of © TOYOTA, LICENSE AGREEMENT TMS1002
  56. INSTALL MANUAL VALVE LEVER SUB-ASSEMBLY 
    1. Install a new spacer to the manual valve lever.
    2. Push the manual valve lever shaft through the transmission case, and install the manual valve lever to the shaft.
      Fig 97: Installing Manual Valve Lever Sub-Assembly
      G05155279Courtesy of © TOYOTA, LICENSE AGREEMENT TMS1002
    3. Using a hammer, tap in a new spring pin.
      Fig 98: Tapping In Spring Pin
      G05155280Courtesy of © TOYOTA, LICENSE AGREEMENT TMS1002
    4. Align the manual valve lever indentation with the spacer hole, and stake them together with the punch.
    5. Check that the shaft rotates smoothly.
    Fig 99: Aligning Manual Valve Lever Indentation With Spacer Hole
    G05155281Courtesy of © TOYOTA, LICENSE AGREEMENT TMS1002
  57. INSTALL PARKING LOCK PAWL 
    1. Install a new E-ring to the shaft.
    2. Install the parking lock pawl, shaft and spring.
    Fig 100: Installing Parking Lock Pawl
    G05155282Courtesy of © TOYOTA, LICENSE AGREEMENT TMS1002
  58. INSTALL PARKING LOCK ROD SUB-ASSEMBLY 
    1. Connect the parking lock rod to the manual valve lever.
      Fig 101: Installing Parking Lock Rod Sub-Assembly
      G05761019Courtesy of © TOYOTA, LICENSE AGREEMENT TMS1002
  59. INSTALL PARKING LOCK PAWL BRACKET 
    1. Place the parking lock pawl bracket onto the transmission case and install the 3 bolts.

      Torque: 18 N*m (184 kgf*cm, 13 ft.*lbf) 

      Fig 102: Placing Parking Lock Pawl Bracket Onto Transmission Case
      G05155070Courtesy of © TOYOTA, LICENSE AGREEMENT TMS1002
    2. Move the manual valve lever to the P position, and confirm that the planetary ring gear is correctly locked by the lock pawl.
    Fig 103: Identifying Planetary Ring Gear
    G05155285Courtesy of © TOYOTA, LICENSE AGREEMENT TMS1002
  60. INSTALL B-1 ACCUMULATOR VALVE 
    1. Install the 2 springs and accumulator valve to the hole.

    Spring Diameter 

    SPRING DIAMETER

    Spring Free Length Outer Diameter Color
    B-1 Inner 44.98 mm (1.77 in.) 11.30 mm (0.445 in.) Natural
    B-1 Outer 46.36 mm (1.83 in.) 17.10 mm (0.673 in.) Natural
    Fig 104: Installing Springs And Accumulator Valve To Hole
    G05155286Courtesy of © TOYOTA, LICENSE AGREEMENT TMS1002
  61. INSTALL C-3 ACCUMULATOR PISTON 
    1. Coat 2 new O-rings with ATF, and install them to the piston.
    2. Install the spring and accumulator piston to the hole.

    Spring Diameter 

    SPRING DIAMETER

    Spring Free Length Outer Diameter Color
    C-3 76.65 mm (3.02 in.) 20.1 mm (0.791 in.) Natural
    Fig 105: Identifying O-Rings And C-3 Accumulator Piston
    G05155287Courtesy of © TOYOTA, LICENSE AGREEMENT TMS1002
  62. INSTALL B-3 ACCUMULATOR PISTON 
    1. Coat 2 new O-rings with ATF, and install them to the piston.
    2. Install the spring and accumulator piston to the hole.

    Spring Diameter 

    SPRING DIAMETER

    Spring Free Length Outer Diameter Color
    B-3 64.50 mm (2.54 in.) 19.5 mm (0.768 in.) Orange
    Fig 106: Identifying O-Rings And B-3 Accumulator Piston
    G05155288Courtesy of © TOYOTA, LICENSE AGREEMENT TMS1002
  63. INSTALL C-2 ACCUMULATOR PISTON 
    1. Coat 2 new O-rings with ATF, and install them to the piston.
    2. Install the spring and accumulator piston to the hole.

    Spring Diameter 

    SPRING DIAMETER

    Spring Free Length Outer Diameter Color
    C-2 68.0 mm (2.68 in.) 16.1 mm (0.634 in.) Light green
    Fig 107: Installing C-2 Accumulator Piston
    G05155289Courtesy of © TOYOTA, LICENSE AGREEMENT TMS1002
  64. INSTALL CHECK BALL BODY 
    1. Install the spring and check ball body.
    Fig 108: Installing Check Ball Body
    G05155290Courtesy of © TOYOTA, LICENSE AGREEMENT TMS1002
  65. INSTALL BRAKE DRUM GASKET 
    1. Install 3 new brake drum gaskets.
    Fig 109: Installing Brake Drum Gasket
    G05761027Courtesy of © TOYOTA, LICENSE AGREEMENT TMS1002
  66. INSTALL TRANSMISSION CASE GASKET 
    1. Install 3 new transmission case gaskets.
    Fig 110: Installing Transmission Case Gasket
    G05155292Courtesy of © TOYOTA, LICENSE AGREEMENT TMS1002
  67. INSTALL TRANSMISSION VALVE BODY ASSEMBLY 
    1. Align the hole of the manual valve with the pin of the lever.
      Fig 111: Installing Transmission Valve Body Assembly
      G05154879Courtesy of © TOYOTA, LICENSE AGREEMENT TMS1002
    2. Install the 19 bolts.

      Torque: 11 N*m (112 kgf*cm, 8 ft.*lbf) 

      HINT:

      Each bolt length is indicated below.

      36 mm (1.42 in.) for bolt A

      25 mm (0.984 in.) for bolt B

      45 mm (1.77 in.) for bolt C

      50 mm (1.97 in.) for bolt D

    3. Install the detent spring and detent spring cover with the bolt.

      Torque: 10 N*m (102 kgf*cm, 7 ft.*lbf) 

    Fig 112: Identifying Detent Spring And Detent Spring Cover With Bolt
    G05154880Courtesy of © TOYOTA, LICENSE AGREEMENT TMS1002
  68. INSTALL TRANSMISSION WIRE 
    1. Install 2 new O-rings to the transmission wires.
      Fig 113: Installing New O-Rings To Transmission Wires
      G05155295Courtesy of © TOYOTA, LICENSE AGREEMENT TMS1002
    2. Install the transmission wire harnesses.
    3. Install the bolts.

      Torque: 5.4 N*m (55 kgf*cm, 48 in.*lbf) 

      Fig 114: Identifying Transmission Wire Harnesses Bolts
      G05155060Courtesy of © TOYOTA, LICENSE AGREEMENT TMS1002
    4. Connect the 9 connectors to the solenoid valves.
    5. Connect the 2 ATF temperature sensors with the 2 clamps and 2 bolts.

      Torque: for bolt A 

      10 N*m (102 kgf*cm, 7 ft.*lbf) 

      for bolt B 

      11 N*m (112 kgf*cm, 8 ft.*lbf) 

      HINT:

      Each bolt length is indicated below.

      12 mm (0.472 in.) for bolt A

      36 mm (1.42 in.) for bolt B

    Fig 115: Locating Clamps And Bolts
    G05154826Courtesy of © TOYOTA, LICENSE AGREEMENT TMS1002
  69. INSTALL VALVE BODY OIL STRAINER ASSEMBLY 
    1. Coat a new O-ring with ATF, and install it to the oil strainer.
    2. Install the oil strainer with the 4 bolts.

      Torque: 10 N*m (102 kgf*cm, 7 ft.*lbf) 

    Fig 116: Locating Oil Strainer Bolts
    G05647461Courtesy of © TOYOTA, LICENSE AGREEMENT TMS1002
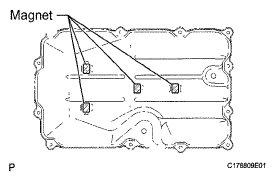
  70. INSTALL AUTOMATIC TRANSMISSION OIL PAN SUB-ASSEMBLY 
    1. Install the 4 magnets.
    2. Install a new gasket to the oil pan.
    3. Install the oil pan with the 12 bolts.

      Torque: 7.4 N*m (75 kgf*cm, 65 in.*lbf) 

      Fig 117: Installing Oil Pan With Bolts
      G05760610Courtesy of © TOYOTA, LICENSE AGREEMENT TMS1002
      NOTE:
      • Make sure that there is no oil or foreign matter on the gasket seal surface and oil pan contact surface.
      • Install the gasket so that there is no slack in the gasket, and make sure the entire circumference of the seal surface is level.
      • Make sure that the 9 gasket drop prevention protrusions are set on the oil pan.
      • When tightening the bolts of the oil pan, make sure that the gasket is not pinched between the gasket tightening area sleeve and the transmission seal surface.
    4. Install the drain plug.

      Torque: 20 N*m (204 kgf*cm, 15 ft.*lbf) 

    Fig 118: Identifying Correct Installation Of Sleeve
    G04948429Courtesy of © TOYOTA, LICENSE AGREEMENT TMS1002
  71. INSTALL TRANSFER CASE ADAPTER RADIAL BALL BEARING 
    1. Using SST and a press, press in the bearing until it stops.

      SST 09950-60010 (09951-00650), 09950-70010 (09951-07150) 

    2. Using a screwdriver, install the snap ring.
    Fig 119: Identifying SST For Pressing Bearing
    G05155301Courtesy of © TOYOTA, LICENSE AGREEMENT TMS1002
  72. INSTALL TRANSMISSION CASE ADAPTOR OIL SEAL 
    1. Coat the lip of a new oil seal with ATF.
    2. Using SST and a hammer, tap in the oil seal.

      Standard depth: 

      0 to 1 mm (0 to 0.0394 in.) 

      SST 09950-60010 (09951-00650), 09950-70010 (09951-07150) 

    Fig 120: Installing Transmission Case Adaptor Oil Seal
    G05761038Courtesy of © TOYOTA, LICENSE AGREEMENT TMS1002
  73. INSTALL REAR ADAPTOR TRANSFER 
    1. Clean the threads of the bolts and case with non-residue solvent.
    2. Apply seal packing to the rear adaptor transfer.

      Seal packing: 

      Toyota Genuine Seal Packing 1281, Three Bond 1281 or equivalent 

      Seal diameter: 

      1.0 to 1.5 mm (0.0394 to 0.0591 in.) 

      Fig 121: Identifying Seal Packing
      G05155303Courtesy of © TOYOTA, LICENSE AGREEMENT TMS1002
    3. Install the rear adaptor transfer with the 10 bolts.

      Torque: 34 N*m (345 kgf*cm, 25 ft.*lbf) 

    Fig 122: Locating Rear Adaptor Transfer Bolts
    G05155304Courtesy of © TOYOTA, LICENSE AGREEMENT TMS1002
  74. INSTALL AUTOMATIC TRANSMISSION HOUSING 
    1. Clean the threads of the bolts and case with non-residue solvent.
    2. Install the transmission housing with the 14 bolts.

      Torque: 34 N*m (345 kgf*cm, 25 ft.*lbf) 

    Fig 123: Locating Transmission Housing Bolts
    G05155052Courtesy of © TOYOTA, LICENSE AGREEMENT TMS1002
  75. INSTALL AUTOMATIC TRANSMISSION BREATHER TUBE 
    1. Coat a new O-ring with ATF and install it to the breather tube.
    2. Install the breather tube with the 2 bolts.

      Torque: 5.4 N*m (55 kgf*cm, 48 in.*lbf) 

    Fig 124: Installing Breather Tube With Bolts
    G05647639Courtesy of © TOYOTA, LICENSE AGREEMENT TMS1002
  76. INSTALL TRANSMISSION OIL COOLER ASSEMBLY 
    1. Coat 4 new O-rings with ATF.
    2. Install the 4 O-rings, transmission oil thermostat and transmission oil cooler to the automatic transmission.
    3. Temporarily install bolt A. Install the bolts labeled B and tighten them to the specified torque. Then tighten bolt A to the specified torque.

      Torque: 21 N*m (214 kgf*cm, 15 ft.*lbf) 

    Fig 125: Locating O-Rings
    G05760756Courtesy of © TOYOTA, LICENSE AGREEMENT TMS1002
  77. INSTALL SPEED SENSOR 
    1. Coat 2 new O-rings with ATF, and install them to the speed sensors.
    2. Install the 2 speed sensors.
    3. Install the 2 bolts.

      Torque: 5.4 N*m (55 kgf*cm, 48 in.*lbf) 

    Fig 126: Installing Speed Sensor
    G05155048Courtesy of © TOYOTA, LICENSE AGREEMENT TMS1002
  78. INSTALL PARK/NEUTRAL POSITION SWITCH ASSEMBLY 
    1. Install the park/neutral position switch to the manual valve lever shaft, and temporarily install the adjusting bolt.
    2. Install a new lock washer and the nut.

      Torque: 6.9 N*m (70 kgf*cm, 61 in.*lbf) 

    3. Temporarily install the control shaft lever RH.
      Fig 127: Installing Control Shaft Lever RH
      G05155310Courtesy of © TOYOTA, LICENSE AGREEMENT TMS1002
    4. Turn the control shaft lever RH counterclockwise until it stops, and then turn it clockwise 2 notches to set it to the N position.
    5. Remove the control shaft lever RH.
      Fig 128: Turning Control Shaft Lever RH
      G05760659Courtesy of © TOYOTA, LICENSE AGREEMENT TMS1002
    6. Align the groove with the neutral basic line.
    7. Hold the switch in position and tighten the bolt.

      Torque: 13 N*m (133 kgf*cm, 10 ft.*lbf) 

      Fig 129: Aligning Groove With Neutral Basic Line
      G05289688Courtesy of © TOYOTA, LICENSE AGREEMENT TMS1002
    8. Using a screwdriver, bend the tabs of the lock washer.
    Fig 130: Bending Tabs Of Lock Washer
    G04963667Courtesy of © TOYOTA, LICENSE AGREEMENT TMS1002
  79. INSTALL TRANSMISSION CONTROL SHAFT LEVER RH 
    1. Install the control shaft lever RH with the washer and nut.

      Torque: 16 N*m (163 kgf*cm, 12 ft.*lbf) 

    Fig 131: Installing Control Shaft Lever RH With Washer And Nut
    G05760650Courtesy of © TOYOTA, LICENSE AGREEMENT TMS1002