LEMON Manuals: Even more car manuals for everyone: 1960-2025
Home >> Lexus >> 2008 >> SC 430 >> Repair and Diagnosis >> Engine Performance >> Fuel Delivery >> Fuel >> Fuel Injector >> Installation
April 5, 2026: LEMON Manuals is launched! Read the announcement.

Fuel Injector: Installation

  1. INSTALL FUEL INJECTOR ASSEMBLY 
    1. Install a new O-ring, grommet and insulator to the injector.
      NOTE:
      • Check that there is no damage or foreign material in the groove of the injector when installing the injector's O-ring.
      • Apply gasoline to a new O-ring and install it to the injector.
        Fig 1: Identifying New O-Ring, Grommet And Insulator To Injector
        G05289169Courtesy of © TOYOTA, LICENSE AGREEMENT TMS1002
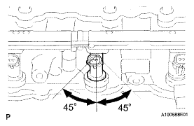
    2. Push and rotate the injector 45° clockwise and counterclockwise to install it to the delivery pipe.
      Fig 2: Pushing And Rotating Injector 45 Degrees Clockwise And Counterclockwise
      G05289170Courtesy of © TOYOTA, LICENSE AGREEMENT TMS1002
    3. Check that the injector rotates smoothly.
      NOTE: When the injector does not rotate smoothly, the O-ring may be pinched. Remove the injector and install a new O-ring to the injector.
  2. INSTALL NO. 2 FUEL DELIVERY PIPE SUB-ASSEMBLY 
    1. Install the delivery pipe (with injector) to the intake manifold.
      Fig 3: Installing Delivery Pipe (With Injector) To Intake Manifold
      G05289171Courtesy of © TOYOTA, LICENSE AGREEMENT TMS1002
    2. With the condition as stated above, rotate the injector 45° clockwise and counterclockwise.
      NOTE: When the injector does not rotate smoothly, the O-ring may be pinched. Remove the injector and install a new O-ring to the injector.
      Fig 4: Rotating Injector 45 Degrees Clockwise And Counterclockwise
      G05289172Courtesy of © TOYOTA, LICENSE AGREEMENT TMS1002
    3. With the spacer contacting the delivery pipe, install the delivery pipe with the 2 nuts.

      Torque: 21 N*m (214 kgf*cm, 15 ft.*lbf) 

  3. INSTALL FUEL DELIVERY PIPE SUB-ASSEMBLY 
    1. Install the delivery pipe (with injector) to the intake manifold.
      Fig 5: Identifying Delivery Pipe (With Injector) To Intake Manifold
      G05289173Courtesy of © TOYOTA, LICENSE AGREEMENT TMS1002
    2. With the condition as stated above, rotate the injector 45° clockwise and counterclockwise.
      NOTE: When the injector does not rotate smoothly, the O-ring may be pinched. Remove the injector and install a new O-ring to the injector.
      Fig 6: Identifying Rotating Injector 45° Clockwise And Counterclockwise
      G05289174Courtesy of © TOYOTA, LICENSE AGREEMENT TMS1002
    3. With the spacer contacting the delivery pipe, install the delivery pipe with the 2 nuts.

      Torque: 21 N*m (214 kgf*cm, 15 ft.*lbf) 

  4. INSTALL FUEL PRESSURE PULSATION DAMPER ASSEMBLY (See  INSTALLATION   ) 
  5. INSTALL ENGINE WIRE 
    1. Install the 2 wire clamps to the wire clamp bracket on the RH delivery pipe.
      Fig 7: Identifying Engine Wire
      G05289175Courtesy of © TOYOTA, LICENSE AGREEMENT TMS1002
  6. INSTALL PURGE VSV (See  INSTALLATION  ) 
  7. INSTALL NO. 4 V-BANK COVER BRACKET 
    1. Install the bracket with the 2 nuts.

      Torque: 7.5 N*m (76 kgf*cm, 66 in.*lbf) 

  8. INSTALL NO. 3 V-BANK COVER BRACKET 
    1. Install the bracket with the bolt.

      Torque: 7.5 N*m (76 kgf*cm, 66 in.*lbf) 

  9. INSTALL NO. 2 V-BANK COVER BRACKET 
    1. Install the bracket with the nut.

      Torque: 7.5 N*m (76 kgf*cm, 66 in.*lbf) 

  10. INSTALL NO. 1 V-BANK COVER BRACKET 
    1. Install the bracket with the bolt.

      Torque: 7.5 N*m (76 kgf*cm, 66 in.*lbf) 

  11. INSTALL INTAKE AIR CONNECTOR PIPE 
    1. Install the intake air connector pipe with the bolt and hose clamp.

      Torque: 

      4.0 N*m (41 kgf*cm, 35 in.*lbf) for hose clamp 

      5.0 N*m (51 kgf*cm, 44 in.*lbf) for bolt 

    2. Connect the air hose and No. 1 ventilation hose together.
  12. INSTALL NO. 1 AIR CLEANER INLET 
    1. Install the air cleaner inlet with the bolt.

      Torque: 5.0 N*m (51 kgf*cm, 44 in.*lbf) 

  13. CONNECT CABLE TO NEGATIVE BATTERY TERMINAL 
  14. PERFORM INITIALIZATION 
    1. Perform initialization (see INITIALIZATION ).
      NOTE: Certain systems need to be initialized after disconnecting and reconnecting the cable from the negative (-) battery terminal.
  15. CHECK FOR FUEL LEAKS (See  ON-VEHICLE INSPECTION   ) 
  16. ADD COOLANT (See  REPLACEMENT  ) 
  17. CHECK FOR COOLANT LEAKS (See  ON-VEHICLE INSPECTION  ) 
  18. INSTALL V-BANK COVER 
    1. Install the cover with the nuts.

      Torque: 5.0 N*m (51 kgf*cm, 44 in.*lbf)