LEMON Manuals: Even more car manuals for everyone: 1960-2025
Home >> Lexus >> 2008 >> SC 430 >> Repair and Diagnosis >> Engine Performance >> Testing & Diagnosis >> Engine Control System >> Crankshaft Position Sensor >> Inspection
April 5, 2026: LEMON Manuals is launched! Read the announcement.

Crankshaft Position Sensor: Inspection

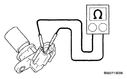
  1. INSPECT CRANKSHAFT POSITION SENSOR 
    1. Measure the resistance between the terminals.

    Standard resistance 

    TEMPERATURE SPECIFIED CONDITION CHART

    Temperature Specified Condition
    Cold 1,630 to 2,740 Ω
    Hot 2,065 to 3,225 Ω
    Fig 1: Inspecting Crankshaft Position Sensor
    G05291410Courtesy of © TOYOTA, LICENSE AGREEMENT TMS1002
    NOTE: In this table above, the terms "cold" and "hot" refer to the temperature of the coils. "Cold" means approximately -10 to 50°C (14 to 122°F). "Hot" means approximately 50 to 100°C (122 to 212°F).

    If the resistance is not as specified, replace the sensor.