LEMON Manuals: Even more car manuals for everyone: 1960-2025
Home >> Lexus >> 2008 >> SC 430 >> Repair and Diagnosis >> Engine Performance >> Testing & Diagnosis >> Engine Control System >> SFI System >> Terminals Of ECM
April 5, 2026: LEMON Manuals is launched! Read the announcement.

Terminals Of ECM

Fig 1: Identifying ECM Connector Terminals
G05291265Courtesy of © TOYOTA, LICENSE AGREEMENT TMS1002

HINT:

Each ECM terminal's standard voltage is shown in the table below. In the table, first follow the information under "Condition". Look under "Symbols (Terminal No.)" for the terminals to be inspected. The standard voltage between the terminals is shown under "Specified Condition". Use the illustration above as a reference for the ECM terminals.

TERMINAL DESCRIPTION SPECIFIED CONDITION CHART

Symbols (Terminal No.) Wiring Color Terminal Description Condition Specified Condition
BATT (E6-4) - E1 (E3-7) B-BR Battery (for measuring battery voltage and for the ECM memory) Always 9 to 14 V
+BM (E2-5) - ME01 (E2-4) Y-B - W-B Power source of throttle motor Always 9 to 14 V
IGSW (E6-17) - E1 (E3-7) G-B - BR Ignition switch Ignition switch ON 9 to 14 V
+B (E6-6) - E1 (E3-7) B-BR Power source of ECM Ignition switch ON 9 to 14 V
+B1 (E6-5) - E1 (E3-7) B-W - BR Power source of ECM Ignition switch ON 9 to 14 V
VC (E2-29) - E2 (E2-28) L-R - BR Power source of sensor (specific voltage) Ignition switch ON 4.5 to 5.5 V
VTA (E2-23) - E2 (E2-28) Y-BR Throttle position sensor (for engine control) Ignition switch ON, accelerator pedal fully released 0.5 to 1.1 V
VTA (E2-23) - E2 (E2-28) Y-BR Throttle position sensor (for engine control) Ignition switch ON, accelerator pedal fully depressed 3.2 to 4.8 V
VTA2 (E2-22) - E2 (E2-28) L-B - BR Throttle position sensor (for sensor malfunction detection) Ignition switch ON, accelerator pedal fully released 2.1 to 3.1V
VTA2 (E2-22) - E2 (E2-28) L-B - BR Throttle position sensor (for sensor malfunction detection) Ignition switch ON, accelerator pedal fully depressed 4.5 to 5.5 V
VPA (E5-33) - EPA (E5-34) R-Y - BR Accelerator pedal position sensor (for engine control) Ignition switch ON, accelerator pedal fully released 0.5 to 1.1 V
VPA (E5-33) - EPA (E5-34) R-Y - BR Accelerator pedal position sensor (for engine control) Ignition switch ON, accelerator pedal fully depressed 2.6 to 4.5 V
VPA2 (E5-32) - EPA2 (E5-26) B-W - G Accelerator pedal position sensor (for sensor malfunction detection) Ignition switch ON, accelerator pedal fully released 1.2 to 2.0 V
VPA2 (E5-32) - EPA2 (E5-26) B-W - G Accelerator pedal position sensor (for sensor malfunction detection) Ignition switch ON, accelerator pedal fully depressed 3.4 to 5.3 V
VCPA (E5-35) - EPA (E5-34) L-R - BR Power source of accelerator pedal position sensor (for VPA) Ignition switch ON 4.5 to 5.5 V
VCP2 (E5-27) - EPA2 (E5-26) G-W - G Power source of accelerator pedal position sensor (for VPA2) Ignition switch ON 4.5 to 5.5 V
VG (E4-27) - E2G (E4-26) B-R - B-W MAF meter Idling, shift position P or N, A/C switch off 0.5 to 3.0 V
THA (E4-25) - E2 (E2-28) B-L - BR IAT sensor Idling, IAT: 0 to 80°C (32 to 176°F) after warm-up 0.5 to 3.4 V
THW (E4-20) - E2 (E2-28) R-L - BR ECT sensor Idling, ECT: 60 to 100°C (140 to 212°F) after warm-up 0.2 to 1.0 V
STA (E6-12) - E1 (E3-7) W-L - BR Starter signal Cranking (shift position P or N position and ignition switch start) 6 V or more
#1 (E2-15) - E01 (E4-2) L - W-B Injector Idling Pulse generation (see  1waveform 1)
#2 (E4-17) - E01 (E4-2) W - W-B
#3 (E2-14) - E01 (E4-2) G-Y - W-B
#4 (E4-16) - E01 (E4-2) G - W-B
#5 (E2-13) - E01 (E4-2) G - W-B
#6 (E4-15) - E01 (E4-2) BR - W-B
#7 (E2-12) - E01 (E4-2) BR - W-B
#8 (E4-14) - E01 (E4-2) Y-B - W-B
#1 (E2-15) - E01 (E4-2) L - W-B Injector Ignition switch ON 9 to 14 V
#2 (E4-17) - E01 (E4-2) W - W-B
#3 (E2-14) - E01 (E4-2) G-Y - W-B
#4 (E4-16) - E01 (E4-2) G - W-B
#5 (E2-13) - E01 (E4-2) G - W-B
#6 (E4-15) - E01 (E4-2) BR - W-B
#7 (E2-12) - E01 (E4-2) BR - W-B
#8 (E4-14) - E01 (E4-2) Y-B - W-B
IGT1 (E2-17) - E1 (E3-7) G-W - BR Ignition coil and igniter (ignition signal) Idling Pulse generation (see  2waveform 2)
IGT2 (E4-13) - E1 (E3-7) L-R - BR
IGT3 (E2-16) - E1 (E3-7) L-Y - BR
IGT4 (E4-12) - E1 (E3-7) LG - BR
IGT5 (E2-27) - E1 (E3-7) R - BR
IGT6 (E4-11) - E1 (E3-7) R-L - BR
IGT7 (E2-26) - E1 (E3-7) P-L - BR
IGT8 (E4-10) - E1 (E3-7) B-W - BR
IGF1 (E4-7) - E1 (E3-7) LG-BR G-B - BR Ignition coil and igniter (ignition confirmation signal) Idling Pulse generation (see  2waveform 2)
IGF2 (E4-6) - E1 (E3-7) G-B - BR
IGF1 (E4-7) - E1 (E3-7) LG - BR Ignition coil and igniter (ignition confirmation signal) Ignition switch ON 4.5 to 5.5 V
IGF2 (E4-6) - E1 (E3-7) G-B - BR
G2 (E2-21) - G2-(E2-20) L - Y Camshaft position sensor Idling Pulse generation (see  3waveform 3)
NE+ (E2-32) - NE-(E2-31) B-W Crankshaft position sensor Idling Pulse generation (see  3waveform 3 and  88)
MREL (E6-13) - E1 (E3-7) G-O - BR EFI relay Ignition switch ON 9 to 14 V
MREL (E6-13) - E1 (E3-7) G-O - BR EFI relay Ignition switch OFF (for 3 seconds or more) Below 1.5 V
FPR (E6-15) - E01 (E4-2) LG - W-B Fuel pump relay Ignition switch ON Below 3 V
FPR (E6-15) - E01 (E4-2) LG - W-B Fuel pump relay Cranking 6 to 14 V
FC (E6-14) - E01 (E4-2) O - W-B Fuel pump control Ignition switch ON 9 to 14 V
FC (E6-14) - E01 (E4-2) O - W-B Fuel pump control Idling after engine warm-up Below 3 V
STP (E5-4) - E1 (E3-7) G-R - BR Stop light switch Brake pedal is depressed 7.5 to 14 V
STP (E5-4) - E1 (E3-7) G-R - BR Stop light switch Brake pedal is released Below 1.5 V
ST1- (E6-8) - E1 (E3-7) Y-G - BR Stop light switch (opposite to STP terminal) Ignition switch ON, brake pedal is released Ignition switch ON Brake pedal is depressed Below 1.5 V
ST1- (E6-8) - E1 (E3-7) Y-G - BR Stop light switch (opposite to STP terminal) Ignition switch ON, brake pedal is released 7.5 to 14 V
PRG (E2-11) - E01 (E4-2) G-B - W-B Purge VSV Ignition switch ON and engine stopped 9 to 14 V
PRG (E2-11) - E01 (E4-2) G-B - W-B Purge VSV Idling after engine warm-up Pulse generation (see  4waveform 4)
OX1A (E2-30) - O1A- (E2-25) B - BR Heated oxygen sensor (bank 1 sensor 1) Idling 0.1 to 0.9 V Pulse generation (see  5waveform 5)
OX2A (E4-28) - O2A- (E4-21) W-BR Heated oxygen sensor (bank 2 sensor 1) Idling 0.1 to 0.9 V Pulse generation (see  5waveform 5)
OX1B (E5-28) - O1B- (E5-29) B - BR-W Heated oxygen sensor (bank 1 sensor 2) Idling 0.1 to 0.9 V Pulse generation (see  6waveform 6)
OX2B (E5-17) - O2B- (E5-18) W-BR Heated oxygen sensor (bank 2 sensor 2) Idling 0.1 to 0.9 V Pulse generation (see  6waveform 6)
HT1A (E2-24) - E03 (E2-6) L-Y - W-B Heated oxygen sensor heater Idling Below 3.0 V
HT1B (E5-2) - E03 (E2-6) GR-L - W-B
HT2A (E4-5) - E03 (E2-6) G-Y - W-B
HT2B (E5-1) - E03 (E2-6) GR - W-B
HT1A (E2-24) - E03 (E2-6) L-Y - W-B Heated oxygen sensor heater Ignition switch ON 9 to 14 V
HT1B (E5-2) - E03 (E2-6) GR-L - W-B
HT2A (E4-5) - E03 (E2-6) G-Y - W-B
HT2B (E5-1) - E03 (E2-6) GR - W-B
KNK1 (E3-28) - EKNK (E3-30) W-B Knock sensor (bank 1) Maintain engine RPM at 4,000 rpm after engine warmed-up Pulse generation (see  7waveform 7)
KNK2 (E3-29) - EKN2 (E3-31) R-G Knock sensor (bank 2) Maintain engine RPM at 4,000 rpm after engine warmed-up Pulse generation (see  7waveform 7)
TC (E5-3) - E1 (E3-7) P-B - BR Terminal TC of DLC3 Ignition switch ON 9 to 14 V
W (E5-8) - E1 (E3-7) R-B - BR MIL Idling 9 to 14 V
W (E5-8) - E1 (E3-7) R-B - BR MIL Ignition switch ON Below 3.0 V
VV1+ (E2-19) - VV1- (E2-18) R-G Variable Valve Timing (VVT) sensor (bank 1) Idling Pulse generation (see  8waveform 8)
VV2+ (E4-19) - VV2- (E4-18) Y-L VVT sensor (bank 2) Idling Pulse generation (see  8waveform 8)
OC1+ (E2-34) - OC1- (E2-33) L-Y - G-W Camshaft timing control valve (OCV) (bank 1) Accelerate slowly after engine warmed-up Pulse generation (see  9waveform 9)
OC2+ (E4-9) - OC2- (E4-8) L-W - L-B OCV (bank 2) Accelerate slowly after engine warmed-up Pulse generation (see  9waveform 9)
TACH (E5-16) - E1 (E3-7) B-Y - BR Engine speed Idling Pulse generation (see  10waveform 10)
ACIS (E4-3) - E01 (E4-2) L-W - W-B Vacuum switching valve (for ACIS) Ignition switch ON 9 to 14 V
ACIS (E4-3) - E01 (E4-2) L-W - W-B Vacuum switching valve (for ACIS) Engine RPM: 2,500 to 4,000 rpm and throttle opening angle: 40% or more Below 3.0 V
M+ (E2-2) - ME01 (E2-4) B - W-B Throttle actuator Idling Pulse generation (see  11waveform 11)
M- (E2-1) - ME01 (E2-4) W - W-B Throttle actuator Idling Pulse generation (see  12waveform 12)
SPD (E6-22) - E1 (E3-7) W-R - BR Speed signal from combination meter Ignition switch ON, rotate driving wheel slowly Pulse generation (see  13waveform 13)
RFC (E6-10) - E1 (E3-7) Y-BR Cooling fan ECU Ignition switch ON 0 to 3 V
E1 (E3-7) - Body ground BR - N/A Ground Always Below 1 Ω
VPMP(E5-12) - E1 (E3-7) O-BR Vent valve (built into pump module) Ignition switch ON 9 to 14 V
MPMP (E5-5) - E1 (E3-7) G-Y - BR Vacuum pump (built into pump module) Vacuum pump off 0 to 3 V
MPMP (E5-5) - E1 (E3-7) G-Y - BR Vacuum pump (built into pump module) Vacuum pump on 9 to 14 V
PPMP (E5-25) - E1 (E3-7) BR-W - BR Pressure sensor (built into pump module) Ignition switch ON 3 to 3.6 V
CANH (E6-25) - E1 (E3-7) R-BR CAN communication line Ignition switch ON Pulse generation (see  14waveform 14)
CANL (E6-24) - E1 (E3-7) W-BR CAN communication line Ignition switch ON Pulse generation (see  15waveform 15)
  1. WAVEFORM 1 

    Fuel injector

    WAVEFORM REFERENCE

    Item Content
    Symbols (Terminal No.) #1 (E2-15) - E01 (E4-2)
    #2 (E4-17) - E01 (E4-2)
    #3 (E2-14) - E01 (E4-2)
    #4 (E4-16) - E01 (E4-2)
    #5 (E2-13) - E01 (E4-2)
    #6 (E4-15) - E01 (E4-2)
    #7 (E2-12) - E01 (E4-2)
    #8 (E4-14) - E01 (E4-2)
    Tool Setting 20 V/DIV., 20 msec./DIV.
    Condition Idling
    Fig 2: Identifying Waveform 1
    G05291266Courtesy of © TOYOTA, LICENSE AGREEMENT TMS1002

    HINT:

    The wavelength becomes shorter as engine rpm increases.

  2. WAVEFORM 2 
    1. Igniter IGT signal (from ECM to igniter)
    2. Igniter IGF signal (from igniter to ECM)
      Fig 3: Identifying Waveform 2
      G05291267Courtesy of © TOYOTA, LICENSE AGREEMENT TMS1002
      WAVEFORM REFERENCE

      Item Content
      Symbols (Terminal No.) (a) IGT1 (E2-17) - E1 (E3-7)
      (a) IGT2 (E4-13) - E1 (E3-7)
      (a) IGT3 (E2-16) - E1 (E3-7)
      (a) IGT4 (E4-12) - E1 (E3-7)
      (a) IGT5 (E2-27) - E1 (E3-7)
      (a) IGT6 (E4-11) - E1 (E3-7)
      (a) IGT7 (E2-26) - E1 (E3-7)
      (a) IGT8 (E4-10) - E1 (E3-7)
      (b) IGF1 (E4-7) - E1 (E3-7)
      (b) IGF2 (E4-6) - E1 (E3-7)
      Tool Setting 2 V/DIV., 20 msec./DIV.
      Condition Idling

      HINT:

      The wavelength becomes shorter as engine rpm increases.

  3. WAVEFORM 3 
    1. Camshaft position sensor
    2. Crankshaft position sensor
      WAVEFORM REFERENCE

      Item Content
      Symbols (Terminal No.)
      1. G2 (E2-21) - G2- (E2-20)
      2. NE+ (E2-32) - NE- (E2-31)
      Tool Setting 5 V/DIV, 20 msec./DIV.
      Condition Idle after engine warmed-up
      Fig 4: Identifying Waveform 3
      G05291268Courtesy of © TOYOTA, LICENSE AGREEMENT TMS1002

      HINT:

      The wavelength becomes shorter as engine rpm increases.

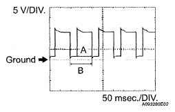
  4. WAVEFORM 4 

    Purge VSV

    WAVEFORM REFERENCE

    Item Content
    Symbols (Terminal No.) PRG (E2-11) - E01 (E4-2)
    Tool Setting 5 V/DIV., 150 msec./DIV.
    Condition Accelerated slowly after engine warmed-up
    Fig 5: Identifying Waveform 4
    G05291269Courtesy of © TOYOTA, LICENSE AGREEMENT TMS1002

    HINT:

    In cases where the purge VSV can be used to purge the EVAP, the waveform will not be displayed as shown in the illustration. In the Data List, the item Purge VSV shows the duty ratio of voltage flowing to the purge valve.

    Duty ratio for purge VSV (%) = A/B x 100

  5. WAVEFORM 5 

    Heated oxygen sensor (sensor 1)

    WAVEFORM REFERENCE

    Item Content
    Symbols (Terminal No.) OX1A (E2-30) - O1A- (E2-25)
    OX2A (E4-28) - O2A- (E4-21)
    Tool Setting 0.2 V/DIV., 200 msec./DIV.
    Condition Maintain engine speed at 2,500 rpm after engine warmed up
    Fig 6: Identifying Waveform 5
    G05291270Courtesy of © TOYOTA, LICENSE AGREEMENT TMS1002

    HINT:

    In the Data List, the items heated oxygen sensor B1 S1 and heated oxygen sensor B2 S1 show the ECM input values of the heated oxygen sensor (sensor 1).

  6. WAVEFORM 6 

    Heated oxygen sensor (sensor 2)

    WAVEFORM REFERENCE

    Item Content
    Symbols (Terminal No.) OX1B (E5-28) - O1B- (E5-29)
    OX2B (E5-17) - O2B- (E5-18)
    Tool Setting 0.2 V/DIV., 200 msec./DIV.
    Condition Maintain engine speed at 2,500 rpm after engine warmed up
    Fig 7: Identifying Waveform 6
    G05197710Courtesy of © TOYOTA, LICENSE AGREEMENT TMS1002

    HINT:

    In the Data List, the items heated oxygen sensor B1 S2 and heated oxygen sensor B2 S2 show the ECM input values of the heated oxygen sensor (sensor 2).

  7. WAVEFORM 7 

    Knock sensor

    WAVEFORM REFERENCE

    Item Content
    Symbols (Terminal No.) KNK1 (E3-28) - EKNK (E3-30)
    KNK2 (E3-29) - EKN2 (E3-31)
    Tool Setting 1 V/DIV., 1 msec./DIV.
    Condition Maintain engine speed at 2,000 rpm after engine warmed-up
    Fig 8: Identifying Waveform 7
    G05291272Courtesy of © TOYOTA, LICENSE AGREEMENT TMS1002

    HINT:

    • The wavelength becomes shorter as engine rpm increases.
    • The waveforms and amplitude displayed differ slightly depending on the vehicle.
  8. WAVEFORM 8 
    1. VVT sensor bank 1
    2. VVT sensor bank 2
    3. Crankshaft position sensor
      WAVEFORM REFERENCE

      Item Content
      Symbols (Terminal No.)
      1. VV1+ (E2-19) - VV1- (E2-18)
      2. VV2+ (E4-19) - VV2- (E4-18)
      3. NE+ (E2-32) - NE- (E2-31)
      Tool Setting 2 V/DIV., 20 msec./DIV.
      Condition Idle after engine warmed-up
      Fig 9: Identifying Waveform 8
      G05291273Courtesy of © TOYOTA, LICENSE AGREEMENT TMS1002

      HINT:

      The wavelength becomes shorter as engine rpm increases.

  9. WAVEFORM 9 

    VVT OCV

    WAVEFORM REFERENCE

    Item Content
    Symbols (Terminal No.) OC1+ (E2-34) - OC1- (E2-33)
    OC2+ (E4-9) - OC2- (E4-8)
    Tool Setting 5 V/DIV., 1 msec./DIV.
    Condition Idling
    Fig 10: Identifying Waveform 9
    G05197709Courtesy of © TOYOTA, LICENSE AGREEMENT TMS1002
  10. WAVEFORM 10 

    Engine speed signal

    WAVEFORM REFERENCE

    Item Content
    Symbols (Terminal No.) TACH (E5-16) - E1 (E3-7)
    Tool Setting 5 V/DIV., 10 msec./DIV.
    Condition Idling
    Fig 11: Identifying Waveform 10
    G05197719Courtesy of © TOYOTA, LICENSE AGREEMENT TMS1002

    HINT:

    The wavelength becomes shorter as the engine rpm increases.

  11. WAVEFORM 11 

    Throttle actuator positive terminal

    WAVEFORM REFERENCE

    Item Content
    Symbols (Terminal No.) M+ (E2-2) - ME01 (E2-4)
    Tool Setting 5 V/DIV., 1 msec./DIV.
    Condition Idle after engine warmed-up

    HINT:

    The duty ratio varies depending on the throttle opening operation.

    Fig 12: Identifying Waveform 11
    G05197717Courtesy of © TOYOTA, LICENSE AGREEMENT TMS1002
  12. WAVEFORM 12 

    Throttle actuator negative terminal

    WAVEFORM REFERENCE

    Item Content
    Symbols (Terminal No.) M- (E2-1) - ME01 (E2-4)
    Tool Setting 5 V/DIV., 1 msec./DIV.
    Condition Idle after engine warmed-up

    HINT:

    The duty ratio varies depending on the throttle opening operation.

    Fig 13: Identifying Waveform 12
    G05197718Courtesy of © TOYOTA, LICENSE AGREEMENT TMS1002
  13. WAVEFORM 13 

    Vehicle speed signal

    WAVEFORM REFERENCE

    Item Content
    Symbols (Terminal No.) SPD (E6-22) - E1 (E3-7)
    Tool Setting 2 V/DIV., 20 msec./DIV.
    Condition Driving at 20 km/h (12 mph)

    HINT:

    The wavelength becomes shorter as vehicle speed increases.

    Fig 14: Identifying Waveform 13
    G05197716Courtesy of © TOYOTA, LICENSE AGREEMENT TMS1002
  14. WAVEFORM 14 

    CAN communication signal

    WAVEFORM REFERENCE

    Item Content
    Symbols (Terminal No.) CANH (E6-25) - E1 (E3-7)
    Tool Setting 1 V/DIV., 10 μsec./DIV.
    Condition Stop engine and ignition switch ON

    HINT:

    The waveform varies depending on the CAN communication signal.

    Fig 15: Identifying Waveform 14
    G05196597Courtesy of © TOYOTA, LICENSE AGREEMENT TMS1002
  15. WAVEFORM 15 

    CAN communication signal

    WAVEFORM REFERENCE

    Item Content
    Symbols (Terminal No.) CANL (E6-24) - E1 (E3-7)
    Tool Setting 1 V/DIV., 10 μsec./DIV.
    Condition Stop engine and ignition switch ON

    HINT:

    The waveform varies depending on the CAN communication signal.

    Fig 16: Identifying Waveform 15
    G05196598Courtesy of © TOYOTA, LICENSE AGREEMENT TMS1002