LEMON Manuals: Even more car manuals for everyone: 1960-2025
Home >> Lexus >> 2008 >> SC 430 >> Repair and Diagnosis >> General Information >> Towing >> Introduction >> Repair Instruction >> Customize Parameters
April 5, 2026: LEMON Manuals is launched! Read the announcement.

Customize Parameters

HINT:

The following items can be customized.

NOTE:
  • Be sure to record the current settings before customizing.
  • When the customer requests a change in a function, first make sure that the function(s) can be customized.
  • When troubleshooting a function, first make sure that the function is set to the default setting.
  1. POWER TILT AND POWER TELESCOPIC STEERING COLUMN SYSTEM 

    Multiplex tilt and telescopic ECU 

    MULTIPLEX TILT AND TELESCOPIC ECU - CUSTOMIZE PARAMETERS

    Display (Item) Default Contents Setting
    Auto Away / Return Function ON ON / OFF of auto away / return function ON / OFF
  2. AIR CONDITIONING SYSTEM 

    A/C amplifier 

    A/C AMPLIFIER - CUSTOMIZE PARAMETERS

    Display Default Contents Setting
    Set Shift Temperature Normal Function to control with shifted temperature against display temperature. +2C / +1C / Normal -1C / -2C
    Air Inlet Mode Automatic When turning A/C ON when you desire to cool compartment down quickly, this function changes mode automatically to RECIRCULATED mode. Manual / Auto
    Compressor Mode Automatic Function to turn A/C ON automatically by pressing AUTO button when the blower is ON and the A/C is OFF. Manual / Auto
    Compressor / Air Inlet DEF Operation Link Function to turn A/C ON automatically linking with FRONT DEF button when A/C is OFF. Normal / Link
    Air Inlet (PSW /LOCK) operation Link Function to change mode automatically to OUTSIDE AIR mode from RECIRCULATED mode linking with A/C button in case of A/C breakdown, etc. Normal / Link
    Emission Gas Sensor Shift Normal Function to change sensitivity of exhaust gas sensor. Much More / More / Little More / Normal / Little Less / Less / Much Less
    Foot Air Out Operation ON Function to turn air flow from lap-jet ON automatically when retractable hard top is housed OFF / ON
    Foot/DEF Auto Mode ON Function to turn air flow from FOOT / DEF ON automatically when AUTO MODE is ON OFF / ON
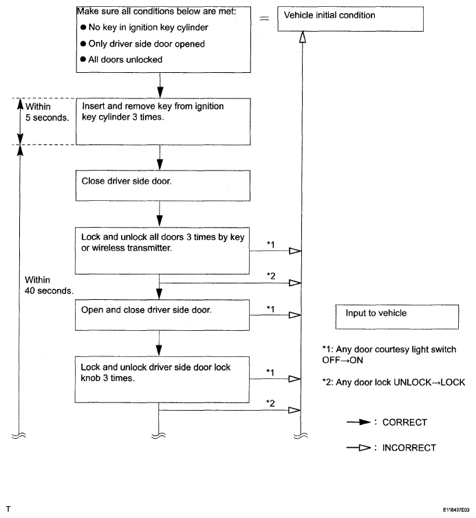
  3. THEFT DETERRENT SYSTEM 
    1. Selecting passive mode with Techstream.

      Security 

      THEFT DETERRENT SYSTEM - CUSTOMIZE PARAMETERS

      Display (Item) Default Contents Setting
      Passive Mode (Security System) OFF PASSIVE MODE is a function that switches theft deterrent system from arming preparation state to arming state 30 seconds after key is removed from ignition key cylinder and driver side door is closed, even if doors are not locked by wireless or door key lock operation In PASSIVE MODE, theft deterrent system will judge that a theft is taking place and switch to alarm sounding state if one of the following operations are not performed within 14 seconds (see ENTRY DELAY below) after door is opened:
      • Unlock any door by key or wireless operation
      • Reconnect battery
      • Insert key into ignition key cylinder and turn ignition switch from OFF to ON
      ON / OFF
      Warning by Horn ON Function that allows vehicle horn and security horn to be able to be used as warning device ON / OFF
      Entry Delay Time 14 s Function that changes entry delay time (time before warning starts) for PASSIVE MODE 0 s/14 s/30 s
    2. Selecting passive mode without Techstream.
      Fig 1: Flow Chart For Selecting Passive Mode Without Intelligent Tester (1 Of 3)
      G05292449Courtesy of © TOYOTA, LICENSE AGREEMENT TMS1002
      Fig 2: Flow Chart For Selecting Passive Mode Without Intelligent Tester (2 Of 3)
      G05292450Courtesy of © TOYOTA, LICENSE AGREEMENT TMS1002
      Fig 3: Flow Chart For Selecting Passive Mode Without Intelligent Tester (3 Of 3)
      G05292451Courtesy of © TOYOTA, LICENSE AGREEMENT TMS1002

      HINT:

      1. Initial mode is PASSIVE MODE OFF.
      2. If the ignition switch is turned ON, the changing operation will be cancelled.
      3. *:Entry delay time
  4. LIGHTING SYSTEM 

    Illuminated Entry 

    ILLUMINATED ENTRY

    Display Default Contents Setting
    Lighting Time 15 sec. To change the lighting time after closing the door.
    (It will quickly fade out in case of turning the ignition switch ON)
    7.5 sec. / 15 sec. / 30 sec.
    Illumination System with ACC OFF Available Function to light the interior light when the ignition switch is operated from ON to OFF Available / Not Available

    HINT:

    Sensitivity adjustment can hardly be confirmed. Check by driving customer's vehicle.

    Light Control 

    LIGHT CONTROL

    Display Default Contents Setting
    Sensitivity NORMAL To adjust the sensitivity of the lighting illumination. *1 LIGHT2 / LIGHT1 / NORMAL / DARK1 / DARK2
    Control Type CRNT To change the control logic when the light control switch is AUTO position. Refer to the illustration.*2 CRNT / OLD
    Light Auto OFF Delay 30s Function to keep on lighting the headlight for a certain period of time after closing all the doors with the ignition switch turned from ON to OFF under the condition that the light control switch is at HEAD or AUTO with the headlight ON. OFF / 30s / 60s / 90s
    Disp EX ON Sen NORMAL Change the brightness when lowering lights such as the combination meter indicator light, A/C indicator light, and clock light. Refer to the illustration. *4 LIGHT2 / LIGHT1 / NORMAL / DARK1 / DARK2
    Disp EX OFF Sen NORMAL Change the brightness when lowering lights such as the combination meter indicator light, A/C indicator light, and clock light. Refer to the illustration.*4 LIGHT2 / LIGHT1 / NORMAL / DARK1 / DARK2
    DRL Function ON DRL control ON / OFF

    Illustration *1 

    ILLUSTRATION*1

    Lighting Brightness Dark < - > Bright
    Setting DARK2 DARK1 NORMAL LIGHT1 LIGHT2

    Illustration *2 

    ILLUSTRATION*2

    Display Brightness of the surrounding when lighting Lighting delay Delay of turning light off **2
    OLD Old logic 6 sec. 6 sec. 3 sec.
    CRNT New logic **1 15 sec. 15 sec. 15 sec.

    HINT:

    **1: The new one has the logic to light up two times brighter than the old logic.

    **2: Delay time until the headlight is turned on when it suddenly gets dark.

    Illustration *3 

    ILLUSTRTATION*3

    Brightness of lowering the lights Dark < - > Bright
    Setting DARK2 DARK1 NORMAL LIGHT1 LIGHT2

    Illustration *4 

    ILLUSTRATION*4

    Brightness when cancelling the lowering of the lights Dark < - > Bright
    Setting DARK2 DARK1 NORMAL LIGHT1 LIGHT2
  5. POWER DOOR LOCK CONTROL SYSTEM 

    Theft warning ECU: 

    POWERDOOR LOCK CONTROL SYSTEM - CUSTOMIZE PARAMETERS

    Display (Item) Default Contents Setting
    Unlock Key Twice ON Function that unlocks only driver side door when driver side door key cylinder is turned to unlock once and unlocks all doors when it is turned to unlock twice.
    In OFF setting, turning it once unlocks all doors.
    ON / OFF
    Unlock Park OFF Function that unlocks doors when shift lever is shifted to P position from any position other than P while ignition switch is ON. ON / OFF
    Auto Lock OFF Function that locks doors once when vehicle reaches a certain speed. ON / OFF
    All Unlock / Open-close OFF Function that unlocks all other doors when opening driver side door within 10 seconds after turning the ignition switch OFF from ON ON / OFF
  6. WIRELESS DOOR LOCK CONTROL SYSTEM 

    Wireless door lock control system: 

    WIRELESS DOOR LOCK CONTROL SYSTEM

    Display (Item) Default Contents Setting
    Wireless Opertation SW ON Function that turns wireless door lock function ON / OFF. ON / OFF
    Wireless Buzzer Volume ON Function that turns wireless door lock buzzer volume MAX, MIDI to 3, or MIN. MAX / MIDI / MID2 / MID3 / MIN
    Hazard Answer Back ON When LOCK switch on transmitter is pressed, this function illuminates all hazard warning lights once. When UNLOCK switch is pressed, all hazard warning lights illuminate twice. ON / OFF
    Wireless P/W Down ON When UNLOCK switch on transmitter is held for 2.5 seconds, this function opens all door windows and sliding roof. ON / OFF
    Indicat. Lamp Door ON If door is not completely closed and transmitter LOCK switch is pressed, this function sounds a buzzer for 10 seconds. ON / OFF
    Auto Lock Time Delay 30 s This function controls amount of time from unlocking doors to activation of automatic locking function. 30 s / 60 s
    D Seat 2Oper Unlock D_door When UNLOCK switch is pressed once, this function unlocks only designated door. When unlock switch is pressed again within 3 seconds, all doors unlock. If setting is on ALL, pressing UNLOCK switch once unlocks all doors. ALL / D_door
    Panic Alarm Function ON Function that operates theft deterrent system when transmitter LOCK (PANIC) switch is held for 3 seconds. ON / OFF
  7. KEY REMINDER WARNING SYSTEM 

    Warning 

    KEY REMINDER WARNING SYSTEM - WARNING

    Display Default Contents Setting
    Key Remind Volume LARGE Changes key reminder buzzer's volume LARGE / MEDIUM / SMALL
  8. METER / GAUGE SYSTEM 

    Warning: 

    METER / GAUGE SYSTEM - WARNING

    Display (Item) Default Contents Setting
    Key Remind Volume Large Changes volume of key reminder buzzer Large/Medium/Small
    Key Remind Sound Normal Changes frequency of key reminder buzzer Fast/Normal/Slow
  9. POWER WINDOW CONTROL SYSTEM 
    POWER WINDOW CONTROL SYSTEM

    Display Default Contents Setting
    Door key linked P/W Up ON Function that raises all power windows when, with ignition switch OFF, key is used to hold driver door key cylinder to lock position for more than 1.5 seconds ON / OFF
    Door key linked P/W down ON Function that lowers all power windows when, with ignition switch OFF, key is used to hold driver door key cylinder to unlock position for more than 1.5 seconds ON / OFF