LEMON Manuals: Even more car manuals for everyone: 1960-2025
Home >> Lexus >> 2009 >> LS 460L RWD >> Repair and Diagnosis >> General Information >> Towing >> Introduction >> Repair Instruction >> Initialization
April 5, 2026: LEMON Manuals is launched! Read the announcement.

Repair Instruction: Initialization

Procedures necessary when battery terminal is disconnected/reconnected 

PROCEDURE REFERENCE CHART

Necessary Procedures Procedure Details Effects/Inoperative Functions When Necessary Procedures are not Performed Notes
ECM Register VIN DTC P0630 is output -
Navigation system (for DVD) initialization After turning the engine switch ON (IG), insert the map disc. Navigation system (for DVD) If the map disc is inside when disconnecting the cable from the battery terminal, this procedure is not necessary
Correction of steering angle neutral point Fully turn the steering wheel to the right and left. Parking guidance function -
Rear curtain position reset operation
  1. Turn the engine switch ON (IG).
  2. Push the front or rear switch's rear door sunshade switch twice.
Rear curtain -
Reset power trunk lid system Completely close the luggage compartment door by hand once. Power trunk lid function It is not necessary to perform initialization if the negative (-) battery cable is disconnected while the luggage compartment door is closed.
NOTE: After the engine switch is turned off, the HDD navigation system requires approximately 6 minutes to record various types of memory and settings. As a result, after turning the engine switch off, wait 6 minutes or more before disconnecting the cable from the negative (-) battery terminal.

Procedures necessary when ECU or other parts are replaced 

PROCEDURE REFERENCE CHART

Replacement Part Necessary Procedures Effects/Inoperative Functions When Necessary Procedures are not Performed Notes
ECM Register VIN DTC P0630 is output -
Automatic transmission assembly
  • Set transmission compensation code
  • Learning by driving (Road test)
  • Reset memory
  • Large shift shock
  • Engine overruns
-
  • Valve body assembly
  • Shift solenoid valve SL1, 2, 3, 4, 5
Learning by driving (Road test)
  • Large shift shock
  • Engine overruns
-
TCM
  • Set transmission compensation code
  • Learning by driving (Road test)
  • Large shift shock
  • Engine overruns
-
  • Engine assembly
  • ECM
  • Reset memory
  • Learning by driving (Road test)
  • Large shift shock
  • Engine overruns
-
  • Suspension control ECU
  • Height control sensor
  • Vehicle height offset calibration
  • Registration of vehicle identification information
  • Vehicle height sensor data may be affected due to installation position, or vehicle height recognition may be erroneous
  • DTC B1789 is output
  • Negative effect on the other systems.
  • May also occur when vehicle height is uneven due to deterioration over time
  • Performing work after replacing the suspension control ECU with a normally functioning one from another vehicle may have negative effect on other systems
Tire pressure warning ECU
  1. Register transmitter IDs
  2. Initialize tire pressure warning system
  • When DTC detection conditions of "transmitter ID not received" DTC is met, TPMS indicator blinks for 1 minute, and then illuminates
  • Tire pressure monitoring function
-
Tire pressure warning valve and transmitter
  1. Register transmitter IDs
  2. Initialize tire pressure warning system
  • When DTC detection conditions of "transmitter ID not received" DTC is met, TPMS indicator blinks for 1 minute, and then illuminates
  • Tire pressure monitoring function of replaced wheel
Even if only one wheel is replaced, IDs for all 5 wheels must be registered
Skid control ECU
  • Initialize linear solenoid valve and perform calibration
  • Perform yaw rate and acceleration sensor zero point calibration
  • Brake warning light/yellow (minor malfunction) illumination
  • Brake warning light/red (malfunction)
  • ABS warning light illumination
  • VSC warning display of multi-information display
  • Master warning light illumination
-
Brake actuator
  1. Bleed air
  2. Clear stored value of linear solenoid valve and calibration data
  3. Initialize linear solenoid valve and perform calibration
Brake does not operate properly -
  • Brake pedal stroke sensor
  • Brake pedal
  1. Inspect and adjust brake pedal height
  2. Adjust brake pedal stroke sensor
  3. Clear stored value of linear solenoid valve and calibration data
  4. Initialize linear solenoid valve and perform calibration
  • Brake warning light/yellow (minor malfunction) illumination
  • Brake warning light/red (malfunction)
  • ABS warning light illumination
  • Master warning light illumination
-
Yaw rate and acceleration sensor
  1. Clear zero point calibration data
  2. Perform yaw rate and acceleration sensor zero point calibration
  • Brake warning light/yellow (minor malfunction) illumination
  • Brake warning light/red (malfunction)
  • ABS warning light illumination
  • VSC warning display of multi-information display
  • Master warning light illumination
  • VSC control is prohibited or operation is incorrect
  • VGRS system
-
Electric parking brake ECU
  • Reset memory
  • Acquire tension sensor zero point
Electric parking brake does not operate normally -
Electric parking brake actuator
  • Reset memory
  • Acquire tension sensor zero point
  • Parking brake bedding
  • Electric parking brake does not operate normally
  • Parking brake performance may not be normal
-
  • Rear disc
  • Parking brake shoe
Parking brake bedding Parking brake performance may not be normal -
  • Steering control ECU
  • Steering column
  • Steering intermediate shaft
Actuator angle neutral point calibration and initialization Steering wheel off-center -
Driving support ECU Initialize driving support ECU Systems controlled by driving support ECU do not operate -
Power steering gear assembly
  • Actuator angle neutral point calibration and initialization
  • Rotation angle sensor value initialization
  • Torque sensor zero point calibration
  • VGRS system calibration procedure
  • Steering wheel off-center
  • Difference in amount of steering assist between left and right
-
Power steering ECU
  • Rotation angle sensor value initialization
  • Torque sensor zero point calibration
  • Steering wheel off-center
  • Difference in amount of steering assist between left and right
-
Front seat set (Occupant classification ECU)
  • Perform zero point calibration
  • Registration ECU data
  • Occupant classification system
  • Passenger airbag ON/OFF indicator
  • Airbag system (Front passenger side)
  • Seat belt warning system (Front passenger side)
-
  • ID code box
  • Steering lock ECU
  • ECM
  • Key
  • Certification ECU
Registration
  • Wireless door lock operation
  • Entry operation
  • Engine starting
  • Steering unlock
-
Front millimeter wave radar sensor Adjust front millimeter wave radar sensor DTC C1A11 or C1A14 is output -
Steering angle sensor connector Correction of steering angle neutral point Parking guidance function -
Television camera Television camera optical axis (Camera position setting) Vehicle width extension lines and expected course are deviated -
Parking assist ECU
  • Correction of steering angle neutral point
  • Store left and right maximum steering angle
  • Television camera optical axis (Camera position setting)
  • Vehicle width extension lines and expected course are deviated
  • Parking assist function
-
Mayday ECU
  • Mayday ECU initialization
  • Mayday ECU registration/enrollment
LEXUS link system -
Mayday battery
  • Mayday battery registration
  • Mayday battery confirmation
DTC 6-1 remains output -
Power window regulator motor (All doors) Initialize power window control system
  • AUTO UP/DOWN
  • Jam protection
  • Key-off
When the battery is replaced, it is not necessary to initialize the power window regulator motor
Inner rear view mirror
  • Compass zone setting
  • Compass calibration
Direction is not displayed correctly -
  • Front power seat switch (Seat ECU)
  • Front seat adjuster
  • Position control ECU
  • Rear seat adjuster
Position sensor initialization
  • During manual operation, buzzer sounds
  • Memory function does not operate
  • Interference stop control does not operate normally
  • Linked control does not operate normally
-
  • RR MPX-B1 fuse
  • Luggage closer motor assembly
  • Luggage door closer assembly
Reset power trunk lid system Power trunk lid function -
  • Rear door ECU LH
  • Rear door ECU RH
Rear curtain position reset operation Rear curtain -
  • Sliding roof drive gear (Sliding roof ECU)
  • Sliding roof housing
  • Sliding roof glass
Initialize sliding roof system
  • Auto operation
  • Jam protection function
  • Sliding roof operation after engine switch is turned off
  • Wireless door lock control function
  • Key-linked operation function (Driver's door only)
  • Entry lock switch-linked operation
-
  1. SFI SYSTEM 
    NOTE: The Vehicle Identification Number (VIN) must be input into the replacement ECM.

    HINT:

    The VIN is in the form of a 17-digit alphanumeric vehicle identification number. The Techstream is required to register the VIN.

    1. DESCRIPTION (Using Techstream)
      NOTE: The Vehicle Identification Number (VIN) must be input into the replacement ECM.

      HINT:

      • The VIN is in the form of a 17-digit alphanumeric vehicle identification number. The Techstream is required to register the VIN.
      • This registration article consists of two parts, Read VIN and Write VIN.
      1. Read VIN: Explains the VIN reading process in a flowchart. This process allows the VIN stored in the ECM to be read, in order to confirm that the two VINs, provided with the vehicle and stored in the vehicle's ECM, are the same.
      2. Write VIN: Explains the VIN writing process in a flowchart. This process allows the VIN to be input into the ECM. If the ECM is changed, or the VIN and VIN do not match, the VIN can be registered, or overwritten in the ECM by following this procedure.
        1. READ VIN
          1. Confirm the vehicle VIN.
          2. Connect the Techstream to the DLC3.
          3. Turn the engine switch on (IG).
          4. Turn the Techstream ON.
          5. Enter the following menus: Powertrain/Engine/Utility/VIN/VIN Read.
        2. WRITE VIN
          1. Confirm the vehicle VIN.
          2. Connect the Techstream to the DLC3.
          3. Turn the engine switch on (IG).
          4. Turn the Techstream ON.
          5. Enter the following menus: Powertrain/Engine/Utility/VIN/VIN Write.
  2. AUTOMATIC TRANSMISSION SYSTEM (REGISTRATION) 
    NOTE:
    • When the automatic transmission is replaced, the transmission compensation code must be input into the TCM (Proceed to step  1).

      After the automatic transmission is installed, the Quick Response (QR) code label will be positioned where the code cannot be read. Therefore, before installing the automatic transmission, record the transmission compensation codes or input them into the Techstream.

    • When the TCM is replaced, the existing transmission compensation codes must be input into the new TCM (Proceed to step  2).
    1. SET TRANSMISSION COMPENSATION CODE INTO TCM (step 1)
      NOTE: Transmission compensation codes are unique, 60-digit alphanumeric values printed on the QR label. If an incorrect transmission compensation code is input into the TCM, shift shock may occur.
      1. Record the transmission compensation code specified on the QR label.

        HINT:

        The transmission compensation code is a 60-digit alphanumeric value imprinted on the QR label.

      2. Move the shift lever to the N or P position.
      3. Connect the Techstream to the DLC3.
      4. Turn the engine switch on (IG).
        NOTE: Do not start the engine.
      5. Turn the Techstream on.
      6. Enter the following menus: Powertrain/ECT/Utility/A/T Code Registration.
      7. Select "Set Compensation Code".
      8. Register the compensation code.
      9. Manually input the transmission compensation code.
      10. Check that the compensation code displayed on the screen is correct by comparing it with the 60-digit alphanumeric value on the QR label.
        Fig 1: Identifying Transmission Compensation Code
        G06192680Courtesy of © TOYOTA, LICENSE AGREEMENT TMS1002
        NOTE: If an incorrect transmission compensation code is input into the TCM, shift shock will occur.

        HINT:

        Input alphabetical letters using the Techstream.

      11. Set the compensation code to the TCM.
    2. TRANSFER TRANSMISSION COMPENSATION CODE (step 2)
      NOTE: Transmission compensation codes are unique, 60-digit alphanumeric values printed on the QR label. If an incorrect transmission compensation code is input into the TCM, shift shock may occur.

      HINT:

      The following operation is available for use with TCMs that can transmit the registered transmission compensation code to the Techstream.

      1. Read the transmission compensation code.
        1. Move the shift lever to the N or P position.
        2. Connect the Techstream to the DLC3.
        3. Turn the engine switch on (IG).
          NOTE: Do not start the engine.
        4. Turn the Techstream on.
        5. Enter the following menus: Powertrain/ECT/Utility/A/T Code Registration.
        6. Select "Read Compensation Code".
          NOTE: Do not use the code specified on the transmission QR label even if the transmission compensation code cannot be read using the Techstream. The code printed on an in-service transmission may not match its current characteristics. Replace the TCM with a new one and perform a road test to allow the TCM to learn.
        7. Turn the engine switch off.
        8. Replace the TCM.
      2. Set the transmission compensation code.
        1. Turn the engine switch on (IG).
          NOTE: Do not start the engine.
        2. Turn the Techstream on.
        3. Enter the following menus: Powertrain/ECT/Utility/A/T Code Registration.
        4. Select "Set Compensation Code".
        5. Press "Open".
        6. Select "Open".
        7. Set the compensation code to the TCM.
  3. AUTOMATIC TRANSMISSION SYSTEM (INITIALIZATION) 
    1. PERFORM ROAD TEST TO ALLOW TCM TO LEARN
      CAUTION:
      • Perform the following procedures while strictly observing all traffic laws and speed limits.
      • Do not accelerate or decelerate rapidly.
      1. "Road test" procedure is as follows:
        1. Warm up the engine.
        2. According to the replacement parts, perform the road test shown below.
          ROAD TEST REFERENCE CHART

          Replacement Parts Road Test
          • Automatic transmission assembly (2WD)
          • Automatic transmission/transfer transmission assembly (AWD)
          • TCM
          • Valve body assembly
          • Shift solenoid valve SL3
          • Engine assembly
          • ECM
          Perform pattern 1 and 2
          Pattern 1:*1 
          With shift lever on D, after gradually accelerating to 50 km/h (31 mph) or more, gradually decelerate to approx. 30 km/h (19 mph)
          Pattern 2:*2 
          With shift lever on S4, after gradually accelerating to 30 km/h (19 mph) or more, gradually decelerate to approx. 10 km/h (6 mph)
          • Shift solenoid valve SL1
          • Shift solenoid valve SL2
          • Shift solenoid valve SL4
          • Shift solenoid valve SL5
          Pattern 1:*1 
          With shift lever on D, after gradually accelerating to 50 km/h (31 mph) or more, gradually decelerate to approx. 30 km/h (19 mph)
          HINT:
          • *1: After gradually accelerating a distance of approximately 130 m (426.4 ft.) for a period of approximately 15 seconds, gradually decelerate a distance of approximately 45 m (147.6 ft.) for a period of approximately 5 seconds.
          • *2: After gradually accelerating a distance of approximately 40 m (131.2 ft.) for a period of approximately 8 seconds, gradually decelerate a distance of approximately 20 m (65.6 ft.) for a period of approximately 5 seconds.
          • When decelerating, apply the brakes as necessary to adjust the vehicle speed.
            Fig 2: Road Test Pattern
            G04948275Courtesy of © TOYOTA, LICENSE AGREEMENT TMS1002

            HINT:

            • *1: The speed, time and distance values are approximate values.
            • *2: After accelerating, the deceleration does not need to be performed immediately.
        3. Repeat until the shift shock and engine speed overrun settles down.
          NOTE: Before repeating tests, stop the vehicle once, and then start moving the vehicle again.
    2. RESET MEMORY
      NOTE:
      • Perform the Reset Memory (AT initialization) when replacing the engine assembly or ECM.
      • The Reset Memory can be performed only with the Techstream.
      • Reset Memory cannot be completed by only reconnecting the cable to the negative (-) battery terminal.

      HINT: 

      The TCM memorizes the vehicle conditions when the ECT controls the automatic transmission assembly and engine assembly. 

      1. The "Reset Memory" procedure is as follows:
        1. Turn the engine switch off.
        2. Connect the Techstream to the DLC3.
        3. Turn the engine switch on (IG).
        4. Turn the Techstream on.
        5. Enter the following menus: Powertrain/ECT/Utility/Reset Memory.
          NOTE: After performing the Reset Memory, be sure to perform the ROAD TEST described previously.
  4. AIR SUSPENSION SYSTEM 
    1. DESCRIPTION
      1. If the suspension control ECU is replaced with a new one, enter test mode and perform registration of vehicle identification information.
      2. If replacing the suspension control ECU and/or height control sensor, perform the vehicle height offset calibration.
    2. REGISTRATION OF VEHICLE IDENTIFICATION INFORMATION
      NOTE:
      • The CAN communication system must be functioning normally.
      • Make sure that the ECM and AFS ECU are the correct type, normally functioning and correctly installed.

      HINT:

      Vehicle identification information is obtained automatically through CAN communication when in test mode.

      1. Turn the engine switch off.
      2. Connect the Techstream to the DLC3.
      3. Turn the engine switch on (IG).
      4. Turn the Techstream on.
      5. Enter the following menus: Chassis/Air suspension/Utility/Signal Check.
      6. Confirm that the system is in test mode by checking that the "SPORT" indicator light in the combination meter blinks at 0.125 second intervals (0.125 seconds on and 0.125 seconds off).

        HINT:

        • When the vehicle identification information is stored, the "SPORT" indicator light blinks at 0.125 second intervals (0.125 seconds on and 0.125 seconds off).
        • When vehicle identification information is not stored, the "SPORT" indicator light blinks at 1 second intervals (1 second on and 1 second off).
  5. VEHICLE HEIGHT OFFSET CALIBRATION 
    NOTE:
    • Make sure that the pressure of the tires is normal.
    • Make sure that the vehicle is empty.
    • Make sure that the parking brake is released and that the shift lever is on N.
      Fig 3: SPORT Indicator Light Blinking Pattern For Vehicle Identification Information
      G06192682Courtesy of © TOYOTA, LICENSE AGREEMENT TMS1002
    1. PERFORM VEHICLE HEIGHT INSPECTION 
      1. Adjust the pressure of the tires.
      2. Stabilize the suspension by releasing the parking brake and bouncing the corners of the vehicle up and down.
      3. Turn the engine switch off.
      4. Connect the Techstream to the DLC3.
      5. Start the engine and the Techstream on.
      6. Enter the following menus: Chassis/Air suspension/Data List.
      7. Press the height control switch and adjust the vehicle height to "HEIGHT HIGH".
      8. Press the height control switch and return the vehicle height to normal.
      9. Using the Data List, confirm that the vehicle height control operation is complete.

        Air suspension 

        AIR SUSPENSION DATA LIST

        Tester Display Measurement Item/Range Normal Condition Diagnosis Note
        Height Control Vehicle height control condition reading/ON or OFF ON: Vehicle height control operating
        OFF: Vehicle height control not operating
        -
      10. Turn the engine switch off.
      11. Move the shift lever to N and move the vehicle forward and rearward.
      12. Turn the engine switch on (IG).
      13. Using the Techstream

        Enter the following menus: Chassis/Air suspension/Data List. Then read and write the values for "After Height Adjust" and "Height Adjust" for each wheel.

        Air suspension 

        AIR SUSPENSION DATA LIST

        Tester Display Measurement Item/Range Normal Condition Diagnosis Note
        FR Height Adjust Display of vehicle height offset recorded value of front right wheel/
        min.: -3276.8 mm (-129 in.)
        max.: 3276.7 mm (129 in.)
        - -
        FL Height Adjust Display of vehicle height offset recorded value of front left wheel/
        min.: -3276.8 mm (-129 in.)
        max.: 3276.7 mm (129 in.)
        - -
        RR Height Adjust Display of vehicle height offset recorded value of rear right wheel/
        min.: -3276.8 mm (-129 in.)
        max.: 3276.7 mm (129 in.)
        - -
        RL Height Adjust Display of vehicle height offset recorded value of rear left wheel/
        min.: -3276.8 mm (-129 in.)
        max.: 3276.7 mm (129 in.)
        - -
        FR After Height Adjust Display of after-calibration vehicle height value of front right wheel/
        min.: -3276.8 mm (-129 in.)
        max.: 3276.7 mm (129 in.)
        When vehicle height normal: 0 +/-20 mm (0 +/-0.79 in.)
        When vehicle height is changing: Varies based on vehicle height
        After HEIGHT HIGH adjustment: 20 +/- 20 mm (0.79 +/- 0.79 in.)
        -
        FL After Height Adjust Display of after-calibration vehicle height value of front left wheel/
        min.: -3276.8 mm (-129 in.)
        max.: 3276.7 mm (129 in.)
        When vehicle height normal: 0 +/-20 mm (0 +/-0.79 in.)
        When vehicle height is changing: Varies based on vehicle height
        After HEIGHT HIGH adjustment: 20 +/- 20 mm (0.79 +/- 0.79 in.)
        -
        RR After Height Adjust Display of after-calibration vehicle height value of rear right wheel/
        min.: -3276.8 mm (-129 in.)
        max.: 3276.7 mm (129 in.)
        When vehicle height normal: 0 +/-20 mm (0 +/-0.79 in.)
        When vehicle height is changing: Varies based on vehicle height
        After HEIGHT HIGH adjustment: 20 +/- 20 mm (0.79 +/- 0.79 in.)
        -
        RL After Height Adjust Display of after-calibration vehicle height value of rear left wheel/
        min.: -3276.8 mm (-129 in.)
        max.: 3276.7 mm (129 in.)
        When vehicle height normal: 0 +/-20 mm (0 +/-0.79 in.)
        When vehicle height is changing: Varies based on vehicle height
        After HEIGHT HIGH adjustment: 20 +/- 20 mm (0.79 +/- 0.79 in.)
        -
      14. Turn the engine switch off.
      15. Perform the vehicle height inspection.
        1. for 2WD:

          Standard vehicle height 

          STANDARD VEHICLE HEIGHT

          Front (Measured height A minus B) Rear (Measured height D minus C)
          98 mm (3.86 in.) 93 mm (3.66 in.)

          Measuring points: 

          A: Ground clearance of front wheel center 

          B: Ground clearance of front suspension lower No. 2 arm assembly front bush installation bolt head rear 

          C: Ground clearance of protrusion of rear suspension arm attachment (lower No. 2 installation cam bolt) 

          D: Ground clearance of rear wheel center 

          Fig 4: Identifying Vehicle Height Measurement Points (2WD)
          G04944111Courtesy of © TOYOTA, LICENSE AGREEMENT TMS1002
        2. for AWD:
          1. Bounce the vehicle at the corners up and down to stabilize the suspension and inspect the vehicle height.

            Standard vehicle height 

            STANDARD VEHICLE HEIGHT

            Front (Measured height A minus B) Rear (Measured height D minus C)
            146 mm (5.75 in.) 83 mm (3.27 in.)

            Measuring points: 

            A: Ground clearance of front wheel center 

            B: Ground clearance of head center of bolt used to install the front No. 1 suspension lower arm to the front suspension member 

            C: Ground clearance of rear wheel center 

            D: Ground clearance of pit center of the attachment rear suspension arm 

            NOTE: Before inspecting the wheel alignment, adjust the vehicle height to the specified value.

            If the vehicle height is not as specified, adjust the height by pressing down on the vehicle several times to stabilize the suspension.

            Fig 5: Identifying Vehicle Height Measurement Points (AWD)
            G05773700Courtesy of © TOYOTA, LICENSE AGREEMENT TMS1002
    2. PERFORM VEHICLE HEIGHT OFFSET CALIBRATION 
      NOTE: The possible vehicle height automatic adjustment value is 20 mm (0.78 in.). If the "Height Adjust" value + (Standard value - Measurement value - "After Height Adjust" value) is 20 mm (0.78 in.) or more, first perform the vehicle height adjustment (height control link adjustment).
      1. Turn the engine switch off.
      2. Connect the Techstream to the DLC3.
      3. Turn the engine switch on (IG).
      4. Turn the Techstream on.
      5. Enter the following menus: Chassis/Air suspension/Utility/Height Offset.
      6. For each wheel, follow the instructions on the Techstream screen and input the input value to complete the vehicle height offset calibration.

        HINT:

        Input value = Measurement value

      7. Start the engine.
      8. In the Data List, enter "Height Control".
      9. Press the height control switch and adjust the vehicle height to "HEIGHT HIGH".
      10. Press the height control switch and return the vehicle height to normal.
      11. Using the Data List, confirm that the vehicle height control operation is complete.

        Air suspension 

        AIR SUSPENSION DATA LIST

        Tester Display Measurement Item/Range Normal Condition Diagnosis Note
        Height Control Vehicle height control condition reading/ON or OFF ON: Vehicle height control operating
        OFF: Vehicle height control not operating
        -
      12. Turn the engine switch off.
      13. Perform the vehicle height inspection. Check that the result is within +/-14.3 mm (+/-0.56 in.) of the standard value.

        NEXT: END 

  6. TIRE PRESSURE WARNING SYSTEM (REGISTRATION) 
    1. DESCRIPTION OF CODE REGISTRATION

      It is necessary to register the transmitter ID in the tire pressure warning ECU when replacing the tire pressure warning valve and transmitter and/or tire pressure warning ECU.

      Prepare all transmitter ID data before starting registration.

      1. Before registration
        1. In case of tire pressure warning ECU replacement.
          1. Read the registered transmitter IDs that are stored in the old ECU using the Techstream and note them down.
          2. If reading stored transmitter IDs is impossible due to malfunctions of components such as the tire pressure warning antenna and receiver, remove the tires from the wheels and check the IDs located on the tire pressure warning valves and transmitters.
        2. In case of tire pressure warning valve and transmitter replacement.
          1. Take a note of the 7 digit number (transmitter ID) written on the tire pressure warning valve and transmitter.
            Fig 6: Identifying 7 Digit Number (Transmitter ID) On Tire Pressure Warning Valve And Transmitter
            G04944270Courtesy of © TOYOTA, LICENSE AGREEMENT TMS1002
            NOTE: The transmitter ID is written on the tire pressure warning valve and transmitter. It will be unable to be read after installing the tire pressure warning valve and transmitter on the tire and wheel. Therefore, take a note of the transmitter ID before installing the tire pressure warning valve and transmitter.
          2. REGISTER TRANSMITTER ID
            1. Set the air pressure of all wheels to the specified value.
            2. Turn the engine switch OFF.
            3. Connect the Techstream to the DLC3.
            4. Turn the engine switch ON (IG) and the tester ON.
            5. Enter the menu items in this order: Chassis/Tire Pressure Monitor/Utility/ID Registration/
            6. Perform the procedures displayed on the Techstream.
            7. "UTILITY REGIST TIRE SET" screen is displayed. Then, press "YES".
            8. "UTILITY REGIST TIRE SET" screen is displayed. Then, press "ENTER".
            9. Confirmation of transmitter ID registration.
              1. Enter the menu items in this order:

                DIAGNOSIS/OBD/MOBD/CHASSIS/TIRE PRESSURE/DATA LIST.

              2. Read the "TIRE PRESS" values.
                NOTE:
                • It may take up to about 2 or 3 minutes to update the tire pressure data. If the values are not displayed after a few minutes, perform troubleshooting according to the inspection procedure for DTCs C2121/21 to C2125/25.
                • If the IDs have not been registered, DTC C2171/71 is set in the tire pressure warning ECU after 3 minutes or more.
                • If normal pressure values are displayed, the IDs have been registered correctly.
                • If the tire pressure values are not displayed after a few minutes, the IDs may be incorrect or the system may have a malfunction.
                • The tire pressure information reception condition can also be confirmed through the multi-information display's tire pressure display screen.
                • After all IDs are registered, DTC C2126/26 is set in the tire pressure warning ECU and the tire pressure warning light blinks for 1 minute and then comes on. When the tire pressure warning ECU successfully receives radio waves from all the transmitters whose IDs are stored in the ECU, DTC C2126/26 is deleted and the tire pressure warning light goes off.
  7. TIRE PRESSURE WARNING SYSTEM (INITIALIZATION) 
    1. INITIALIZATION PROCEDURE
      1. Turn the engine switch on (IG).
      2. Press and hold the tire pressure warning reset switch for 3 seconds or more so that the tire pressure warning light blinks 3 times.
        Fig 7: Identifying Tire Pressure Warning Light With Output Pattern
        G04944280Courtesy of © TOYOTA, LICENSE AGREEMENT TMS1002
      3. Turn the engine switch off.
      4. Connect the Techstream to the DLC3.
      5. Turn the engine switch on (IG) and the Techstream on.
      6. Turn the engine switch on (IG) and the Techstream on.
      7. Check that the initialization has been completed.
      8. Confirm that the tire pressure data of all tires is displayed on the Techstream screen.
        NOTE:
        • The initialization is normally completed within 2 to 3 minutes.
        • If the initialization has not been completed successfully, DTC C2177/77 is set after a vehicle speed of 8 km/h (5 mph) or more continues for 20 minutes or more.
        • While in test mode, the system will not change to initialization mode even if the tire pressure warning reset switch is pushed.
        • The initialization can be terminated by connecting terminals 13 (TC) and 4 (CG) of the DLC3.
          Fig 8: Identifying Terminals TC And CG Of DLC3 Connector
          G04944121Courtesy of © TOYOTA, LICENSE AGREEMENT TMS1002

        Tire Pressure Monitor 

        TIRE PRESSURE MONITOR DATA LIST

        Tester Display Measurement Item/Range Normal Condition Diagnostic Note
        ID1 Tire Inflation Pressure ID1 tire inflation pressure/
        min.: Absolute pressure/0 kPa (0 kgf/cm2 , 0 psi), Relative pressure/-100 kPa (-1 kgf/cm2 , -14 psi)
        max.: Absolute pressure/637.5 kPa (6.5 kgf/cm2 , 92 psi), Relative pressure/537.5 kPa (5.4 kgf/cm2 , 78 psi)
        Actual tire inflation pressure If 0 kPa (0 kgf/cm2 , 0 psi) is displayed for absolute pressure or -100 kPa (-1 kgf/cm2 , -14 psi) is displayed for relative pressure, data has not been received.*
        ID2 Tire Inflation Pressure ID2 tire inflation pressure/
        min.: Absolute pressure/0 kPa (0 kgf/cm2 ,0 psi), Relative pressure/-100 kPa (-1 kgf/cm2 , -14 psi)
        max.: Absolute pressure/637.5 kPa (6.5 kgf/cm2 , 92 psi), Relative pressure/537.5 kPa (5.4 kgf/cm2 , 78 psi)
        Actual tire inflation pressure If 0 kPa (0 kgf/cm2 , 0 psi) is displayed for absolute pressure or -100 kPa (-1 kgf/cm2 , -14 psi) is displayed for relative pressure, data has not been received.*
        ID3 Tire Inflation Pressure ID3 tire inflation pressure/
        min.: Absolute pressure/0 kPa (0 kgf/cm2 , 0 psi), Relative pressure/-100 kPa (-1 kgf/cm2 , -14 psi)
        max.: Absolute pressure/637.5 kPa (6.5 kgf/cm2 , 92 psi), Relative pressure/537.5 kPa (5.4 kgf/cm2 , 78 psi)
        Actual tire inflation pressure If 0 kPa (0 kgf/cm2 , 0 psi) is displayed for absolute pressure or -100 kPa (-1 kgf/cm2 , -14 psi) is displayed for relative pressure, data has not been received.*
        ID4 Tire Inflation Pressure ID4 tire inflation pressure/
        min.: Absolute pressure/0 kPa (0 kgf/cm2 , 0 psi), Relative pressure/-100 kPa (-1 kgf/cm2 , -14 psi)
        max.: Absolute pressure/637.5 kPa (6.5 kgf/cm2 , 92 psi), Relative pressure/537.5 kPa (5.4 kgf/cm2 , 78 psi)
        Actual tire inflation pressure If 0 kPa (0 kgf/cm2 , 0 psi) is displayed for absolute pressure or -100 kPa (-1 kgf/cm2 , -14 psi) is displayed for relative pressure, data has not been received.*
        ID5 Tire Inflation Pressure ID5 tire inflation pressure/
        min.: Absolute pressure/0 kPa (0 kgf/cm2 ,0 psi), Relative pressure/-100 kPa (-1 kgf/cm2 , -14 psi)
        max.: Absolute pressure/637.5 kPa (6.5 kgf/cm2 , 92 psi), Relative pressure/537.5 kPa (5.4 kgf/cm2 , 78 psi)
        Actual tire inflation pressure If 0 kPa (0 kgf/cm2 , 0 psi) is displayed for absolute pressure or -100 kPa (-1 kgf/cm2 , -14 psi) is displayed for relative pressure, data has not been received.*
        HINT:
        • The initialization is complete when the Data List "ID Tire Inflation Pressure" display shows the correct pressures.
        • *: It may take about 2 or 3 minutes until the values are displayed. If the values are not displayed after a few minutes, perform troubleshooting according to the inspection procedure for DTCs C2121/21 to C2125/25.
    2. INITIALIZATION PROCEDURE (MULTI-INFORMATION DISPLAY)
      1. Turn the engine switch on (IG).
      2. Press and hold the tire pressure warning reset switch for 3 seconds or more so that the tire pressure warning light blinks 3 times.
        Fig 9: Identifying Tire Pressure Warning Light With Output Pattern
        G04944280Courtesy of © TOYOTA, LICENSE AGREEMENT TMS1002

        HINT:

        • The initialization can be confirmed through the multi-information display.
          Fig 10: Multi-Information Display Screen Flow For Initialization
          G05781882Courtesy of © TOYOTA, LICENSE AGREEMENT TMS1002
        • The order in which the data is received is random.
        • If the signals from all the wheels are received, the initialization is complete.
        • It may take about 2 or 3 minutes until the values are displayed. If the values are not displayed after a few minutes, perform troubleshooting according to the inspection procedure for DTCs C2121/21 to C2125/25.
          NOTE:
          • If the initialization has not been completed successfully, DTC C2177/77 is set after a vehicle speed of 8 km/h (5 mph) or more continues for 20 minutes or more.
          • The initialization can be terminated by connecting terminals 13 (TC) and 4 (CG) of the DLC3.
  8. ELECTRONICALLY CONTROLLED BREAK SYSTEM (INITIALIZATION) 
    1. DESCRIPTION
      1. Perform initialization of linear solenoid valve and calibration when the skid control ECU, brake actuator or brake pedal stroke sensor is replaced.

        Follow the procedure to perform initialization.

        Fig 11: Identifying Terminals TC And CG Of DLC3 Connector
        G04944121Courtesy of © TOYOTA, LICENSE AGREEMENT TMS1002

        HINT:

        • If there is a problem with battery (12 V) voltage, initialization of linear solenoid valve and calibration cannot be completed normally. Check the battery voltage before performing initialization of linear solenoid valve and calibration.
        • If the actuator's temperature is high, initialization of linear solenoid valve and calibration may not be completed normally. If so, wait until the temperature drops and then perform initialization of linear solenoid valve and calibration.
        • If the engine switch is turned off, the brake pedal is operated or the vehicle speed is input while the linear solenoid valve offset learning is being performed, the learning will be canceled.
          REPLACEMENT PARTS LIST

          Replacement Parts Necessary Operation
          Skid control ECU Initialization of linear solenoid valve and calibration
          Brake actuator
          1. Bleed air
          2. Clearing stored value of linear solenoid valve and calibration data
          3. Initialization of linear solenoid valve and calibration
          • Brake pedal stroke sensor
          • Brake pedal
          1. Inspection and adjustment of brake pedal height
          2. Clearing stored value of linear solenoid valve and calibration data
          3. Initialization of linear solenoid valve and calibration
    2. CLEAR STORED VALUE OF INITIALIZATION OF LINEAR SOLENOID VALVE AND CALIBRATION (WHEN USING TECHSTREAM)
      1. Connect the Techstream to the DLC3.
      2. Move the shift lever to the P position.
      3. Turn the engine switch on (IG) with the brake pedal released.
      4. Clear the stored value of initialization of linear solenoid valve and calibration following the screen.

        HINT:

        Refer to the Techstream operator's manual for further details.

    3. CLEAR STORED VALUE OF INITIALIZATION OF LINEAR SOLENOID VALVE AND CALIBRATION (WHEN USING the Techstream)
      1. Connect the Techstream to the DLC3.
      2. Move the shift lever to the P position.
      3. Turn the engine switch ON (IG) with the brake pedal released.
      4. Clear the stored value of initialization of linear solenoid valve and calibration following the screen.

        HINT:

        Refer to the Techstream operator's manual for further details.

    4. PERFORM INITIALIZATION OF LINEAR SOLENOID VALVE AND CALIBRATION (WHEN USING the Techstream)
      1. Connect the Techstream (with CAN VIM) to the DLC3.
      2. Move the shift lever to the P position.
      3. Turn the engine switch ON (IG) with the brake pedal released.
        NOTE:
        • If the linear solenoid valve offset learning is performed without turning the engine switch on (IG), the learning process may not be completed properly because of insufficient battery voltage.
        • When the linear solenoid valve offset learning is interrupted, or the learning process is performed with the shift lever not in the P position, DTC C1345/66 will be stored.
      4. Set the Techstream to Test Mode (select "ABS/VSC/TRAC", "Utility").

        HINT:

        Refer to the Techstream operator's manual for further details.

      5. Leave the vehicle stationary without depressing the brake pedal for 1 or 2 minutes.
      6. Check that the interval between blinks of the brake warning light/yellow (minor malfunction) changes from 1 second to 0.25 second.

        HINT:

        • The time needed to complete initialization of linear solenoid valve and calibration varies depending on battery voltage.
        • The brake warning light/yellow (minor malfunction) blinks at 1 second intervals during the initialization of linear solenoid valve and calibration. After it is complete, the brake warning light/yellow (minor malfunction) changes to the Test Mode display, and blinks at 0.25 second intervals.
          Fig 12: Brake Warning Light Blinking Pattern
          G04949562Courtesy of © TOYOTA, LICENSE AGREEMENT TMS1002
      7. When the brake warning light/yellow (minor malfunction) changes to the Test Mode display, check that DTC C1345/66, which indicates trouble with stroke sensor zero point learning, is not output.
      8. Enter the normal mode from the Test Mode following the Techstream prompts.

        HINT:

        Refer to the Techstream operator's manual for further details.

    5. CLEAR STORED VALUE OF INITIALIZATION OF LINEAR SOLENOID VALVE AND CALIBRATION (WHEN USING SST CHECK WIRE)
      1. Move the shift lever to the P position.
      2. Turn the engine switch ON (IG) with the brake pedal released.
      3. Using SST, connect and disconnect terminals 12 (TS) and 4 (CG) of the DLC3 4 times or more within 8 seconds.

        SST 09843-18040 

        Fig 13: Identifying Terminals 12 (TS) And 4 (CG) Of DLC3
        G04944107Courtesy of © TOYOTA, LICENSE AGREEMENT TMS1002
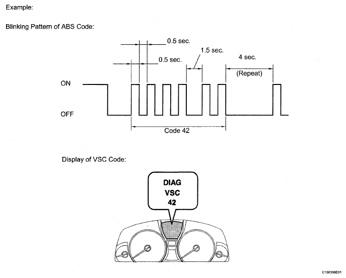
      4. Check that no codes other than ABS code 42, VSC code 45 and electronically controlled brake system code 48, 66, or 95 are stored in the diagnostic system.
        Fig 14: Blinking Pattern Of ABS Code With Display Of VSC Code
        G04949564Courtesy of © TOYOTA, LICENSE AGREEMENT TMS1002

        HINT:

        The ABS warning light and multi-information display do not indicate the normal system code.

    6. PERFORM INITIALIZATION OF LINEAR SOLENOID VALVE AND CALIBRATION (WHEN USING SST CHECK WIRE)
      1. Turn the engine switch OFF.
      2. Using SST, connect terminals 12 (TS) and 4 (CG) of the DLC3.

        SST 09843-18040 

      3. Move the shift lever to the P position.
      4. Turn the engine switch ON (IG) with the brake pedal released.
        NOTE:
        • If the linear solenoid valve offset learning is performed without turning the engine switch on (IG), the learning process may not be completed properly because of insufficient battery voltage.
        • When the linear solenoid valve offset learning is interrupted, or the learning process is performed with the shift lever not in the P position, DTC C1345/66 will be stored.
          Fig 15: Identifying CG And TS Terminals Of DLC3 Connector
          G04944107Courtesy of © TOYOTA, LICENSE AGREEMENT TMS1002
      5. Leave the vehicle stationary without depressing the brake pedal for 1 or 2 minutes.
      6. Check that the interval between blinks of the brake warning light/yellow (minor malfunction) changes from 1 second to 0.25 seconds.

        HINT:

        • The time needed to complete initialization of linear solenoid valve and calibration varies depending on the battery voltage.
        • The brake warning light/yellow (minor malfunction) blinks at 1 second intervals during the initialization of linear solenoid valve and calibration. After it is complete, the brake warning light/yellow (minor malfunction) changes to the Test Mode display, and blinks at 0.25 second intervals.
          Fig 16: Brake Warning Light Blinking Pattern
          G04949562Courtesy of © TOYOTA, LICENSE AGREEMENT TMS1002
      7. When the brake warning light/yellow (minor malfunction) changes to the Test Mode display, check that DTC C1345/66, which indicates trouble with stroke sensor zero point learning, is not output.
      8. Turn the engine switch off and disconnect SST from the DLC3.
  9. ELECTRONICALLY CONTROLLED BREAK SYSTEM (CALIBRATION) 
    1. DESCRIPTION

      After replacing the VSC relevant components or performing "Front wheel alignment adjustment", clear and read the sensor calibration data. Follow the procedure to perform calibration.

      REPLACEMENT/ADJUSTMENT PARTS LIST

      Replacement/Adjustment Parts Necessary Operation
      Skid control ECU Yaw rate and acceleration sensor zero point calibration.
      Yaw rate and acceleration sensor
      1. Clearing zero point calibration data.
      2. Yaw rate and acceleration sensor zero point calibration.
      Front wheel alignment
      1. Clearing zero point calibration data.
      2. Yaw rate and acceleration sensor zero point calibration.
    2. CLEAR ZERO POINT CALIBRATION (WHEN USING TECHSTREAM)
      1. Connect the Techstream to the DLC3.
      2. Turn the engine switch on (IG).
      3. Operate the Techstream to erase the codes (select "Reset Memory").

        HINT:

        Refer to the Techstream operator's manual for further details.

    3. CLEAR ZERO POINT CALIBRATION (WHEN USING TECHSTREAM)
      1. Connect the Techstream to the DLC3.
      2. Turn the engine switch on (IG).
      3. Operate the Techstream to erase the codes (select "Reset Memory").

        HINT:

        Refer to the Techstream operator's manual for further details.

    4. PERFORM ZERO POINT CALIBRATION OF YAW RATE AND ACCELERATION SENSOR (WHEN USING TECHSTREAM)
      NOTE:
      • While obtaining the zero point, do not vibrate the vehicle by tilting, moving or shaking it. Keep it in a stationary condition and do not start the engine.
      • Choose a level surface with an inclination of less than 1°.
      1. Procedures for Test Mode.
        1. Ensure that the steering wheel is centered, move the shift lever to the P position, and apply the parking brake.
          NOTE: DTC C1210/36 and C1336/98 will be recorded if the shift lever is not in the P position.
        2. Connect the Techstream to the DLC3.
      2. Turn the engine switch on (IG).
      3. Set the Techstream to Test Mode (select "Test Mode").

        HINT:

        Refer to the Techstream operator's manual for further details.

      4. Obtain the zero point of the yaw rate and acceleration sensor.
        1. Keep the vehicle stationary on a level surface for 4 seconds or longer.
          Fig 17: Identifying DLC3 Connector Location
          G04949567Courtesy of © TOYOTA, LICENSE AGREEMENT TMS1002
        2. Check that the ABS warning light and brake warning light/yellow (minor malfunction) blink and "VSC TEST" is indicated on the multi-information display (Test Mode).

          HINT:

          • If the ABS warning light and brake warning light/yellow (minor malfunction) do not blink and "VSC TEST" is not indicated on the multi-information display, perform zero point calibration again.
          • The zero point calibration is performed only once after the system enters the Test Mode.
          • Calibration cannot be performed again until the stored data is cleared.
      5. Turn the engine switch off and disconnect the Techstream.
        Fig 18: ABS Warning Light And Brake Warning Light Blinking Pattern
        G04949568Courtesy of © TOYOTA, LICENSE AGREEMENT TMS1002
    5. CLEAR ZERO POINT CALIBRATION (WHEN USING SST CHECK WIRE)
      1. Turn the engine switch on (IG).
      2. Using SST, connect and disconnect terminals 12 (TS) and 4 (CG) of the DLC3 4 times or more within 8 seconds.

        SST 09843-18040 

        Fig 19: Identifying Terminals TS And CG Of DLC3
        G04949563Courtesy of © TOYOTA, LICENSE AGREEMENT TMS1002
      3. Check that no codes other than ABS code 42, VSC code 45 and electronically controlled brake system code 48, 66, or 95 are stored in the diagnostic system.
        Fig 20: Blinking Pattern Of ABS Code With Display Of VSC Code
        G04949564Courtesy of © TOYOTA, LICENSE AGREEMENT TMS1002

        HINT:

        The ABS warning light and multi-information display do not indicate the normal system code.

    6. PERFORM ZERO POINT CALIBRATION OF YAW RATE AND ACCELERATION SENSOR (WHEN USING SST CHECK WIRE)
      NOTE:
      • While obtaining the zero point, do not vibrate the vehicle by tilting, moving or shaking. Keep it in a stationary condition and do not start the engine.
      • Choose a level surface with an inclination of less than 1°.
      1. Procedures for Test Mode.

        SST 09843-18040 

        1. Turn the engine switch off.
        2. Using SST, connect terminals 12 (TS) and 4 (CG) of the DLC3.
        3. Check that the steering wheel is in the centered position and move the shift lever to the P position.
          NOTE: DTC C1210/36 and C1336/98 will be recorded if the shift lever is not in the P position.
          Fig 21: Identifying Terminals TS And CG Of DLC3
          G04949563Courtesy of © TOYOTA, LICENSE AGREEMENT TMS1002
      2. Obtain the zero point of the yaw rate and acceleration sensor.
        1. Turn the engine switch on (IG).
        2. Keep the vehicle in a stationary condition on a level surface for 4 seconds or more.
        3. Check that the ABS warning light and brake warning light/yellow (minor malfunction) blink and "VSC TEST" is indicated on the multi-information display (Test Mode).

          HINT:

          • If the ABS warning light and brake warning light/yellow (minor malfunction) do not blink and "VSC TEST" is not indicated on the multi-information display, perform zero point calibration again.
          • The zero point calibration is performed only once after the system enters the Test Mode.
          • Calibration cannot be performed again until the stored data is cleared.
  10. BRAKE FLUID 
    CAUTION: The Techstream must be used with air bleeding and fluid replacement. If not used, the air bleeding and fluid replacement will be incomplete, which is hazardous and may lead to an accident.
    Fig 22: ABS Warning Light And Brake Warning Light Blinking Pattern
    G04949568Courtesy of © TOYOTA, LICENSE AGREEMENT TMS1002
    NOTE:
    • When replacing the brake fluid, replace the front and rear brake fluid as a set.
    • Perform fluid replacement with the shift lever on P and the parking brake set.
    • Perform fluid replacement while maintaining the brake fluid level between the MIN/MAX level on the brake fluid reservoir.
    • As brake fluid may overflow when bleeding air, do not place the fluid can on the reservoir filler opening.
    • Air bleeding will be difficult if the following occurs: 1) the brake fluid reservoir's No. 2 brake actuator hose (the hose between the brake accumulator pump and brake fluid reservoir) is lowered into the fluid and air enters the hose; and 2) during the fluid replacement procedure, air enters the brake accumulator pump while operating the pump motor.
    • While performing fluid replacement, the accumulator pressure drop may cause a buzzer to sound. As there is no problem, continue with the fluid replacement.
    • During fluid replacement, DTCs for pressure sensor malfunctions, etc. may be stored. After fluid replacement and if instructed in the procedures, clear the DTCs.
    • Do not allow brake fluid to contact the vehicle's paint surfaces. If contact occurs, clean it off immediately.

    HINT:

    • For air bleeding, refer to the PRECAUTION .
    • Air bleeding with the Techstream cannot be performed when the engine switch is on (IG) or when the parking brake is not operating (electric parking brake operation signal is not input into skid control ECU).
    • While performing air bleeding, a display and navigation assembly (with HDD navigation system) or multi-display (without HDD navigation system) malfunction warning is displayed. However, there is no malfunction. After performing air bleeding, erase the warning using the screen's menus.
    1. FILL RESERVOIR WITH BRAKE FLUID
      NOTE:
      • As brake fluid may overflow when bleeding air, do not place the fluid can on the reservoir filler opening.
      • If brake fluid leaks onto any painted surface, clean it off completely.
    2. FILL RESERVOIR WITH BRAKE FLUID
      1. Add brake fluid into the reservoir.

        Fluid: 

        SAE J1703 or FMVSS No. 116 DOT 3 

    3. REPLACE BRAKE FLUID
      CAUTION: The Techstream must be used during fluid replacement. If not used, the fluid replacement will be incomplete, which is hazardous and may lead to an accident.
      Fig 23: Adding Brake Fluid Into Reservoir
      G04949821Courtesy of © TOYOTA, LICENSE AGREEMENT TMS1002
      NOTE:
      • Perform fluid replacement while maintaining the brake fluid level between the M IN/MAX level on the brake fluid reservoir.
      • As brake fluid may overflow, do not place the fluid can on the reservoir filler opening.
      1. Connect the Techstream to the DLC3 with the engine switch off.
      2. Check that the parking brake is set, and turn the engine switch on (IG).
      3. Enter the following menus: Chassis/ABS/VSC/TRC/Air Bleeding.
      4. Select the menu on the Techstream display based on the following list.

        Bleeding work list 

        BLEEDING WORK LIST

        • Brake fluid (replacement)
        • Front brake (removal, installation or replacement)
        • Front brake flexible hose (removal, installation or replacement)
        • Rear brake (removal, installation or replacement)
        • Rear brake flexible hose (removal, installation or replacement)
        Select "Usual air bleeding" on the Techstream display.
        Air bleeding (no part replacement) Select "Actuator has been removed" on the Techstream display.
        • Brake master cylinder (removal, installation or replacement)
        • Stroke Simulator (removal, installation or replacement)
        • Work to be performed before replacement
          1. Using the Techstream, perform accumulator zero down.
          2. Disconnect the 2 brake booster pump connectors.
        • Select "Master Cylinder or Stroke Simulator has been removed" on the Techstream display.
        Brake master cylinder reservoir (removal, installation or replacement)
        • Work to be performed before replacement
          1. Using the Techstream, perform accumulator zero down.
          2. Disconnect the 2 brake booster pump connectors.
        • Work to be performed before air bleeding
          1. Using the Techstream, perform accumulator zero down.
        • Select "Master Cylinder or Stroke Simulator has been removed" on the Techstream display.
        • Brake actuator (removal, installation or replacement)
        • Brake booster pump (removal, installation or replacement)
        • Work to be performed before replacement
          1. Using the Techstream, perform accumulator zero down.
          2. Disconnect the 2 brake booster pump connectors.
        • Work to be performed before air bleeding
          1. Using the Techstream, perform accumulator zero down.
        • Select "Actuator has been removed" on the Techstream display.
    4. After air bleeding or replacement, tighten the bleeder plug.

      Torque: 11 N*m (110 kgf*cm, 8 ft.*lbf) 

      NOTE: If the brake accumulator pump operates while air remains inside the No. 2 brake actuator hose, air will enter the brake accumulator pump, resulting in difficulty in bleeding. Keep the 2 brake accumulator pump connectors disconnected before bleeding.
    5. Disconnect the 2 brake accumulator pump connectors.
    6. PERFORM ACCUMULATOR ZERO DOWN

      HINT:

      Using the Techstream to perform accumulator zero down causes the pressurized fluid in the actuator's accumulator to be returned to the brake fluid reservoir.

      1. Drain the brake fluid in the reservoir tank near the MIN line.
      2. Connect the Techstream to the DLC3 with the engine switch off.
        Fig 24: Locating Brake Accumulator Pump Connectors
        G04949820Courtesy of © TOYOTA, LICENSE AGREEMENT TMS1002
      3. Check that the parking brake is set, and turn the engine switch on (IG).
      4. Enter the following menus: Chassis/ABS/VSC/TRC/Utility/Electronically Controlled Brake system Utility/Zero Down.
      5. When the buzzer sounds, turn the engine switch off.
    7. DISABLE BRAKE CONTROL

      HINT:

      Using the Techstream to disable brake control causes the master pressure cut solenoid to turn OFF and the line from the master cylinder to the front disc brake caliper to open.

      1. Check that the parking brake is set.
      2. Connect the Techstream to the DLC3 with the engine switch off.
      3. Turn the engine switch on (IG).
        NOTE: Do not start the engine.
      4. Enter the following menus: Chassis/ABS/VSC/TRC/Utility/Electronically Controlled Brake system Utility/Electronically Controlled Brake system Invalid. Then brake control is disabled.
  11. BRAKE PEDAL SUPPORT 
    1. CHECK AND ADJUST BRAKE PEDAL HEIGHT
      NOTE: Fold back the carpet below the brake pedal for this inspection adjustment.
      1. Check the brake pedal height.

        Standard pedal height from tibia pad: 144.2 to 154.2 mm (5.68 to 6.07 in.) 

      2. Adjust the pedal height.
        1. Disconnect the connector from the stop light switch.
        2. Loosen the stop light switch lock nut and turn the switch so that the pedal has free play.
        3. Loosen the push rod clevis lock nut.
        4. Adjust the pedal height by turning the push rod.

          Standard pedal height from tibia pad: 144.2 to 154.2 mm (5.68 to 6.07 in.) 

        5. Tighten the push rod clevis lock nut.

          Torque: 26 N*m (265 kgf cm, 19 ft.lbf) 

          Fig 25: Identifying Brake Pedal Height
          G04949839Courtesy of © TOYOTA, LICENSE AGREEMENT TMS1002
        6. Turn the stop light switch so that its protrusion is between 1.5 and 2.6 mm (0.059 and 0.102 in.). Then tighten the lock nut.

          Torque: 17 Nm (170 kgf cm, 12 ft. lbf) 

        7. Connect the stop light switch connector.
        8. Without depressing the brake pedal, check that the stop light does not illuminate. If it illuminates, adjust the brake pedal height again.
          Fig 26: Identifying Stop Light Switch Lock Nut With Protrusion
          G04949840Courtesy of © TOYOTA, LICENSE AGREEMENT TMS1002
        9. Push the brake pedal in 5 to 10 mm (0.20 to 0.39 in.), and check that the stop light comes on.

          If the stop light does not turn on, adjust the brake pedal height again.

    2. ADJUST BRAKE PEDAL STROKE SENSOR
      1. Connect the Techstream to the DLC3 with the engine switch OFF.
      2. Loosen the 2 bolts.
      3. Turn the engine switch ON (IG). While reading the stroke sensor 1 value shown on the Techstream, turn the stroke sensor slowly to the right and left to adjust it to the standard voltage.

        Standard voltage: 0.8 to 1.2 V 

      4. Tighten the 2 bolts.

        Torque: 8.5 Nm (87 kgf cm, 75 ft. lbf) 

        Fig 27: Turning Engine Switch
        G04949841Courtesy of © TOYOTA, LICENSE AGREEMENT TMS1002
        NOTE: Do not depress the brake pedal while performing the linear valve offset learning, as this may cause a DTC to be stored.
      5. Perform the linear valve offset learning.
    3. CHECK BRAKE PEDAL FREE PLAY
      1. Press the pedal until a slight resistance is felt. Measure the distance as shown in the illustration.

        Standard pedal free play: 1.0 to 2.0 mm (0.0394 to 0.0787 in.) 

        If the pedal free play is 1.0 mm (0.0394 in) or less, check the protrusion of the stop light switch shaft.

        Protrusion of the stop light switch shaft: 1.5 to 2.6 mm (0.0591 to 0.102 in.) 

        Fig 28: Identifying Pedal Free Play
        G04949842Courtesy of © TOYOTA, LICENSE AGREEMENT TMS1002

        If the protrusion is not within the specified value range, adjust it.

        If the protrusion is within the specified value range, troubleshoot the brake system and proceed to the " d CHECK BRAKE PEDAL RESERVE DISTANCE" procedure.

    4. CHECK BRAKE PEDAL RESERVE DISTANCE
      1. Release the parking brake. Start the engine.
      2. Depress the brake pedal and check the pedal reserve distance as follows.
        1. Depress the pedal with a force of 200 N (20 kgf, 45.0 lbf).
        2. Measure the distance between the pedal and tibia pad shown in the illustration.

          Standard pedal reserve distance: More than 95 mm (3.74 in.) 

          If the distance is not as specified, troubleshoot the brake system. 

          Fig 29: Identifying Pedal Reserve Distance
          G04949843Courtesy of © TOYOTA, LICENSE AGREEMENT TMS1002
  12. ELECTRIC PARKING BRAKE SYSTEM 
    NOTE: If the electric parking brake ECU or electric parking brake actuator is replaced, perform the "Reset Memory" and "ACQUIRE TENSION SENSOR ZERO POINT" procedures.
    1. RESET MEMORY (with the Techstream)
      1. Turn the engine switch OFF.
      2. Connect the Techstream to the DLC3.
      3. Turn the engine switch ON (IG) and the tester ON.
      4. Enter the following menus: Chassis/Electric Parking Brake/Utility/Reset Memory.
      5. Follow the tester display and perform reset memory.

        HINT:

        When the reset memory is completed, the parking brake indicator light (RED) will blink at 0.5 second intervals.

    2. RESET MEMORY (without the Techstream)
      1. Turn the engine switch OFF.
      2. Using SST, connect terminals 13 (TC) and 4 (CG) of the DLC3.

        SST 09843-18040 

        Fig 30: Identifying Parking Brake Indicator Light (RED)
        G04949962Courtesy of © TOYOTA, LICENSE AGREEMENT TMS1002
        NOTE: Do not connect the wrong terminals, as this will cause parts to be damaged.
      3. Turn the engine switch ON (IG).

        HINT:

        The parking brake indicator light (RED) will blink at 0.25 second intervals.

      4. Perform both of the following procedures within 8 seconds:
        1. Perform the following with the electric parking brake switch twice: lock condition → off → release condition → off.
          Fig 31: Identifying Terminal CG And TC Of DLC3 Connector
          G04944121Courtesy of © TOYOTA, LICENSE AGREEMENT TMS1002
        2. Perform the following with the brake pedal: depress → release → depress → release.
          Fig 32: Blinking Pattern Of Brake Pedal, Release Switch And Lock Switch
          G04949964Courtesy of © TOYOTA, LICENSE AGREEMENT TMS1002
      5. With the engine switch ON (IG), disconnect the connection of terminals 13 (TC) and 4 (CG) of the DLC3.
      6. Check that the parking brake indicator light (RED) blinks at 0.5 second intervals.
        NOTE: If terminal 13 (TC) and 4 (CG) of the DLC3 are not disconnected, the blinking pattern (0.5 second intervals) cannot be checked.

        HINT:

        If the parking brake indicator light (RED) blinking pattern (0.5 second intervals) is confirmed, the clear procedure is completed. If not confirmed, repeat the procedures above.

    3. ACQUIRE TENSION SENSOR ZERO POINT
      1. After performing reset memory, perform the release control. Check that the parking brake indicator light (RED) turns off.
    4. PARKING BRAKE BEDDING
      CAUTION: Performing parking brake bedding forms the friction surfaces of the parking brake shoe and rear disc, which creates the basic braking force of the parking brake. If bedding is not performed, the parking brake performance may not be normal.
      NOTE: If one of the following is performed, perform parking brake bedding.
      • Rear disc is replaced or removed and installed
      • Parking brake shoe is replaced or removed and installed
      • electric parking brake actuator is replaced or removed and installed
      1. Turn the engine switch OFF.
      2. Using SST, connect terminals 12 (TS) and 4 (CG) of the DLC3.

        SST 09843-18040 

        NOTE: Do not connect the wrong terminals, as this will cause parts to be damaged.
      3. Turn the engine switch ON (IG).
      4. Perform the following procedures with the electric parking brake switch within 8 seconds:
        1. Turning the lock switch ON and OFF 3 times.
        2. Turn the release switch ON and OFF 3 times.
          Fig 33: Identifying CG And TS Terminals Of DLC3 Connector
          G04944107Courtesy of © TOYOTA, LICENSE AGREEMENT TMS1002
          Fig 34: Blinking Pattern Of Lock Switch And Release Switch
          G04949966Courtesy of © TOYOTA, LICENSE AGREEMENT TMS1002
      5. Check that the system is in test mode.

        HINT:

        The multi-information display shows "EPB TEST". EPB stands for electric parking brake. If it is not displayed, repeat the procedures above.

      6. Perform parking brake bedding.
      7. Drive the vehicle at 30 km/h (19 mph).
      8. Push the parking brake switch to the lock side for 5 seconds.
        NOTE:
        • The braking power is generated from the parking brake while driving the vehicle. This will cause the vehicle speed to decrease. Depress the acceleration pedal to maintain the speed at 30 km/h (19 mph).
        • This procedure must be performed while driving the vehicle. If performed on a speed tester, etc., the front wheels do not rotate and the vehicle will determine that the vehicle is stopped.
          Fig 35: Identifying Multi-Information Display With Parking Brake Indicator Light
          G04949967Courtesy of © TOYOTA, LICENSE AGREEMENT TMS1002

        HINT:

        • The parking brake indicator light (RED) stops blinking at 0.125 second intervals, and illuminates.
        • The buzzer turns ON (peeping sound).
        • The tension is automatically adjusted.
      9. After 5 seconds, check that the buzzer and the parking brake indicator light (RED) turn off.

        HINT:

        The brake force decreases.

      10. Release the parking brake lock switch.
  13. VARIABLE GEAR RATIO STEERING SYSTEM (INITIALIZATION) 
    1. STEERING ANGLE SENSOR INITIALIZATION (to obtain a tire angle (during straight-ahead driving) signal)
      1. Turn the engine switch ON (IG), and check that the master warning light illuminates for a few seconds.
        NOTE: If the warning light remains on or blinks, repair the applicable system.
        Fig 36: Identifying Master Warning Light
        G04950170Courtesy of © TOYOTA, LICENSE AGREEMENT TMS1002
      2. Drive the vehicle on a straight road at 35 km/h (22 mph) or more for 5 seconds or longer.

        HINT:

        • At this point, the steering wheel will still remain off-center by 5 to 10°.
        • In this step, the neutral position of the steering wheel is restored from the steering control ECU memory.
      3. Confirm that steering angle sensor initialization is completed (using the tester).
        1. the Techstream - Enter the VGRS menu using the tester. Select "Straight Angle Valid Flag" from "Data List". Check if the steering angle sensor has obtained a tire angle (during straight-ahead driving) signal.

          Standard: "Valid" is displayed on the tester screen. 

      4. Confirm that steering angle sensor initialization is completed (not using the tester).
        1. Stop the vehicle (engine running).
        2. Slowly turn the steering wheel from lock to lock.
        3. If it turns approximately 2.7 turns, steering angle sensor initialization is completed. If it turns approximately 3.2 turns, steering angle sensor initialization is not completed.
          NOTE: If the steering wheel turns approximately 3.2 turns, drive the vehicle on a straight road at 35 km/h (22 mph) or more for 5 seconds or longer. Then confirm the initialization again.
  14. VARIABLE GEAR RATIO STEERING SYSTEM (CALIBRATION) 
    1. VGRS SYSTEM CALIBRATION PROCEDURE (USING SST CHECK WIRE)
    1. FACE TIRES STRAIGHT AHEAD 
      NOTE: Drive the vehicle to confirm that the steering wheel is centered.
    2. CHECK DTC 
      1. Check for DTCs.

        Result 

        DTC OUTPUT RESULT

        Result Proceed to
        DTC C1591/51 is not output A
        DTC C1591/51 is output B

        B:  Go to step  4

        A: Go to Next Step 

    3. PERFORM ACTUATOR ANGLE INITIALIZATION 
      1. Start the engine.
      2. Center the steering wheel.

        SST 09843-18040 

      3. Complete the following steps within 1 minute.
        1. Using SST, connect terminals 12 (TS) and 4 (CG), and 13 (TC) and 4 (CG) of the DLC3.
        2. Disconnect SST from terminal 12 (TS) of the DLC3, and turn the steering wheel to the left 180° or more.
        3. Connect SST to terminal 12 (TS) of the DLC3.
        4. Disconnect SST from terminal 13 (TC) of the DLC3, and turn the steering wheel to the right 180° or more.
          Fig 37: Identifying DLC3 Connector Terminals
          G04944114Courtesy of © TOYOTA, LICENSE AGREEMENT TMS1002
        5. Connect SST to terminal 13 (TC) of the DLC3.

          HINT:

          When the master warning light comes on, DTC C1591/51 is memorized.

      4. Disconnect SST from the DLC3.
      5. Turn the engine switch OFF.

        NEXT:  Go to step  1

    4. FACE TIRES STRAIGHT AHEAD 
      1. Confirm that the steering wheel is centered when facing the tires straight ahead.
        NOTE: Drive the vehicle to confirm that the steering wheel is centered.

        Result 

        RESULT CHART

        Result Proceed to
        Steering wheel is off-center A
        Steering wheel is centered B

        B:  Go to step  8

        A: Go to Next Step 

    5. UNLOCK STEERING ACTUATOR 
      NOTE: Do not start the engine.
      1. Turn the engine switch OFF.
      2. Disconnect the negative (-) terminal cable from the battery.
      3. Disconnect the x2 connector from the steering actuator.
      4. Connect a jumper wire from terminal LV to the positive (+) battery terminal and another jumper wire from terminal LG to the negative (-) battery terminal.
        NOTE: Do not apply voltage for more than 3 minutes.
        Fig 38: Identifying X2 Steering Actuator Connector Terminals
        G04950172Courtesy of © TOYOTA, LICENSE AGREEMENT TMS1002
    6. STEERING CENTER ADJUSTMENT 
      1. Center the steering wheel.
        NOTE: If the centering of the spiral cable was not confirmed when the steering wheel was installed, confirm the centering of the spiral cable.
    7. LOCK STEERING ACTUATOR 
      1. Disconnect the positive (+) and negative (-) battery terminal cables from the steering actuator.
      2. Connect the x2 connector to the steering actuator.
      3. Connect the negative (-) terminal cable to the battery.
      4. Turn the steering wheel approximately 3° to the left and right. Confirm that the reaction force can be felt.
        NOTE:
        • If the above procedures are not followed correctly, a DTC will be detected. If a DTC is detected, perform the above procedures again and then check for DTCs.
        • Perform these procedures with the engine switch off.

        NEXT:  Go to step  1

    8. ADJUST ACTUATOR ANGLE 

      HINT:

      Activating and ending test mode will complete actuator angle adjustment.

      1. Make sure the engine switch is OFF.
        NOTE: Do not touch the steering wheel during these procedures.
      2. Using SST, connect terminals 12 (TS) and 4 (CG) of the DLC3.

        SST 09843-18040 

      3. Turn the engine switch ON (IG).
      4. Confirm that the "VGRS TEST MODE" is displayed on the multi-information display when test mode is activated.

        HINT:

        Wait approximately 5 seconds.

      5. Turn the engine switch OFF.
        Fig 39: Identifying CG And TS Terminals Of DLC3 Connector
        G04944107Courtesy of © TOYOTA, LICENSE AGREEMENT TMS1002
      6. Disconnect SST from terminals 12 (TS) and 4 (CG) of the DLC3.
      7. Turn the engine switch ON (IG) again.
    9. CHECK MASTER WARNING LIGHT 
      1. Confirm that the master warning light is off.
      2. Turn the engine switch OFF.
      3. Confirm that the master warning light is operating normally.
    10. CHECK STEERING WHEEL OPERATION 
      1. Start the engine.
      2. Perform the steering angle sensor initialization.
      3. Turn the steering wheel from lock to lock and check that it rotates approximately 2.7 turns.
      4. Drive the vehicle and confirm that the steering wheel is centered.

        NEXT: END 

  15. VARIABLE GEAR RATIO STEERING SYSTEM (CALIBRATION) 
    1. VGRS SYSTEM CALIBRATION PROCEDURE (USING the Techstream)
    1. FACE TIRES STRAIGHT AHEAD 
      NOTE: Drive the vehicle to confirm that the steering wheel is centered.
    2. PERFORM VGRS SYSTEM CALIBRATION 
      1. Connect the Techstream to the DLC3.
      2. Turn the engine switch ON (IG).
      3. Turn the tester on.
      4. Enter the menu items in this order: Chassis/VGRS/Utility/Steering Angle Adjust.
      5. Perform the following procedures displayed on the tester.
    3. CHECK MASTER WARNING LIGHT 
      1. Confirm that the master warning light is off.
      2. Turn the engine switch OFF.
      3. Disconnect the Techstream from the DLC3.
      4. Confirm that master warning light is operating normally.
    4. CHECK STEERING WHEEL OPERATION 
      1. Start the engine.
      2. Perform the steering angle sensor initialization.
      3. Turn the steering wheel from lock to lock and check that it rotates approximately 2.7 turns.
      4. Drive the vehicle and confirm that the steering wheel is centered.

        NEXT: END 

  16. POWER STEERING SYSTEM 
    1. ROTATION ANGLE SENSOR VALUE INITIALIZATION AND TORQUE SENSOR ZERO POINT CALIBRATION
      NOTE: Clear the rotation angle sensor calibration value, initialize the rotation angle sensor value, and calibrate the torque sensor zero point if any of the following has occurred:
      • The power steering ECU has been replaced.
      • The power steering gear assembly has been replaced.
      • Steering effort differs between left and right.
      1. Inspection before calibration.
        1. Connect the Techstream to the DLC3.
        2. Turn the engine switch ON (IG).
        3. Turn the Techstream on.

          Techstream - Select "IG Supply" from the data list.

        4. Check the IG power supply voltage on the tester screen.

          EMPS 

          EMPS CUSTOMIZE PARAMETERS

          Tester Display Measurement Item/Range Normal Condition Diagnostic Note
          IG Supply ECU power source voltage/ Min.: 0 V, Max.: 25.5 V Engine switch on (IG): 11 to 14 V When malfunction occurs, problem may be ECU power supply

          Standard voltage: 11 to 14 V 

          NOTE: If the IG power supply voltage is 11 V or less, calibration cannot be performed. In this case, charge or replace the battery, and then perform calibration.
      2. Clearing rotation angle sensor calibration value, rotation angle sensor value initialization, and torque sensor zero point calibration.
        NOTE:
        • If DTC C1516 (Torque Sensor Zero Point Adjustment Incomplete) is stored, the torque sensor zero point cannot be calibrated. Clear the DTC before starting calibration.
        • If DTC C1526 (Motor Rotation Angle Sensor Initialization Incomplete) is stored, the rotation angle sensor value cannot be initialized. Clear the DTC before starting initialization.
          1. Connect the Techstream to the DLC3.
          2. Turn the engine switch ON (IG).
          3. Turn the Techstream on.

            Techstream - Select "Torque Sensor Adjustment".

          4. Follow the procedures on the tester display to clear the rotation angle sensor calibration value, initialize the rotation angle sensor value, and calibrate the torque sensor zero point.
        NOTE:
        • When initializing the rotation angle sensor value, observe the following to stabilize sensor voltage:

          After turning the engine switch ON (IG), wait for at least 2.5 seconds before turning the steering wheel. Do not turn the steering wheel quickly.

        • The steering wheel will vibrate during torque sensor zero point calibration. Do not touch the steering wheel while it is vibrating or for 2 seconds after it stops.
  17. OCCUPANT CLASSIFICATION SYSTEM (INITIALIZATION) 
    1. ZERO POINT CALIBRATION
      1. Zero point calibration procedures
        1. Check that all of the following conditions are met:
          1. The vehicle is parked on a level surface.
          2. No objects are placed on the front passenger seat.
          3. The front passenger seat belt buckle switch is OFF.
        2. Adjust the seat position according to the table below.
          SEAT POSITION ADJUSTMENT CHART

          Adjustment Item Position
          Slide Direction Rearmost position
          Reclining Angle Upright position
          Headrest Height Lowest position
          Lifter Height Lowest position
        3. Connect the Techstream to the DLC3.
        4. Turn the engine switch ON (IG).
        5. Perform zero point calibration by following the prompts on the tester screen.

          HINT:

          • Refer to the Techstream operator's manual for further details.
          • If the zero point calibration is performed when the calibration conditions are not satisfied, DTC B1797 is output.
          • If the zero point calibration has failed, DTC B1797 is output.
          • If After Exchange is selected before the previous ECU data are stored in the Techstream, the display screen returns to CONDITION SELECT ECU: Occupant Detect.
            ITEM WITH PROCEDURE

            Item Procedure
            DTC Perform DTC check and repair
            Write error Replace front seat set (with occupant classification ECU and occupant detection sensor)
            Temperature Check value of THERMISTOR TEMP in ECU DATA LIST
            Pressure Check value of FILTERED PRESS in ECU DATA LIST
            Crash counter -
    2. SENSITIVITY CHECK
      1. Sensitivity check procedures
        1. Turn the engine switch off.
        2. Place a weight of 20 kg (44.0 lb) on the front passenger seat.
          NOTE:
          • Do not allow the weight to come into contact with the seatback when placing it on the seat cushion.
          • Place the weight in the area shown in the illustration.
            Fig 40: Identifying Weight Placing Areas On Front Passenger Seat
            G04947418Courtesy of © TOYOTA, LICENSE AGREEMENT TMS1002
        1. Turn the engine switch ON (IG), and wait for at least 6 seconds.
        2. Check that the passenger airbag ON/OFF indicator indicates OFF.

          OK: Passenger airbag ON/OFF indicator indicates OFF. 

        3. Add a weight of 30 kg (66.1 lb) to the front passenger seat (total 50 kg (110.2 lb)).
          NOTE:
          • Do not allow the weight to come into contact with the seatback when placing it on the seat cushion.
          • Place the weight in the area shown in the illustration.
        4. Check that the passenger airbag ON/OFF indicator indicates ON.

          OK: Passenger airbag ON/OFF indicator indicates ON. 

  18. OCCUPANT CLASSIFICATION SYSTEM (REGISTRATION) 
    1. REGISTRATION
      NOTE:
      • After the engine switch is turned off, the HDD navigation system requires approximately 6 minutes to record various types of memory and settings. As a result, after turning the engine switch off, wait 6 minutes or more before disconnecting the cable from the negative (-) battery terminal.
      • If any DTCs related to the occupant classification ECU are output, troubleshoot those DTCs by referring to the DIAGNOSTIC TROUBLE CODE CHART.
      • When ECU data saving or loading operations cannot be performed, replace the front seat set (with occupant classification ECU and occupant detection sensor).

      HINT:

      • When the front seat set (occupant classification ECU) is replaced, the previous ECU data must be saved in the Techstream and loaded into the new ECU by following the flowchart below.
      • Until the data from the previous ECU are loaded into the new occupant classification ECU, these data are not erased even when the tester is turned off.
      • ECU EXCHANGE procedure (Before Exchange) describes the procedure to save the data in the Techstream from the occupant classification ECU which was installed on the vehicle. ECU EXCHANGE procedure (After Exchange) describes the procedure to load the data from the previous ECU, stored in the Techstream, into the new ECU.
      1. Connect the Techstream to the DLC3.
      2. Turn the engine switch ON (IG).
      3. Store the occupant classification ECU data in the Techstream by following the prompts on the tester screen.

        HINT:

        If the ECU data cannot be stored in the Techstream, replace the front seat set (with occupant classification ECU and occupant detection sensor).

      4. Turn the engine switch ON (IG).
      5. Disconnect the negative (-) terminal cable from the battery, and wait for at least 90 seconds.
      6. Replace the front seat set (occupant classification ECU).
      7. Connect the negative (-) terminal cable to the battery.
      8. Turn the engine switch ON (IG).
      9. Load the data from the previous ECU stored in the tester into the newly installed ECU by following the prompts on the tester screen.
      10. Turn the engine switch OFF.
      11. Turn the engine switch ON (IG).
      12. Clear the DTCs stored in the memory.

        HINT:

        If DTCs are not cleared at this time, past DTCs will remain.

  19. ENGINE IMMOBILIZER SYSTEM 
    1. DESCRIPTION OF CODE REGISTRATION

      HINT:

      • The engine immobilizer function's ID code is the same as recognition codes for the smart access system with push-button start and the wireless transmitter. Registering an ID code enables the smart access with push-button start, the wireless door lock control function and the engine immobilizer function to be operated.
      • Code registration is needed when the certification ECU, ID code box, steering lock ECU, ECM or key is replaced with a new one.
      • This vehicle does not have a key slot. Therefore, touch the logo of the key to the engine switch to register the key, as shown in the illustration.
    2. PART REPLACEMENT AND KEY REGISTRATION PROCEDURES
      1. If a malfunctioning ECU is discovered through troubleshooting of the smart key system, use the ECU replacement and key registration procedures in the table below.

        HINT:

        • The following procedures require the use of the Techstream:
          • New key ID registration
          • Additional key ID registration
          • Key ID erasure
          • ECU code registration
            Fig 41: Identifying Engine Switch And Key
            G04944567Courtesy of © TOYOTA, LICENSE AGREEMENT TMS1002
        • A maximum of 7 keys can be registered.
          KEY REGISTRATION PROCEDURE

          Malfunctioning ECU Condition Procedure Refer to
          Certification ECU Customer has brought all keys 1. Replace certification ECU -
          2. Reregister all keys (new key ID registration) PROCEDURE "B"
          Some keys are lost Key ID codes can be registered and cleared 1. Clear key codes (key ID erasure) PROCEDURE "D"
          2. Perform additional key registration procedure (additional key ID registration)
          HINT:
          If some keys are not registered during above steps, they will be disabled because they cannot be registered later.
          PROCEDURE "C"
          3. Replace certification ECU -
          4. Reregister all keys (new key ID registration) PROCEDURE "B"
          Key ID codes cannot be either registered or cleared 1. Replace certification ECU -
          2. Replace ID code box -
          3. Reregister all keys (new key ID registration)
          HINT:
          If key codes cannot be cleared or additional keys cannot be registered due to a malfunction in certification ECU, replace ID code box and certification ECU. If some keys are not registered during above steps, they will be disabled because they cannot be registered later.
          PROCEDURE "A"
          4. ECU communication ID registration PROCEDURE "G"
          All keys are lost 1. Replace certification ECU -
          2. Replace ID code box -
          3. Register all keys (new key ID registration) PROCEDURE "A"
          4. ECU communication ID registration PROCEDURE "G"
          ID code box Customer has brought at least 1 key 1. Replace ID code box -
          2. Register recognition codes in ECUs (ECU code registration) PROCEDURE "F"
          3. ECU communication ID registration PROCEDURE "G"
          All keys are lost 1. Replace certification ECU) -
          2. Replace ID code box -
          3. Register all keys (new key ID registration) PROCEDURE "A"
          4. ECU communication ID registration PROCEDURE "G"
          Steering lock ECU Customer has brought at least 1 key 1. Replace steering lock ECU -
          2. Register recognition codes in ECUs (ECU code registration) PROCEDURE "F"
          All keys are lost 1. Replace certification ECU -
          2. Replace ID code box -
          3. Replace steering lock ECU -
          4. Register all keys (new key ID registration) PROCEDURE "A"
          5. ECU communication ID registration PROCEDURE "G"
          Main body ECU No condition required - -
          ECM No condition required 1. Replace ECM -
          2. ECU communication ID registration
          HINT:
          Only perform procedure above when replacing with used ECM.
          PROCEDURE "H"
    3. KEY REGISTRATION PROCEDURES
      1. PROCEDURE "A"

        New key ID registration (when replacing certification ECU and ID code box, or certification ECU, ID code box and steering lock ECU), or when performing all keys ID erasure (key code reset)

        KEY REGISTRATION PROCEDURE - A

        Process Procedure
        1. Start of registration
        1. Connect Techstream to DLC3
        2. Turn engine switch on (IG)
        3. Select "Smart Access/Utility/Key Code Registration" from Techstream menu

        HINT:
        Engine switch cannot be turned on (IG) more than 10 times. After connecting Techstream, turn Techstream on while turning driver side door courtesy light switch on and off repeatedly at 1.5 second intervals or less to continue key registration procedure.
        2. Confirmation of ECU code Perform operation according to prompts on Techstream screen
        HINT:
        Mode is automatically selected by Techstream (new registration mode or add mode)
        3. Verification of unregistered key*
        1. Touch logo of unregistered key to engine switch
        2. Confirm that wireless door lock buzzer sounds once (short beep)
        3. Place unregistered key on front passenger side seat
        4. Confirm that wireless door lock buzzer sounds once (short beep)
        4. Registration of ID code Perform operation according to prompts on Techstream screen
        5. End of registration Finish new key ID code registration
        HINT:
        *: Repeat this process for each key which is to be registered for the vehicle. Finish the procedure for each key within 30 seconds. If the procedure for any of the keys has not been finished within the specified time, perform registration procedures from process 1 again. Make sure that only 1 key is in the cabin during registration procedures. If 2 or more keys are in the cabin simultaneously, electric waves will interfere with each other, preventing normal registration.
      2. PROCEDURE "B"

        New key ID registration (when replacing certification ECU)

        KEY REGISTRATION PROCEDURE - B

        Process Procedure
        1. Start of registration
        1. Connect Techstream to DLC3
        2. Turn engine switch on (IG)
        3. Select "Smart Access/Utility/Key Code Registration" from Techstream menu

        HINT:
        Engine switch cannot be turned on (IG) more than 10 times. After connecting Techstream, turn Techstream on while turning driver side door courtesy light switch on and off repeatedly at 1.5 second intervals or less to continue key registration procedure.
        2. Confirmation of ECU code Perform operation according to prompts on Techstream screen
        HINT:
        Mode is automatically selected by Techstream (new registration mode or add mode)
        3. Confirmation of all registered keys*1
        1. Touch logo of registered key to engine switch
        2. Confirm that wireless door lock buzzer sounds once (short beep)
        4. Confirmation of ECU code Perform operation according to prompts on Techstream screen
        5. Verification of unregistered key*2
        1. Touch log of unregistered key to engine switch
        2. Confirm that wireless door lock buzzer sounds
        3. Place unregistered key on front passenger side seat
        4. Confirm that wireless door lock buzzer sounds once (short beep)
        6. Registration of ID code Perform operation according to prompts on Techstream screen
        7. End of registration Finish new key ID code registration
        HINT:
        • *1: Repeat this process for each key registered for the vehicle. Finish the procedure for each key within 30 seconds. If the procedure for any of the keys has not been finished within the specified time, perform registration procedures from process 1 again. If performing the key confirmation procedure for a key, the security indicator comes on and remains on until all the keys are confirmed.
        • *2: Repeat this process for each key which is to be registered for the vehicle. Finish the procedure for each key within 30 seconds. If the procedure for any of the keys has not been finished within the specified time, perform registration procedures from 1 again. Make sure that only 1 key is in the cabin during registration procedures. If 2 or more keys are in the cabin simultaneously, electric waves will interfere with each other, preventing normal registration.
      3. PROCEDURE "C"

        Additional key ID registration

        KEY REGISTRATION PROCEDURE - C

        Process Procedure
        1. Start of registration
        1. Connect Techstream to DLC3
        2. Turn engine switch on (IG)
        3. Select "Smart Access/Utility/Key Code Registration" from Techstream menu
        2. Confirmation of registered key*1
        1. Perform operation according to prompts on Techstream screen
        2. Touch logo of registered key to engine switch
        3. Confirm that wireless door lock buzzer sounds once (short beep)
        3. Confirmation of ECU code Perform operation according to prompts on Techstream screen
        4. Verification of unregistered key*2
        1. Touch logo of unregistered key to engine switch
        2. Confirm that wireless door lock buzzer sounds
        3. Place unregistered key on front passenger side seat
        4. Confirm that wireless door lock buzzer sounds (short beep)
        5. Registration of ID code Perform operation according to prompts on Techstream screen
        6. End of registration Finish key ID code registration
        HINT:
        • *1: Perform this process for one of the keys registered for the vehicle. Finish the procedure within 30 seconds. If the procedure has not been finished within the specified time, perform registration procedures from process 1 again.
        • *2: Repeat this process for each key which is to be registered for the vehicle. Finish the procedure for each key within 30 seconds. If the procedure for any of the keys has not been finished within the specified time, perform registration procedures from 1 again. Make sure that only 1 key is in the cabin during registration procedures. If 2 or more keys are in the cabin simultaneously, electric waves will interfere with each other, preventing normal registration.
      4. PROCEDURE "D"

        Key ID erasure (Erase all registered key codes except one)

        KEY REGISTRATION PROCEDURE - D

        Process Procedure
        1. Start of erasure
        1. Connect Techstream to DLC3
        2. Turn engine switch on (IG)
        3. Select "Smart Access/Utility/Key Code Erasure" from Techstream menu
        2. Confirmation of registered key*
        1. Perform operation according to prompts on Techstream screen
        2. Touch logo of registered key to engine switch
        3. Confirm that wireless door lock buzzer sounds once (short beep)
        3. Erasure of ID code Perform operation according to prompts on Techstream screen
        4. End of erasure Finish key ID code erasure
        HINT:
        *: Perform this process for one of the keys registered for the vehicle. Finish the procedure within 30 seconds. If the procedure has not been finished within the specified time, perform erasure procedures from process 1 again.
      5. PROCEDURE "E"

        All keys ID erasure

        KEY REGISTRATION PROCEDURE - E

        Process Procedure
        1. Start of erasure
        1. Connect Techstream to DLC3
        2. Turn engine switch on (IG)
        3. Turn Techstream on while turning driver side door courtesy light switch on and off repeatedly at 1.5 second intervals or less
        4. Select "Smart Access/Utility/Key Code Reset" from Techstream menu
        5. Read "Seed Number" sent from TIS according to Techstream screen
        2. Erasure of ID code Perform operation according to prompts on Techstream screen
        3. End of erasure Finish key ID code erasure
      6. PROCEDURE "F"

        ECU code registration

        KEY REGISTRATION PROCEDURE - F

        Process Procedure
        1. Start of registration
        1. Connect Techstream to DLC3
        2. Turn engine switch on (IG)
        3. Select "Smart Access/Utility/ECU Communication ID Registration/ID code box and Steering Lock" from Techstream menu
        4. Read "Seed Number" sent from TIS according to Techstream screen
        2. Confirmation of registered key*
        1. Touch logo of registered key close to engine switch
        2. Confirm that wireless door lock buzzer sounds once (short beep)
        3. Erasure of ECU code Perform operation according to prompts on Techstream screen
        4. End of registration Finish ECU code registration
        HINT:
        *: Perform this process for one of the keys registered to the vehicle. Finish the procedure within 30 seconds. If the procedure has not been finished within the specified time, perform registration procedures from process 1 again.
      7. PROCEDURE "G"

        ECU communication ID registration

        NOTE:
        • The ECU communication ID should be registered when the ID code box is replaced in order to match the ECU communication ID.
        • The engine cannot be started unless ECU communication ID is registered.
        • After the registration, pressing the engine switch may not start the engine on the first try. If so, press the engine switch again.
        • After the engine is started, erase DTC B2799 (code for ECM's immobilizer communication error) using either of the following methods:
          • Use the Techstream.
          • Disconnect the battery for 30 seconds.
            Fig 42: Identifying SST Connection With DLC3
            G04944568Courtesy of © TOYOTA, LICENSE AGREEMENT TMS1002

        SST 09843-18040 

        1. Using SST, connect terminal 13 (TC) and 4 (CG) of the DLC3.
        2. Turn the engine switch on (IG) (do not start the engine) and leave it as is for 30 minutes.
        3. Turn the engine switch off and disconnect terminals 13 (TC) and 4 (CG).
        4. Check that the engine starts for more than 3 seconds.
      8. PROCEDURE "H"

        ECU communication ID reregistration

        NOTE: The ECU communication ID should be registered when the ECM is replaced in order to match the ECU communication ID.
        KEY REGISTRATION PROCEDURE - H

        Procedure Time Security Indicator Light Condition
        1. Start - OFF
        2. While holding already registered key, turn the engine switch on (IG) with brake pedal depressed
        3. Check that engine starts and stays on for more than 3 seconds
        4. Next
        5. End
  20. DRIVING SUPPORT ECU 
    1. If the driving support ECU has been replaced, turn the engine switch off → on(IG) for 10 seconds → off to perform the initialization.
  21. ADJUST MILLIMETER WAVE RADAR SENSOR ASSEMBLY 
    CAUTION: Exposure to radio frequency emissions is hazardous to your health. It is hazardous to your health to be within 20 cm (7.9 in.) of the device's radio frequency aperture.
    NOTE:
    • This device complies with FCC radio frequency emission regulations.
    • Perform measurements on a level surface.
    • Make sure that no large pieces of metal are within a 10 m (32.81 ft.) x 14 m (45.93 ft.) area in front of the vehicle. If possible, the surrounding area should also be free of large metal objects.
      Fig 43: Identifying Vehicle Position
      G04951470Courtesy of © TOYOTA, LICENSE AGREEMENT TMS1002
    1. Before adjusting the radar beam axis, prepare the vehicle as follows.
      1. Check the tire pressure and adjust it if necessary.
      2. Remove all excess weight from the vehicle (luggage, heavy objects, etc.).
    2. w/ Air suspension:

      Adjust the vehicle's height to the standard height.

    3. Check and adjust the vertical direction of the radar sensor.
      1. Remove dust, oil and foreign matter from the radar sensor's level rack.
      2. Set a level on the radar sensor's level rack.
        Fig 44: Identifying Radar Sensor's Level
        G04951471Courtesy of © TOYOTA, LICENSE AGREEMENT TMS1002
      3. Check that the level's air bubble is within the red frame.

        OK: Level's air bubble is within red frame. 

        If the bubble is not within the red frame, use a hexagon wrench to adjust bolt A until the air bubble is within the red frame.

        HINT:

        • The adjustable range within the level's red frame is +-0.2°
        • The target angle is +0.2° (upward angle of 0.2°).

          Result

          VERTICAL ADJUSTMENT REFERENCE CHART

          Adjustment Direction Adjustment Procedure Adjustment Angle
          Vertical adjustment
          • Upward direction: Turn bolt A to negative (-) side
          • Downward direction: Turn bolt A to positive (+) side
          For every 8.4 rotations of adjustment bolt, sensor moves about 1°
          Fig 45: Checking Level's Air Bubble
          G04951472Courtesy of © TOYOTA, LICENSE AGREEMENT TMS1002
    4. Adjust the reflector height.
      1. Adjust the reflector so that the center of the SST reflector is the same height as the millimeter wave radar sensor.

        SST 09870-60000 

        HINT:

        Prepare a 10 m (32.81 ft.) string, a string with a sharp-pointed weight (plumb bob), and a 5 m (16.41 ft.) tape measure.

        Fig 46: Identifying Millimeter Wave Radar Sensor Assembly
        G04951473Courtesy of © TOYOTA, LICENSE AGREEMENT TMS1002
    5. Place the reflector.
      1. Hang the string (with weight) from the center of the vehicle rear's emblem. Mark the vehicle rear's center point on the ground. Repeat for the front of the vehicle.
      2. Set one end of the 10 m (32.82 ft.) string on the vehicle rear's center point. Run the string over the vehicle front's center point to a position 5 m (16.41 ft.) beyond the vehicle front's center point, as shown in the illustration. Mark the 5 m (16.41 ft.) position.
      3. Using a tape measure, measure 12 mm (0.47 in.) to the left of the 5 m (16.41 ft.) position. Place the reflector at that position.
        NOTE: Perform the operation as precisely as possible.
        Fig 47: Position Of Placing Refelector
        G04951474Courtesy of © TOYOTA, LICENSE AGREEMENT TMS1002
        Fig 48: Identifying Reflector Replacement Point And Multimeter Wave Radar Sensor Position
        G04951475Courtesy of © TOYOTA, LICENSE AGREEMENT TMS1002
    6. Check the radar beam axis.
      1. When using Techstream:
        1. Connect Techstream to the DLC3.
        2. Turn the engine switch on (IG).
        3. Turn the Techstream main switch ON, and turn the cruise control main switch ON.
        4. Select "Connect to Vehicle".
        5. Under "Option", select "RADAR CRUISE".
        6. Select either "w/o LKA System" or "w/ LKA System".
        7. Under "System Selection Menu", select "Powertrain".
        8. Select "Radar Cruise".

          HINT:

          A buzzer will sound for 1 seconds.

        9. Follow the tester display, and continue with the adjustment.
      2. Check the following items on the laser cruise divergence data screen.
        NOTE: While using the Techstream beam axis adjustment mode, the actual direction and angle of the radar sensor may be different from the Techstream data. In such a case, the deviation is displayed on the combination meter's multi-information display.
        1. Confirm that the distance value is approximately 5 m (16.41 ft.).

          HINT:

          • A value between 0.0 and 6.3 m (20.67 ft.) is indicated.
          • If the distance is 0 m (0 ft.), the sensor cannot detect the target. Reconfirm that there is no metal in the specified area in front of the vehicle (refer to  3 NOTICE at the beginning of this adjustment procedure).
        2. Confirm that the left/right side value is between 0.0 and 6.3.

          HINT:

          If the distance is 0 m (0 ft.), the sensor cannot detect the target. Reconfirm that there is no metal in the specified area in front of the vehicle (refer to  3 at the beginning of this adjustment procedure).

    7. Check and adjust the horizontal direction of the radar sensor.
      1. Check that the divergence of the radar beam axis is 0°.

        Standard: 

        0° (Both right and left) 

        If the axis is not as specified, use a hexagon wrench to adjust bolt B until the divergence of the radar beam axis is 0°. 

      2. Based on the measured divergence of the beam axis, turn and adjust bolt B for horizontal adjustment of the millimeter wave radar sensor using a hexagon wrench.

        Result 

        RESULT CHART

        Adjustment Direction Adjustment Procedure Adjustment Angle
        Horizontal adjustment
        • Right direction: Turn bolt B to positive (+) side.
        • Left direction: Turn bolt B to negative (-) side.
        For every 18.6 rotations of adjustment bolt, sensor moves about 1°
        Fig 49: Turning Bolt B For Horizontal Adjustment
        G04951476Courtesy of © TOYOTA, LICENSE AGREEMENT TMS1002

        HINT:

        • If "LEFT SIDE: 1.0°" is displayed, the divergence is 1.0° in the left direction. Turn bolt B approximately 18.6 turns to the negative (-) side.
        • If the value does not change to 0°, it is possible that the sensor is aiming at something different. Reconfirm that there are no reflective materials in the surrounding area.
      3. Select "Next". The driving learning value is automatically reset.

        HINT:

        A buzzer will sound for 10 seconds.

      4. Disconnect the Techstream from the DLC3.
    8. Recheck and readjust the vertical direction of the radar sensor.
      1. Set a level on the radar sensor's level rack.
        Fig 50: Identifying Radar Sensor's Level
        G04951471Courtesy of © TOYOTA, LICENSE AGREEMENT TMS1002
      2. Check that the level's air bubble is within the red frame.

        OK: Level's air bubble is within the red frame. If the bubble is not within the red frame, use a hexagon wrench to adjust bolt A until the level's air bubble is within the red frame. 

        HINT:

        • The adjustable range within the red frame is +/-0.20.
        • The target angle is +0.2° (upward angle of 0.2°).

          Result

          RESULT CHART

          Adjustment Direction Adjustment Procedure Adjustment Angle
          Vertical adjustment
          • Upward direction: Turn bolt A to negative (-) side
          • Downward direction: Turn bolt A to positive (+) side
          For every 8.4 rotations of adjustment bolt, sensor moves about 1 °
          Fig 51: Checking Level's Air Bubble
          G04951472Courtesy of © TOYOTA, LICENSE AGREEMENT TMS1002
  22. ADVANCED PARKING GUIDANCE SYSTEM (INITIALIZATION) 
    1. INITIALIZATION WITH DIAGNOSIS SYSTEM
      1. Start the diagnostic system
      2. Perform STEERING CENTER MEMORIZE and MAX STEERING ANGLE MEMORIZE on the STEERING ANGLE SETTING screen
      3. Finish the diagnostic system
    2. INITIALIZATION WITH MANUAL OPERATION
      1. Turn the engine switch on (IG) or start the engine.
      2. Fully turn the steering wheel to the right.*
      3. Fully turn the steering wheel to the left.*

        HINT:

        *: These procedures can be performed as shown or in reverse.

  23. ADVANCED PARKING GUIDANCE SYSTEM (CALIBRATION) 
    1. PREPARATION FOR ADJUSTMENT
      Fig 52: Target Bar Adjustment Specifications
      G04947442Courtesy of © TOYOTA, LICENSE AGREEMENT TMS1002

      HINT:

      Only when adjusting the optical axis of the camera, set the target bar for adjustment.

      1. Park the vehicle with its wheels facing straight ahead and the steering wheel centered.
      2. Set the target bar for adjustment.

        HINT:

        • Adjust the tire pressure to the specification.
        • The target bar for adjustment is a piece of tape attached to the floor. Check the color on the screen and choose a tape color which can be easily seen.
        • Before parking the vehicle, move the vehicle back and forth to check that the wheels are facing straight ahead and that the steering wheel is centered.
    2. BOOT DIAGNOSIS MODE
      1. Start the engine.
      2. Start the diagnostic system.
      3. Select "Camera Check" on the Diagnosis Menu.
    3. SET VEHICLE HEIGHT
      1. At the "SIGNAL CHECK" screen, press "HT INIT" to display the "HEIGHT SET" screen.

        HINT:

        • Before performing the camera position setting, the vehicle height setting must be performed in the "HEIGHT SET" screen.
        • If the vehicle height setting is not completed, the "HT INIT" display will change to "CHECKING".
      2. Measure the distance A between the ground and television camera in the illustration.
      3. Calculate the difference between the distance A and the standard height below.

        Standard: 944 mm (37.2 in.) 

        Fig 53: Identifying Distance A Between Ground And Television Camera
        G04947443Courtesy of © TOYOTA, LICENSE AGREEMENT TMS1002
      4. Press "UP" and "DOWN" to input the calculated difference.
      5. After inputting the calculated difference, press "OK". The vehicle height setting will be recorded.

        HINT:

        • Press "OK" with the vehicle in the same condition as when the vehicle height was measured.
        • If a person was in the driver's seat when the vehicle height was measured, press "OK" with the same person in the driver's seat.
        • On the "SIGNAL CHECK" screen, check that the "HT INIT" display is "INPUT OK".
          Fig 54: Display - Height Set Screen
          G04947444Courtesy of © TOYOTA, LICENSE AGREEMENT TMS1002
    4. SET PARALLEL PARKING OFFSET
      1. Select "PARALLEL OFFSET" on the SIGNAL CHECK menu.
      2. Perform the parallel parking offset.
        1. Press the UP or DOWN switches to adjust.
          Fig 55: Display - Parallel Parking Offset Screen
          G04947445Courtesy of © TOYOTA, LICENSE AGREEMENT TMS1002
    5. SET VOLUME
      1. Select "VOLUME" on the SIGNAL CHECK menu.
      2. Select the volume level on the VOLUME menu.
        Fig 56: Display - VOLUME
        G04947446Courtesy of © TOYOTA, LICENSE AGREEMENT TMS1002
    6. SET CAMERA POSITION SETTING
      1. Select the "NEXT" button on the SIGNAL MENU screen.
    7. Perform the roll angle adjustment.
      1. Press the directional switches to rotate the target adjustment bares.
        Fig 57: Display - Target Adjustment Bar On Camera Position Setting
        G04947447Courtesy of © TOYOTA, LICENSE AGREEMENT TMS1002
    8. Perform the vertical and horizontal position adjustment.
      1. Press the directional switches to move the target adjustment boxes.
        Fig 58: Display - Vertical And Horizontal Position Adjustment
        G04947448Courtesy of © TOYOTA, LICENSE AGREEMENT TMS1002
    9. SET BUMPER POSITION
      1. Press the directional switches to move the target adjustment.
      2. If the right and left bumper need to be adjusted individually, press the "L/R" button on the BUMPER.
        Fig 59: Display - Bumper Adjustment Screen
        G04947449Courtesy of © TOYOTA, LICENSE AGREEMENT TMS1002
      3. Press the directional switches to move the target adjustment on the LEFT BUMPER and RIGHT BUMPER screen.
        Fig 60: Display - Left Bumper Adjustment Screen
        G04947450Courtesy of © TOYOTA, LICENSE AGREEMENT TMS1002
      4. Check that A and the target adjustment bar are overlapping.
        • If A and the target adjustment bar are not aligned even if the tires are aligned straight ahead, perform the CAMERA POSITION SETTING operation.
    10. CHECK VERIFY MODE
      1. Selecting "NEXT" will move to the STEERING ANGLE SETTING screen, and complete the adjustment.

        HINT:

        The update is not completed until the "NEXT" key is pressed.

        Fig 61: Display - VERIFY MODE
        G04947451Courtesy of © TOYOTA, LICENSE AGREEMENT TMS1002
    11. SET STEERING ANGLE SETTING
      1. Perform the STEERING CENTER MEMORIZE operation.
        1. Check that the steering wheel is centered, and then press "STEERING CENTER MEMORIZE".

          HINT:

          • When performing removal and installation, or replacement of the television camera, steering angle adjustment is not required. Press "OK" on the steering angle setting screen. However, the current steering angle is automatically stored as the steering angle neutral point when the steering angle setting screen is displayed. Make sure that the steering wheel is centered before changing the display to the steering angle setting screen.
          • Even when storing the steering angle neutral point only, the system cannot store it unless the operation is completed by following the prompts from "NEXT" to "OK".
            Fig 62: Display - Steering Angle Setting Screen
            G04947452Courtesy of © TOYOTA, LICENSE AGREEMENT TMS1002
      2. Perform the MAX STEERING ANGLE MEMORIZE operation.
        1. After adjusting the steering angle neutral point, turn the steering wheel to the left and right lock positions and press "MAX STEERING ANGLE MEMORIZE". The maximum steering angle is then stored.

          HINT:

          The key "OK" does not respond until the system stores the steering angle neutral point and maximum steering angle.

    12. FINISH DIAGNOSIS MODE
      1. Turn the engine switch off.
  24. LEXUS LINK SYSTEM 
    1. MAYDAY ECU INITIALIZATION

      HINT:

      This procedure is for switching a new mayday ECU from the Factory Mode into Demo Mode.

      1. Turn the engine switch from OFF to ON (IG) (engine does not have to be running).
      2. The mayday ECU will perform the Factory Mode Start Sequence for approximately 30 seconds.

        HINT:

        • In Factory Mode, for each ignition cycle OFF to ON (IG), or after checking or clearing DTCs, the ECU will perform a start sequence that includes a Japanese prompt and flashing LEDs (approximately 30 seconds). Then the LEDs will turn off. Do not push any buttons during this start sequence.
        • If there is a DTC detected during this Factory Mode Start Sequence, after the start sequence, the red LED will remain on and a Japanese prompt will repeat 5 times. Do not press any buttons during these prompts.
      3. BUTTON SEQUENCE:

        While pressing and holding the VOL+ button, press and release the PHONE button 5 times within 15 seconds, then release the VOL+ button. When switched to Demo Mode, each LED will flash one time then turn off (approximately 5 seconds).

      4. CONFIRMATION:

        Confirm Demo Mode by pressing the SERVICES button and listening for the demo prompt "Hello and welcome to LEXUS Link..." (the engine switch must be ON (IG) for the SERVICES button to function). Additionally, after each ignition cycle OFF to ON (IG), the LEDs will each flash one time each. This start sequence takes approximately 5 seconds. If Demo Mode is not confirmed, repeat the initialization procedure.

        HINT:

        • Before troubleshooting a DTC, attempt to initialize the ECU into Demo Mode with the button sequence. Then access DTCs and troubleshoot the ECU in Demo Mode. If necessary, DTCs can still be accessed in Factory Mode. However, the 30 second Factory Mode Start Sequence (and the Japanese prompt will repeat 5 times if a DTC is set) will occur after each ignition cycle OFF to ON (IG), and after each DTC check or clear. Do not press any buttons during this start sequence.
        • A red LED continuously on in any mode indicates that there is a current DTC set. Refer to  5 DTC chart.
        • Do not push any buttons during any start sequences (LED flashing or voice prompts).
    2. MAYDAY ECU REGISTRATION/ENROLLMENT
      1. Turn the engine switch ON (IG) and wait for the 5 second LED flash start sequence. Press the SERVICES button when the mayday ECU is set normally and confirm that the following demo message is provided.

        "Hello and welcome to LEXUS Link..."

        If the message is not provided, perform the "MAYDAY ECU INITIALIZATION BUTTON SEQUENCE" again.

      2. As the message states, press the SERVICES button again during the prompt to connect to the LEXUS Link call center.

        HINT:

        Usually this call will connect within 15 to 30 seconds. However, it may take several minutes depending on cellular service in the area. A progression tone (i.e., beep) will be heard every 5 seconds to indicate that the connection attempt is in progress.

      3. A LEXUS Link call center advisor will answer and instruct the technician on how to register/enroll the new mayday ECU. The ESN, STID and VIN may be required at this time.

        HINT:

        • If the LEXUS Link call center cannot be reached after several attempts using the SERVICES button, or a cell tower message is heard, such as "Welcome to Verizon Wireless, your phone is not active at this time...", call the LEXUS Link call center by pushing the EMERGENCY button.
        • The LED flash start sequence (approximately 5 seconds) after ignition is cycled or after checking/clearing DTCs remains present after enrollment. A green LED continuously on after this sequence indicates that the LEXUS Link System is activity enrolled.
    3. MAYDAY BATTERY REGISTRATION

      HINT:

      • This procedure is required to register a new mayday battery and clear DTC 6-1. This procedure matches the new mayday battery with the new or used ECU.
      • A new mayday ECU always requires a new mayday battery (used mayday batteries should not be reused in a new ECU).
      • If the new replacement ECU is packaged and already connected to the new mayday battery when it arrives from the factory, and current DTC 6-1 is not set, do not perform the new mayday battery registration (the battery is already registered to the ECU that it is connected to).
      1. Turn the engine switch from OFF to ON (IG) and wait for the start up sequence of LED flashing to complete. Do not press any buttons during this start up sequence.

        (Note that Demo Mode and active enrolled ECUs have approximately a 5 second LED flashing start sequence. Factory Mode has approximately 30 seconds of LED flashing with a Japanese voice prompt. Also note if a current DTC is set in Factory Mode after this start sequence. This can be confirmed if the red LED remains on and an additional Japanese prompt repeats 5 times.)

      2. BUTTON SEQUENCE:

        Press and hold the PTT button while completing the following sequence of button presses. VOL+, VOL+, VOL-, VOL-, VOL+, VOL+, VOL-, VOL-, VOL+, VOL+, VOL-, VOL-

        Release all buttons. This button press sequence should be performed within 15 seconds.

      3. The system will then perform the same start sequence as described above. After this start sequence completes, cycle the ignition to off then ON (IG). Wait for the start sequence to complete. The new mayday battery is now registered to the mayday ECU and DTC 6-1 should be cleared.

        HINT:

        The mayday battery registration can be done in any mode (Factory Mode, Demo Mode or activity enrolled).

    4. MAYDAY BATTERY CONFIRMATION
      1. After replacement check: If the "MAYDAY BATTERY REGISTRATION BUTTON SEQUENCE" has been completed, turn the engine switch OFF and ON (IG), wait for the start sequence described in the "MAYDAY BATTERY REGISTRATION". Then check that current DTC 6-1 is cleared.
        NOTE: If the "MAYDAY BATTERY REGISTRATION BUTTON SEQUENCE" has not been completed correctly, current DTC 6-1 will continue to be detected even if the mayday battery is replaced with a new one. In this case, check to be sure the old battery is removed and the new battery is installed. Then perform the "MAYDAY BATTERY REGISTRATION BUTTON SEQUENCE" again.
  25. INITIALIZE POWER WINDOW CONTROL SYSTEM (POWER WINDOW REGULATOR MOTOR (ALL DOORS)) 
    CAUTION: When the power window regulator motor is reinstalled or replaced, the power window control system must be initialized. Functions such as the AUTO UP/DOWN, jam protection and key-off do not operate if the initialization is not performed.

    HINT:

    When the battery is replaced, it is not necessary to initialize the power window regulator motor.

    NOTE:
    • When the power window regulator motor assembly is replaced, DTC B2313 is output. Clear the DTC after the initialization.
    • When performing initialization, do not perform any other procedures.
    • After a door glass or a door glass run has been replaced, the jam protection function may operate unexpectedly when the AUTO UP function is used, due to detection of the different operation learned value of the door glass movement speed. In such cases, the AUTO UP function can be resumed by repeating the following operation at least 5 times:
      1. Open the power window by fully pushing down the switch.
      2. Close the power window by fully pulling up the power window switch and holding it at the AUTO UP position.
    • If the initialization is not completed properly, the LIN communication system may have a malfunction.
    1. Initialization procedures when replacing the power window regulator motor with new one
      1. Connect the battery and turn the engine switch ON (IG). (At this time, the LED on the power window regulator switch blinks to indicate that it is ready for initialization.)
      2. Fully open the window by fully pushing the power window regulator switch, and hold the switch for 1 second or more after the window is fully opened.
      3. Fully close the power window by fully pulling the power window regulator switch, and hold the switch for 1 second or more after the window is fully closed to reset the glass position. The LED on the power window regulator switch changes from blinking to illuminated to indicate that the initialization is complete.
    2. Initialization procedures when removing/installing the power window regulator motor assembly
      1. Connect the battery and turn the engine switch ON (IG). (At this time, the LED on the power window regulator switch blinks to indicate that it is ready for initialization.)
      2. Fully close the power window by fully pulling the power window regulator switch, and hold the switch for 6 seconds or more after the window is fully closed. (If the power window does not move or stops halfway even when the switch is fully pulled, release the switch and fully pull it again.)
      3. Fully open the window by pushing down the power window regulator switch, and hold the switch for 1 second or more after the window is fully opened.
      4. Release the power window regulator switch. Then fully push and hold the switch 4 seconds or more.
      5. Fully close the power window by fully pulling the power window regulator switch, and hold the switch 1 second or more after the window is fully closed to reset the glass position. The LED on the power window regulator switch changes from blinking to illuminated to indicate that the initialization is complete.
    3. Initialization procedures when the power window does not fully open
      1. Perform the initialization procedures when removing/installing the power window regulator motor assembly.
  26. INNER REAR VIEW MIRROR 
    1. COMPASS DISPLAY MODE SELECTION
      1. Turn the compass display ON and OFF by pressing and holding the AUTO switch for 3 seconds.
      2. Procedures for selecting compass mode.
        1. Turn the engine switch ON (IG).
        2. Check that the inner mirror's LED illuminates green.
        3. Check that one of the following directions is displayed: N, NE, E, SE, S, SW, W, NW.
        4. Press and hold the inner mirror's AUTO switch for 3 seconds, and check that the direction display turns off.

          HINT:

          Immediately after the AUTO switch is pressed, check that the LED turns off and the inner mirror anti-glare mode turns off. Then, after the AUTO switch is pressed and held for 3 seconds, check that the LED illuminates and the inner mirror anti-glare mode turns on.

    2. COMPASS ZONE SETTING
      1. The location of magnetic north and true north differs depending on the vehicle's location. Adjustment of the compass's magnetism is required. The user must select a zone as the automatic adjustment will be different depending on the vehicle's location.
      2. Change the inner mirror's zone setting using the AUTO switch procedures described below.
      3. Procedures for selecting zone.
        1. Turn the engine switch ON (IG).
        2. Check that the inner mirror's LED illuminates green.
        3. Check that one of the following directions is displayed: N, NE, E, SE, S, SW, W, NW.
        4. Press and hold the inner mirror's AUTO switch for 3 seconds, and check that the direction display turns off.
        5. Do not release the AUTO switch and hold it for another 3 seconds (total press time: 6 seconds). Check that ZONE or a number from 1 to 15 is displayed on the compass.
        6. Each press of the AUTO switch causes the number display to increase by 1. Use the zone setting map to find the appropriate zone and set the zone number.
        7. After setting the zone number, check that waiting several seconds causes the compass to return to the direction display.
    3. COMPASS ZONE MAP
      Fig 63: Identifying Compass Zone Map
      G04947453Courtesy of © TOYOTA, LICENSE AGREEMENT TMS1002
    4. COMPASS CALIBRATION
      1. Compass calibration should be performed on each vehicle, as each vehicle has a unique magnetic field. Performing compass calibration will store information about the vehicle's magnetic field.
      2. Procedures for calibration.
        1. Turn the engine switch ON (IG).
        2. Check that the inner mirror's LED illuminates green.
        3. Check that one of the following directions is displayed: N, NE, E, SE, S, SW, W, NW.
        4. Press and hold the inner mirror's AUTO switch for 3 seconds, and check that CAL is displayed on the compass.
        5. Perform calibration by driving the vehicle at 8 km/h (5 mph) or less in a circle.
        6. Drive in a circle 1 to 3 times, and check that calibration is completed by confirming that CAL is not displayed on the compass.

          HINT:

          After the calibration is performed once, calibration will not be necessary unless the vehicle's magnetic field changes drastically. If the magnetic field has changed, CAL will be displayed on the compass.

  27. INITIALIZE FRONT POWER SEAT CONTROL SYSTEM 
    NOTE: The position sensor initialization must be performed if one of the following occurs.
    • Front power seat switch (seat ECU) is replaced.
    • Front seat adjuster is replaced.
    • Initialization cancel operation is performed.
    • Power seat motor for the driver seat is operated when D P/SEAT fuse or D MPX-B 1 fuse has an open circuit.
    • Power seat motor for the front passenger seat is operated when P P/SEAT 1 fuse or P MPX-B fuse has an open circuit.
    • Power seat motor inspection is performed.
    1. Initialization cancel operation for driver seat
      1. Turn the engine switch on (IG).
      2. Press the power seat switch front vertical switch downward 3 times.*1
      3. Within 10 seconds of the above operation, begin the following operation: perform the rearward reclining operation and upward lifter operation simultaneously for 10 seconds or more (buzzer sounds 0.5 seconds). This will cancel the initialization.*2
        Fig 64: Initializing Cancel Operation For Driver Seat
        G05770274Courtesy of © TOYOTA, LICENSE AGREEMENT TMS1002
    2. Initialization operation for driver seat
      1. Perform the initialization cancel operation.
      2. Use the slide operation to move the front power seat to the rearmost lock position.*1

        HINT:

        • While performing the slide operation, the buzzer sounds.
        • After the slide operation initialization is complete, the headrest and cushion extender initialization occurs automatically. At this time, the headrest will move to the uppermost position, and the cushion extender will move rearward.
      3. Use the reclining operation to move the seatback to the foremost lock position (buzzer sounds for 0.5 seconds).*2
        Fig 65: Initializing Driver Seat Operation
        G05770275Courtesy of © TOYOTA, LICENSE AGREEMENT TMS1002
      4. Operate the power seat switch and check that the head restraint moves to be lowermost position.*1
      5. Operate the power seat switch and check that the seat slides forward and rearward and that the beeping sound is not emitted.*2

        HINT:

        After performing all of the procedures above, if the buzzer sounds while performing a manual operation, the initialization was not completed properly. Repeat all of the above procedures.

        Fig 66: Identifying Power Driver Seat Switch Position
        G04952415Courtesy of © TOYOTA, LICENSE AGREEMENT TMS1002
    3. Initialization cancel operation for passenger seat
      1. Turn the engine switch on (IG).
      2. Press the power seat switch front vertical switch downward 3 times.*1
      3. Within 10 seconds of the above operation, begin the following operation: perform the rearward reclining operation and upward lifter operation simultaneously for 10 seconds or more (buzzer sounds 0.5 seconds). This will cancel the initialization.*2
        Fig 67: Initializing Cancel Operation For Passenger Seat
        G05770277Courtesy of © TOYOTA, LICENSE AGREEMENT TMS1002
    4. Initialization operation for passenger seat

      HINT:

      *: for Ottoman

      1. Perform the initialization cancel operation.
      2. Use the slide operation to move the front power seat to the rearmost lock position.*1

        HINT:

        • While performing the slide operation, the buzzer sounds.
        • After the slide operation initialization is complete, the headrest and lifter initialization occurs automatically. At this time, the headrest will move to the lowermost position, and the lifter will move either upward or downward.
      3. Use the reclining operation to move the seatback to the foremost lock position (buzzer sounds for 0.5 seconds).*2
        Fig 68: Initializing Passenger Seat Operation
        G05770278Courtesy of © TOYOTA, LICENSE AGREEMENT TMS1002
      4. Operate the power seat switch and check that the head restraint moves to be uppermost position.*1
      5. Operate the power seat switch and check that the seat slides forward and rearward and that the beeping sound is not emitted.*2

        HINT:

        • After performing all of the procedures above, if the buzzer sounds while performing a manual operation, perform the rear seat initialization*.
        • After performing all of the procedures above, if the buzzer sounds while performing a manual operation, the initialization was not completed properly. Repeat all of the above procedures.
  28. REAR POWER SEAT INITIALIZATION 
    NOTE: The position sensor initialization must be performed if one of the following occurs: 1) the position control ECU is replaced or removed and installed; 2) the rear seat adjuster is replaced; or 3) the initialization cancel operation is performed.

    HINT:

    The initialization is only performed for the seat selected with the left/right selection switch.

    Fig 69: Identifying Power Seat Position
    G04952418Courtesy of © TOYOTA, LICENSE AGREEMENT TMS1002
    1. Initialization cancel operation
      1. Turn the engine switch ON (IG).
      2. Press the rear power seat switch upper lumbar switch rearward 3 times.
        Fig 70: Identifying Power Seat Switch Upper Lumbar Switch Position
        G04952505Courtesy of © TOYOTA, LICENSE AGREEMENT TMS1002
      3. Within 10 seconds of the above operation, begin the following operation: perform the downward headrest operation and forward slide operation simultaneously for 10 seconds or more. This will cancel the initialization (buzzer sounds for 0.5 seconds).
        Fig 71: Identifying Rear Power Seat Sliding Position
        G04952506Courtesy of © TOYOTA, LICENSE AGREEMENT TMS1002
    2. Initialization operation

      HINT:

      • *: w/ Ottoman
      • If the initialization is not completed, the buzzer will sound during the manual operation.
      1. Perform the initialization cancel operation.
      2. Use the slide operation to move the rear power seat to the rearmost lock position.

        HINT:

        While performing the slide operation, the buzzer sounds.

        Fig 72: Moving Rear Power Seat To Rearmost Lock Position
        G04952507Courtesy of © TOYOTA, LICENSE AGREEMENT TMS1002
      3. Use the reclining* operation to move the rear power seat to the rearmost lock position (buzzer sounds for 0.1 seconds).
        Fig 73: Moving Rear Power Seat To Rearmost Lock Position
        G04952508Courtesy of © TOYOTA, LICENSE AGREEMENT TMS1002
      4. Use the ottoman* operation to move the rear power seat to the lowermost lock position (buzzer sounds for 0.1 seconds).
        Fig 74: Moving Rear Power Seat To Lowermost Lock Position
        G04952509Courtesy of © TOYOTA, LICENSE AGREEMENT TMS1002
      5. Use the upper lumbar operation to move the upper seatback to the rearmost lock position (buzzer sounds for 0.5 seconds). The initialization is complete.
      6. Operate the power seat switch and check that the seat slides forward and rearward and that the beeping sound is not emitted.
  29. RESET POWER TRUNK LID SYSTEM 
    NOTE: Perform initialization of the power trunk lid system (power trunk lid control ECU initialization) if one of the following is performed: 1) The negative (-) battery cable is disconnected; 2) a wire harness, the luggage closer motor (power trunk lid control ECU) or luggage compartment door closer is replaced or removed/installed; or 3) the RR MPX-B1 fuse is replaced or removed/installed. If initialization is not performed, the power trunk lid system will not operate.
    Fig 75: Moving Upper Seatback To Rearmost Lock Position
    G04952510Courtesy of © TOYOTA, LICENSE AGREEMENT TMS1002
    1. Completely close the luggage compartment door by hand once.

      HINT:

      • It is not necessary to perform initialization if the negative (-) battery cable is disconnected while the luggage compartment door is closed.
      • If the power trunk lid system does not operate and/or the luggage compartment door does not open, disconnect the negative (-) battery cable. Then wait 10 seconds, reconnect the cable and perform initialization of the power trunk lid system again.
  30. RESET REAR DOOR SUNSHADE SYSTEM 
    NOTE: The rear curtain position reset operation must be performed when one of the following occurs: 1) battery removal and installation; 2) ECU reset; or 3) jam protection related detachment.
    1. Turn the engine switch on.
    2. Push the front or rear switch's rear door sunshade switch.

      HINT:

      The motor must be moved in the lowering direction.

    3. Push the front or rear switch's rear door sunshade switch.

      HINT:

      Make sure that the rear curtain raises.

  31. INITIALIZE SLIDING ROOF DRIVE GEAR SUB-ASSEMBLY 
    NOTE:
    • When the sliding roof glass is replaced or removed and installed, or the drive gear assembly is replaced, the sliding roof drive gear requires initialization (pulse sensor initial position setting), as the glass position cannot be determined. If initialization is not performed, the AUTO slide open and close/tilt up and down function may not operate, or the sliding roof may move in reverse or become misaligned.
    • During initialization, do not apply a physical shock, such as opening/closing a door or driving the vehicle at 5 km/h (3.10 mph) or more, to the vehicle and do not perform the following electrical operations:
      1. Cranking the engine
      2. Turning the engine switch from on (IG) to off
      3. Operating the power window switches
      4. Operating the window defogger switch
      5. Operating the blower switch
      6. Locking/Unlocking the door
      7. Operating the headlight dimmer switch

    HINT:

    When the cable is disconnected and reconnected to the negative (-) battery terminal or the drive gear connector is disconnected and reconnected, the sliding roof drive gear (pulse sensor initial position setting) initialization is not necessary.

    1. Perform initialization according to the table below.
      INITIALIZATION REFERENCE CHART

      Condition of Sliding Roof Proceed to
      AUTO slide open and close/tilt up and down function does not operate Procedure A
      Sliding roof moves in reverse direction during tilt down operation Procedure B
      Sliding roof moves in reverse direction during slide close operation Procedure C
      1. Procedure A
        1. Turn the engine switch on (IG).
        2. Close the sliding roof to the fully closed position.
        3. Press and hold the TILT UP switch to perform the following operations: tilt up → approximately 1 second pause → tilt down → slide open → slide close.
          NOTE: Make sure not to release the switch during the initialization. If the switch is released, perform the initialization again.
        4. The initialization is completed.
      2. Procedure B
        1. Turn the engine switch on (IG).
        2. Press the TILT UP switch until the sliding roof stops.

          HINT:

          If the glass becomes misaligned or does not fully tilt up, perform the following operations:

          1. Operate the SLIDE CLOSE switch until the sliding roof stops moving.
          2. Operate the TILT UP switch until the sliding roof stops moving, then proceed to the next step.
        3. Release the switch.
        4. Press the TILT UP switch for 10 seconds or more to perform the following operations: tilt up → approximately 1 second pause → tilt down → slide open → slide close.
          NOTE: Make sure not to release the switch during the initialization. If the switch is released, perform the initialization again.
        5. The initialization is completed.
      3. Procedure C
        1. Turn the engine switch on (IG).
        2. Press and hold the SLIDE CLOSE switch to perform the following operations: slide close → move in reverse direction → 10 second pause → slide close.
          NOTE: Make sure not to release the switch during the initialization. If the switch is released, perform the initialization again.
        3. After the sliding roof stops in the fully closed position, release the switch.
        4. Perform procedure A.