LEMON Manuals: Even more car manuals for everyone: 1960-2025
Home >> Lexus >> 2009 >> LS 600hL >> Repair and Diagnosis >> External Pages >> Different car >> Section 42 (Audio/Visual) >> Audio And Visual System >> Disc Player Communication Error >> Inspection Procedure
April 5, 2026: LEMON Manuals is launched! Read the announcement.

Inspection Procedure

WARNING: This page is about a different car, the 2008 Lexus LS 600hL. However, it is still accessible from the selected car via links, so may be relevant.
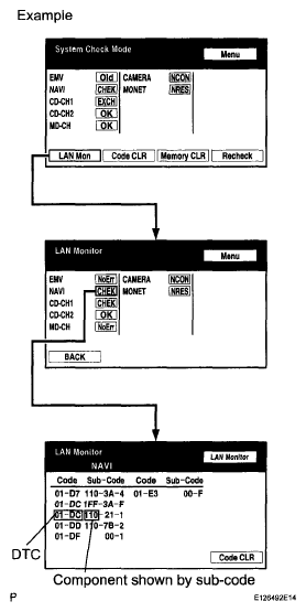
  1. IDENTIFY COMPONENT SHOWN BY SUB-CODE 
    1. Enter the diagnostic mode.
    2. Press the "LAN Mon" switch to change to "LAN Monitor" mode.
    3. Identify the component shown by the sub-code

      HINT:

      • "110 (multi-display)" is the component shown by the sub-code in the example shown in the illustration.
      • The sub-code will be indicated by its physical address.
      • For the component list, refer to "DIAGNOSIS DISPLAY DETAILED DESCRIPTION "
        Fig 1: Screen Display - LAN Monitor
        G05783558Courtesy of © TOYOTA, LICENSE AGREEMENT TMS1002
  2. CHECK POWER SOURCE CIRCUIT OF COMPONENT SHOWN BY SUB-CODE 
    1. Inspect the power source circuit of the component shown by the sub-code

      If the power source circuit is operating normally, proceed to the next step

      Component table 

      COMPONENT CHART

      Display Proceed to
      Radio receiver (190) Radio receiver power source circuit (see RADIO RECEIVER POWER SOURCE CIRCUIT  )
      Stereo component amplifier (440) Stereo component amplifier power source circuit (see STEREO COMPONENT AMPLIFIER POWER SOURCE CIRCUIT  )
      Multi-display (110)*2, *5 Multi-display power source circuit (see MULTI-DISPLAY POWER SOURCE CIRCUIT  )
      Display and navigation assembly (118)*1 Display and navigation assembly power source circuit (see DISPLAY AND NAVIGATION ASSEMBLY POWER SOURCE CIRCUIT )
      Navigation ECU (178)*5 Navigation ECU power source circuit (see NAVIGATION ECU POWER SOURCE CIRCUIT )
      Clock (1D6) Clock power source circuit (see CLOCK POWER SOURCE CIRCUIT )
      Television display (1F6) Television display power source circuit (see TELEVISION DISPLAY POWER SOURCE CIRCUIT  )
      Parking assist ECU (1AC)*3 Parking assist ECU power source circuit (see ECU POWER SOURCE CIRCUIT )
      Rear power seat module switch (1C0) Rear seat control switch power source circuit (see REAR SEAT CONTROL SWITCH POWER SOURCE CIRCUIT  )
      Satellite radio tuner (1F1)*4 Satellite radio tuner power source circuit (see SATELLITE RADIO TUNER POWER SOURCE CIRCUIT  )
      HINT:
      *1: w/ Navigation System (for HDD)
      *2: w/o Navigation System (w/ Multi-display)
      *3: w/ Advanced Parking Guidance System
      *4: w/ Satellite Radio Tuner
      *5: w/ Navigation System (for DVD)
  3. INSPECT RADIO RECEIVER ASSEMBLY 
    Fig 2: Identifying Radio Receiver's L51, L52 and L53 Connector Terminals
    G05783559Courtesy of © TOYOTA, LICENSE AGREEMENT TMS1002
    1. Disconnect the L51, L52 and L53 receiver connectors.
    2. Measure the resistance according to the value(s) in the table below.

      Standard resistance 

      TESTER CONNECTION SPECIFIED CONDITION CHART

      Tester Connection Condition Specified Condition
      L51-5 (ATX+) - L51-15 (ATX-) Always 60 to 80 Ω
      L52-9 (TX+) - L52-10 (TX-)
      L53-9 (TXM+) - L53-10 (TXM-)

    NG: REPLACE RADIO RECEIVER ASSEMBLY  (See REMOVAL  )

    OK: Go to next step 

  4. CHECK HARNESS AND CONNECTOR (DISC PLAYER - COMPONENT SHOWN BY SUB-CODE) 

    HINT:

    • Start the check from the circuit that is near the component shown by the sub-code first
    • For details of the connectors, refer to "TERMINALS OF ECU "
    1. Referring to the AVC-LAN wiring diagram, check the AVC-LAN circuit between the disc player and the component shown by the sub-code.
      1. Disconnect all connectors between the disc player and the component shown by the sub-code
      2. Check for an open or short in the AVC-LAN circuit between the disc player and the component shown by the sub-code

        OK: There is no open or short circuit. 

        Fig 3: AVC-LAN Wiring Diagram
        G05783560Courtesy of © TOYOTA, LICENSE AGREEMENT TMS1002

    NG: REPAIR OR REPLACE HARNESS OR CONNECTOR 

    OK: Go to next step 

  5. REPLACE COMPONENT SHOWN BY SUB-CODE 
    1. Replace the component shown by the sub-code with a normal one and check if the same problem occurs again.

      OK: Same problem does not occur. 

    NG: REPLACE DISC PLAYER  (See REMOVAL  )

    OK: END