LEMON Manuals: Even more car manuals for everyone: 1960-2025
Home >> Lexus >> 2009 >> RX 350 AWD >> Repair and Diagnosis >> Engine Performance >> Engine Control Systems >> Engine Control System (Service Information) >> ECM >> Removal >> Removal
April 5, 2026: LEMON Manuals is launched! Read the announcement.

Engine Control System (Service Information): ECM: Removal: Removal

  1. DISCONNECT CABLE FROM NEGATIVE BATTERY TERMINAL 
  2. REMOVE GLOVE COMPARTMENT DOOR ASSEMBLY 
  3. REMOVE ECM 
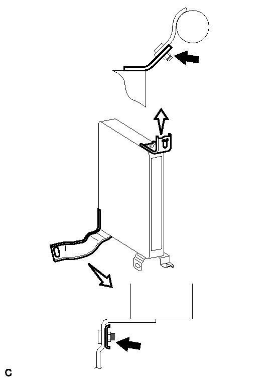
    1. Disconnect the 5 ECM connectors.
    2. Disconnect the wire harness clamp.
    3. Remove the 2 nuts and ECM.
      Fig 1: Locating ECM Bracket Screws
      GTY143925Courtesy of © TOYOTA, LICENSE AGREEMENT TMS1002
    4. Remove the 2 screws and the ECM No. 1 bracket from the ECM.
    5. Remove the 2 screws and the ECM No. 2 bracket from the ECM.
    6. Remove the 2 screws and the ECM No. 3 bracket from the ECM.