LEMON Manuals: Even more car manuals for everyone: 1960-2025
Home >> Lexus >> 2009 >> SC 430 V8-4.3L (3UZ-FE) >> Repair and Diagnosis >> Powertrain Management >> Computers and Control Systems >> Relays and Modules - Computers and Control Systems >> Main Relay (Computer/Fuel System) >> Testing and Inspection >> Circuit Opening Relay
April 5, 2026: LEMON Manuals is launched! Read the announcement.

Circuit Opening Relay








3UZ-FE ENGINE CONTROL SYSTEM: CIRCUIT OPENING RELAY: ON-VEHICLE INSPECTION

ON-VEHICLE INSPECTION

1. DISCONNECT CABLE FROM NEGATIVE BATTERY TERMINAL
CAUTION:
Wait at least 90 seconds after disconnecting the cable from the negative (-) battery terminal to prevent airbag and seat belt pretensioner activation.

2. REMOVE CIRCUIT OPENING RELAY (Marking: C/OPN)
(a) Remove the engine room No. 2 relay block cover.
(b) Remove the circuit opening relay from the engine room No. 2 relay block.
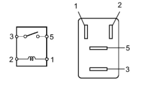
3. INSPECT CIRCUIT OPENING RELAY





(a) Measure the resistance of the circuit opening relay.
Standard resistance:





If the result is not as specified, replace the relay.
4. INSTALL CIRCUIT OPENING RELAY
5. CONNECT CABLE TO NEGATIVE BATTERY TERMINAL
6. PERFORM INITIALIZATION
(a) Perform initialization Repair Instruction - Initialization.
NOTE:
Certain systems need to be initialized after disconnecting and reconnecting the cable from the negative (-) battery terminal.