LEMON Manuals: Even more car manuals for everyone: 1960-2025
Home >> Lexus >> 2012 >> IS 250 Base, AWD >> Repair and Diagnosis >> Transmission >> Transfer Case >> Four Wheel Drive Control System (Diagnostics - Introduction) >> Four Wheel Drive Control System >> System Description >> System Description
April 5, 2026: LEMON Manuals is launched! Read the announcement.

System Description

  1. GENERAL DESCRIPTION 
    1. The Four Wheel Drive Control System (4WD Control System) consists of the hydraulic control mechanism of the transfer unit, steering angle sensor, wheel speed sensor, skid control ECU, and 4WD control ECU.
    2. The 4WD Control ECU controls the fluid pressure in the center differential limiting clutch to distribute the drive force to the front and rear wheels in accordance with the vehicle speed and vehicle behavior. Thus, it helps create a stable driving performance.
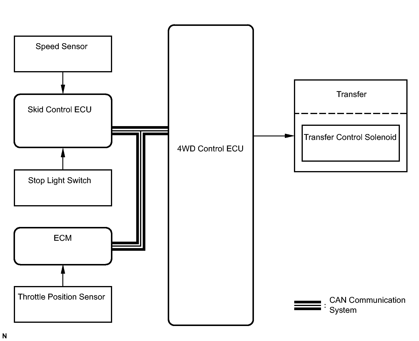
      Fig 1: View Of CAN And Multiplex Communication System Operation Diagram
      GTY113749Courtesy of © TOYOTA, LICENSE AGREEMENT TMS1002
    3. Main components and their functions.
      Component Function
      4WD Warning
      (Multi-information Display)
      Displays a warning to the driver when the system malfunctions
      Slip Indicator Light Notifies driver that the current road surface is slippery
      Stop Light Switch Detects the brake operation
      Throttle Position Sensor Detects the opening angle of the throttle valve
      Park/Neutral Position Switch Detects the "P/N" position
      Steering Angle Sensor Detects turning of the steering wheel
      Linear Solenoid (Transfer control solenoid) Controls hydraulic pressure of the center differential control limiting clutch in accordance with the signals from the 4WD control ECU
      Brake Actuator assembly (Skid Control ECU) Detects the signals from each sensor and outputs them to the 4WD control ECU
      4WD Control ECU Detects the signals provided by various sensors via the skid control ECU, actuates the linear solenoid, and controls the system
      ECM Sends the throttle valve angle signal and park / neutral position switch signal to the skid control ECU
      Speed Sensor Detects the wheel speed of each 4 wheels
  2. FOUR WHEEL DRIVE CONTROL SYSTEM OUTLINE 
    1. The four wheel drive control system (4WD control system) is a full-time 4WD system that electronically controls the center differential limiting clutch of the transfer to distribute optimal drive forces to the front and rear wheels in accordance with the driving conditions.
    2. This system adopts a UF1A transfer case that uses a planetary gear type center differential in the transfer section. A wet type multiple disc clutch in the differential control limiting clutch and a silent chain are used to transfer driving force to the front wheels.
    3. Four wheel drive control system function.
      Operation Description
      Vehicle initial acceleration and low-speed turn control
      • This controls the amount of sideway sliding that occurs at the rear of vehicles when accelerating from a stop to improve acceleration and hill climbing capacity
      • This prevents tight corner braking during a low-speed turn
      Slip control at vehicle initial acceleration This helps prevent the vehicle from sliding sideways, when accelerating from a stop with the steering wheel turned and ensures a stable start up and steerability
      Slip control This ensures high turning performance and stability not affected by road surface conditions during mid and high speed running
      Acceleration control This controls straight-line running when accelerating during mid and high speed running to ensure straight-line capacity and stability of the vehicle
  3. SYSTEM OPERATION 

    Vehicle Start up and Low-speed Turn Control 

    • The 4WD control ECU controls the transfer control solenoid based on signals from the throttle position sensor and steering angle sensor. The transfer control solenoid controls the fluid pressure applied to the center differential limiting clutch. Thus, vehicle start up and low-speed turn control will be performed.
    • The 4WD control ECU controls the center differential coupling it directly before starting the vehicle in order to prevent slipping at vehicle initial acceleration or during acceleration on a grade or a low friction road.
    • The 4WD control ECU decreases the fluid pressure applied to the center differential limiting clutch during a low-speed turn based on the steering angle to prevent tight corner braking.
      Fig 2: CAN Communication Diagram - Vehicle Start Up And Low-Speed Turn Control
      GTY125551Courtesy of © TOYOTA, LICENSE AGREEMENT TMS1002

    Slip Control at Vehicle Start up 

    • The 4WD control ECU controls the transfer control solenoid based on signals from the throttle position sensor and speed sensor. The transfer control solenoid controls the fluid pressure applied to the center differential limiting clutch. Thus, slip control at vehicle initial acceleration will be performed.
    • If the vehicle starts moving with the steering wheel turned, the fluid pressure applied to the center differential limiting clutch is decreased by low-speed turn control. An excessive driving force may be applied to the rear wheels on a low friction road, causing the vehicle rear to move sideways. To prevent this, the 4WD control ECU detects differences between the front wheel speed and the rear wheel speed based on signals from the speed sensors to directly couple the center differential immediately.
      Fig 3: CAN Communication Diagram - Slip Control At Vehicle Start Up
      GTY137341Courtesy of © TOYOTA, LICENSE AGREEMENT TMS1002

    Slip Control 

    • The 4WD control ECU controls the transfer control solenoid based on signals from the speed sensor. The transfer control solenoid controls the fluid pressure applied to the center differential limiting clutch. Thus, slip control will be performed.
    • The 4WD control ECU detects differences between the front wheel speed and the rear wheel speed while driving at a medium or high speed based on signals from the speed sensors. Then, the 4WD control ECU calculates the fluid pressure required based on the difference in the wheel speeds and the vehicle speed and continuously applies the appropriate fluid pressure to the center differential limiting clutch, which stabilizes the vehicle.
      Fig 4: CAN Communication Diagram - Slip Control
      GTY122686Courtesy of © TOYOTA, LICENSE AGREEMENT TMS1002

    Acceleration Control 

    • The 4WD control ECU controls the transfer control solenoid based on the throttle position sensor and speed sensors. The transfer control solenoid controls the fluid pressure applied to the center differential limiting clutch. Thus, acceleration control will be performed.
    • If the difference between the front wheel speed and the rear wheel speed exceeds the specified value while driving at a medium or high speed, the 4WD control ECU, in accordance with the throttle valve angle, increases the fluid pressure applied to the center differential limiting clutch to directly couple the center differential. This prevents the rear wheels from slipping and stabilizes the vehicle.
      Fig 5: CAN Communication Diagram - Acceleration Control
      GTY128427Courtesy of © TOYOTA, LICENSE AGREEMENT TMS1002
  4. MECHANISM REFERENCE 
    1. Mechanism of the Center Differential.
      1. The center differential distributes the power from the transmission to the front and rear wheels. In addition, it absorbs the rotational difference between the front and rear drive shafts that is created during cornering.
      2. A planetary gear is used for the center differential, which unevenly distributes the driving force to the front and rear wheels.
      3. The center differential receives the drive force that is input by the transmission by way of the planetary carrier. The planetary carrier and the sun gear are controlled by the differential limiting clutch until they are in the lockup state.
      4. A compact, lightweight and extremely silent chain is used for the front wheel drive transmission, and the driving force is transferred to the front wheel drive shaft by the sun gear of the center differential.
      5. The drive force to the rear wheel drive shaft is output in a straight line with the transmission.
        Fig 6: View Of Center Differential Power Distribution Diagram
        GTY131392Courtesy of © TOYOTA, LICENSE AGREEMENT TMS1002
    2. Mechanism of the Center Differential Control Limiting Clutch.
      1. The center differential control limiting clutch is located between the planetary gear and the front wheel driving force distribution section. It consists of wet type clutch discs, plates, and piston. Its basic structure is the same as the clutch of an automatic transmission.
      2. This clutch utilizes the friction resistance, which is created by the speed difference that occurs between the plates and discs, to transmit torque and distribute torque to the center differential limiting clutch and the front and rear wheels.
      3. Adjustment of differential control limiting force is controlled by changing the hydraulic pressure that functions in the piston.
        Fig 7: Identifying Center Differential Components
        GTY113983Courtesy of © TOYOTA, LICENSE AGREEMENT TMS1002
    3. Mechanism of the Hydraulic Control (ATF Pressure Control).
      1. Line pressure for transmission control is also used by the transfer to simplify the transfer hydraulic system.
      2. Line pressure from the transmission is controlled by a modulator valve so that it does not rise above a specific pressure. This stabilizes hydraulic control of the linear solenoid valve.
      3. Hydraulic pressure controlled by the linear solenoid valve operates the control valve. It also controls the slip status of the center differential control limiting clutch by modulating the line hydraulic pressure from the transmission in the linear solenoid (transfer control solenoid).
        Fig 8: View Of Transmission Line Pressure Flow Diagram
        GTY125999Courtesy of © TOYOTA, LICENSE AGREEMENT TMS1002
    4. Mechanism of the Valve body & Linear Solenoid (Transfer Control Solenoid).
      1. The valve body, which is located in the bottom of the transfer case, has a two-stage composition consisting of an upper valve body and a valve body cover. The transfer control solenoid is installed in the upper valve body.
      2. The linear solenoid is integrated with electromagnetic section and the pressure modulating section. The spool pushes the pressure modulator valve according to the electric current value that makes the electromagnetic section function. The pressure modulating valve then generates hydraulic pressure to resist the pushing force of the spool, so it is possible to obtain hydraulic pressure proportional to the electric current value.
        Fig 9: Identifying Liner Solenoid Components
        GTY139868Courtesy of © TOYOTA, LICENSE AGREEMENT TMS1002