LEMON Manuals: Even more car manuals for everyone: 1960-2025
Home >> Lexus >> 2012 >> IS 250 Base, AWD >> Repair and Diagnosis >> Transmission >> Transfer Case >> Transfer Case (Service Information) >> Transfer Assembly >> Disassembly >> Disassembly
April 5, 2026: LEMON Manuals is launched! Read the announcement.

Transfer Assembly: Disassembly: Disassembly

  1. REMOVE TRANSFER OIL PAN 
    1. Remove the 9 bolts.
      Fig 1: Locating Transfer Oil Pan Bolts
      GTY101408Courtesy of © TOYOTA, LICENSE AGREEMENT TMS1002
    2. Insert the blade of oil pan seal cutter between the transfer oil pan and transfer case. Cut through the sealer and remove the transfer oil pan.
      Fig 2: Removing Transfer Oil Pan
      GTY104482Courtesy of © TOYOTA, LICENSE AGREEMENT TMS1002
      NOTE:

      Do not damage the contact surface of the transfer oil pan.

    3. Remove the transfer oil cleaner magnet from the transfer oil pan.
      Fig 3: Removing Metal Shavings From Magnet
      GTY100664Courtesy of © TOYOTA, LICENSE AGREEMENT TMS1002
      NOTE:
      • Clean the inside of the oil pan thoroughly, removing all metal shavings, sludge and any other foreign objects.
      • Remove any metal shavings from the magnet.
  2. REMOVE TRANSFER VALVE BODY ASSEMBLY 
    1. Remove the 4 bolts and the transfer valve body assembly.
      Fig 4: Locating Transfer Valve Body Assembly Bolts
      GTY106750Courtesy of © TOYOTA, LICENSE AGREEMENT TMS1002
    2. Disconnect the transfer wire connector from the transfer control solenoid.
    3. Remove the bolt and the transfer wire.
      Fig 5: Identifying Transfer Wire With Bolt
      GTY100994Courtesy of © TOYOTA, LICENSE AGREEMENT TMS1002
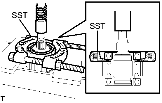
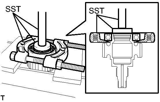
  3. REMOVE TRANSFER EXTENSION HOUSING DUST DEFLECTOR 
    1. Using SST, remove the transfer extension housing dust deflector.
      Fig 6: Removing Transfer Extension Housing Dust Deflector Using SST
      GTY103976Courtesy of © TOYOTA, LICENSE AGREEMENT TMS1002
      • SST: 09950-40011 
        • 09951-04010
        • 09952-04010
        • 09953-04020
        • 09954-04010
        • 09955-04051
        • 09958-04011
      NOTE:

      Apply grease to the threads and tip of the SST center bolt before use.

  4. REMOVE TRANSFER CASE 
    1. Remove the 8 bolts and clamp.
      Fig 7: Locating Transfer Case Bolts
      GTY135488Courtesy of © TOYOTA, LICENSE AGREEMENT TMS1002
    2. Using a plastic hammer, tap the transfer case to remove it.
      Fig 8: Tapping Transfer Case
      GTY101647Courtesy of © TOYOTA, LICENSE AGREEMENT TMS1002
  5. REMOVE TRANSFER REAR OUTPUT SHAFT ASSEMBLY 
    1. Remove the transfer rear output shaft assembly.
      Fig 9: Identifying Transfer Rear Output Shaft Assembly
      GTY102071Courtesy of © TOYOTA, LICENSE AGREEMENT TMS1002
  6. REMOVE FLANGE YOKE 
    1. Using SST and a hammer, release the staked part of the nut.
      Fig 10: Releasing Flange Yoke Nut Using SST And Hammer
      GTY106753Courtesy of © TOYOTA, LICENSE AGREEMENT TMS1002
      • SST: 09930-00010 
      NOTE:
      • Be sure to use the SST with the tapered surface facing the shaft.
      • Do not grind the tip of the SST with a grinder etc.
      • Completely loosen the staked part of the nut when removing it.
      • Do not damage the threads of the transfer drive sprocket.
    2. Using SST, hold the yoke.
      Fig 11: Removing Flange Nut
      GTY137585Courtesy of © TOYOTA, LICENSE AGREEMENT TMS1002
      • SST: 09330-00021 
      • SST: 09213-54015 
    3. Using a deep socket wrench (30 mm), remove the nut.
    4. Remove the flange yoke.
  7. REMOVE REAR TRANSFER CHAIN CASE 
    1. Remove the 10 bolts.
      Fig 12: Locating Rear Transfer Chain Case Bolts
      GTY106751Courtesy of © TOYOTA, LICENSE AGREEMENT TMS1002
    2. Tap the 3 protrusions of the transfer chain case gently with a brass bar and hammer to loosen, and remove it.
      Fig 13: Locating Protrusions Of Transfer Chain
      GTY141165Courtesy of © TOYOTA, LICENSE AGREEMENT TMS1002
      NOTE:

      Do not damage the transfer chain case.

  8. REMOVE TRANSFER FRONT DRIVE CHAIN 
    1. Remove the transfer front drive chain, transfer drive sprocket and transfer front driven clutch sleeve.
      Fig 14: Identifying Transfer Front Drive Chain
      GTY106754Courtesy of © TOYOTA, LICENSE AGREEMENT TMS1002
    2. Remove the transfer front drive chain from the transfer drive sprocket and transfer front driven clutch sleeve.
  9. REMOVE FRONT TRANSFER CHAIN CASE 
    1. Remove the 6 bolts and front transfer chain case.
      Fig 15: Identifying Front Transfer Chain Case Removing Bolts
      GTY106755Courtesy of © TOYOTA, LICENSE AGREEMENT TMS1002

      HINT: 

      If necessary, tap the transfer chain case front with a plastic hammer to loosen and remove it.

  10. REMOVE TRANSFER CASE REAR OIL SEAL 
    1. Using a screwdriver with its tip taped, pry out the oil seal from the transfer case.
      Fig 16: Prying Out Oil Seal From Transfer Case Using Screwdriver
      GTY100306Courtesy of © TOYOTA, LICENSE AGREEMENT TMS1002
    2. Remove the bolt and clamp.
      Fig 17: Locating Bolt And Clamp
      GTY101631Courtesy of © TOYOTA, LICENSE AGREEMENT TMS1002
  11. REMOVE TRANSFER CASE BEARING 
    1. Using SST, remove the transfer case bearing from the transfer case.
      Fig 18: Removing Transfer Case Bearing Using SST
      GTY102606Courtesy of © TOYOTA, LICENSE AGREEMENT TMS1002
      • SST: 09308-00010 
  12. REMOVE TRANSFER BAFFLE VALVE SUB-ASSEMBLY 
    1. Remove the bolt and transfer baffle valve from the rear transfer chain case.
      Fig 19: Locating Bolt And Transfer Baffle Valve
      GTY106786Courtesy of © TOYOTA, LICENSE AGREEMENT TMS1002
  13. REMOVE TRANSFER CHAIN CASE GOVERNOR APPLY GASKET 
    1. Remove the screw, O-ring, and 2 gaskets from the front transfer chain case.
      Fig 20: Identifying Gaskets And Screw To Transfer Chain Case
      GTY106787Courtesy of © TOYOTA, LICENSE AGREEMENT TMS1002
    2. Remove the 2 gaskets from the rear transfer chain case.
      Fig 21: Identifying Transfer Chain Case Governor Apply Gasket
      GTY106928Courtesy of © TOYOTA, LICENSE AGREEMENT TMS1002
  14. REMOVE TRANSFER CASE FRONT OIL SEAL 
    1. Using a screwdriver with its tip taped, pry out the oil seal from the transfer chain case front.
      Fig 22: Removing Transfer Case Front Oil Seal
      GTY100027Courtesy of © TOYOTA, LICENSE AGREEMENT TMS1002
  15. REMOVE CENTER DIFFERENTIAL CARRIER ASSEMBLY 
    1. Remove the center differential carrier from the transfer rear output shaft and transfer direct clutch drum.
      Fig 23: Identifying Center Differential Carrier
      GTY106797Courtesy of © TOYOTA, LICENSE AGREEMENT TMS1002
  16. REMOVE TRANSFER REAR OUTPUT SHAFT BEARING 
    1. Remove the transfer rear output shaft bearing from the transfer direct clutch drum.
      Fig 24: Identifying Transfer Rear Output Shaft Bearing
      GTY106795Courtesy of © TOYOTA, LICENSE AGREEMENT TMS1002
  17. INSPECT CENTER DIFFERENTIAL CARRIER ASSEMBLY  See step  1
  18. REMOVE CENTER DIFFERENTIAL CLUTCH DISC SET 
    1. Using a screwdriver with its tip taped, remove the snap ring from the transfer direct clutch drum.
      Fig 25: Removing/Installing Snap Ring
      GTY104454Courtesy of © TOYOTA, LICENSE AGREEMENT TMS1002
    2. Remove the 2 center differential clutch disc flanges and center differential clutch disc set from the transfer direct clutch drum.
      Fig 26: Identifying Center Differential Clutch Disc Flanges And Center Differential Clutch Disc Set
      GTY107037Courtesy of © TOYOTA, LICENSE AGREEMENT TMS1002

      HINT: 

      • A: Center differential clutch disc flange (No. 1)
      • B: Center differential clutch disc set (Discs)
      • C: Center differential clutch disc set (Plates)
      • D: Center differential clutch disc flange (No. 2)
  19. INSPECT CENTER DIFFERENTIAL CLUTCH DISC SET  See step  2
  20. REMOVE CENTER DIFFERENTIAL CLUTCH PRESSURE BALANCER 
    1. Place SST on the center differential clutch pressure balancer, and compress the return spring with a press.
      Fig 27: Installing Snap Ring Using SST
      GTY101707Courtesy of © TOYOTA, LICENSE AGREEMENT TMS1002
      • SST: 09350-30020 
        • 09350-07040
    2. Using SST, remove the snap ring.
      • SST: 09350-30020 
        • 09350-07040
        • 09350-07070
    3. Remove the center differential clutch pressure balancer from the transfer direct clutch drum.
      Fig 28: Identifying Center Differential Clutch Pressure Balancer
      GTY102886Courtesy of © TOYOTA, LICENSE AGREEMENT TMS1002
  21. REMOVE TRANSFER DIRECT CLUTCH RETURN SPRING ASSEMBLY 
    1. Remove the transfer direct clutch return spring from the transfer direct clutch drum.
      Fig 29: Identifying Transfer Direct Clutch Return Spring
      GTY103315Courtesy of © TOYOTA, LICENSE AGREEMENT TMS1002
  22. INSPECT TRANSFER DIRECT CLUTCH RETURN SPRING ASSEMBLY  See step  3
  23. REMOVE CENTER DIFFERENTIAL CLUTCH PISTON 
    1. Install the transfer direct clutch drum to the transfer center support.
      Fig 30: Identifying Transfer Direct Clutch Drum To Transfer Center Support
      GTY107061Courtesy of © TOYOTA, LICENSE AGREEMENT TMS1002
    2. While pushing down evenly on the center differential clutch piston, apply air (200 kpa, 2.0 kgf*cm2 , 19 psi) into the oil hole on the transfer chain case rear as shown in the illustration to remove the center differential clutch piston from the transfer direct clutch drum.
      Fig 31: Applying Air At Oil Hole On Transfer Chain Case Rear
      GTY101902Courtesy of © TOYOTA, LICENSE AGREEMENT TMS1002
    3. Remove the direct clutch drum from the transfer center support.
  24. REMOVE TRANSFER DIRECT CLUTCH PISTON O-RING 
    1. Remove the 2 O-rings from the center differential clutch piston.
      Fig 32: Identifying Transfer Direct Clutch Piston O-Ring
      GTY102177Courtesy of © TOYOTA, LICENSE AGREEMENT TMS1002
  25. INSPECT TRANSFER DIRECT CLUTCH DRUM  See step  4
  26. REMOVE TRANSFER CENTER SUPPORT 
    1. Remove the 5 bolts and transfer center support.
      Fig 33: Identifying Transfer Center Support
      GTY103463Courtesy of © TOYOTA, LICENSE AGREEMENT TMS1002
    2. Remove the 2 screws and 2 O-rings from the rear transfer chain case.
  27. REMOVE TRANSFER CENTER SUPPORT SEAL RING 
    1. Remove the 2 transfer center support seal rings from the transfer center support.
      Fig 34: Locating Transfer Center Support Seal Rings
      GTY106788Courtesy of © TOYOTA, LICENSE AGREEMENT TMS1002
  28. INSPECT TRANSFER CENTER SUPPORT  See step  5
  29. REMOVE TRANSFER DRIVEN SPROCKET BEARING 
    1. Using SST and a press, remove the transfer driven sprocket bearing from the transfer front driven clutch sleeve.
      Fig 35: Removing Transfer Driven Sprocket Bearing From Transfer Front Driven Clutch Sleeve Using SST
      GTY104231Courtesy of © TOYOTA, LICENSE AGREEMENT TMS1002
      • SST: 09950-00020 
    2. Using SST and a press, remove the transfer driven sprocket bearing from the transfer front driven clutch sleeve.
      Fig 36: Removing Transfer Driven Sprocket Bearing From Transfer Front Driven Clutch Sleeve Using SST
      GTY106791Courtesy of © TOYOTA, LICENSE AGREEMENT TMS1002
      • SST: 09950-60010 
        • 09951-00530
      • SST: 09950-70010 
        • 09951-07100
  30. REMOVE TRANSFER DRIVE SPROCKET BEARING 
    1. Using SST and a press, remove the transfer drive sprocket bearing from the transfer drive sprocket.
      Fig 37: Removing Transfer Drive Sprocket Bearing From Transfer Drive Sprocket Using SST
      GTY101719Courtesy of © TOYOTA, LICENSE AGREEMENT TMS1002
      • SST: 09950-00020 
      • SST: 09950-70010 
        • 09951-07100
      • SST: 09950-60010 
        • 09951-00480
    2. Using SST and a press, remove the transfer drive sprocket bearing from the transfer drive sprocket.
      Fig 38: Removing Transfer Drive Sprocket Bearing From Transfer Drive Sprocket Using SST
      GTY106789Courtesy of © TOYOTA, LICENSE AGREEMENT TMS1002
      • SST: 09950-00020 
      • SST: 09950-70010 
        • 09951-07100
      • SST: 09950-60010 
        • 09951-00550
  31. REMOVE TRANSFER CONTROL SOLENOID 
    1. Remove the bolt, solenoid lock plate and transfer control solenoid.
      Fig 39: Identifying Bolt For Removing Transfer Control Solenoid
      GTY114053Courtesy of © TOYOTA, LICENSE AGREEMENT TMS1002
  32. REMOVE TRANSFER VALVE BODY COVER 
    1. Remove the 6 bolts.
      Fig 40: Locating Transfer Valve Body Cover Bolts
      GTY114054Courtesy of © TOYOTA, LICENSE AGREEMENT TMS1002
    2. Remove the transfer valve body cover and upper transfer valve body plate from the transfer upper valve body.
      Fig 41: Identifying Transfer Valve Body Cover
      GTY114055Courtesy of © TOYOTA, LICENSE AGREEMENT TMS1002
    3. Remove the solenoid oil strainer from the transfer valve body cover.
  33. REMOVE TRANSFER SOLENOID MODULATOR VALVE 
    1. While pushing on the transfer modulator valve plug, remove the transfer solenoid modulator valve plug seat from the transfer upper valve body.
      Fig 42: Identifying Transfer Solenoid Modulator Valve Plug Seat
      GTY143142Courtesy of © TOYOTA, LICENSE AGREEMENT TMS1002
    2. Remove the transfer solenoid modulator valve plug, transfer solenoid modulator valve and low-high shift valve compression spring from the transfer upper valve body.
      Fig 43: Identifying Low-High Shift Valve Compression Spring, Transfer Solenoid Modulator Valve And Valve Plug
      GTY106904Courtesy of © TOYOTA, LICENSE AGREEMENT TMS1002
  34. REMOVE CENTER DIFFERENTIAL CLUTCH CONTROL VALVE 
    1. While pushing on the center differential clutch control valve plug, remove the center differential clutch control valve plug seat from the transfer upper valve body.
      Fig 44: Identifying Center Differential Clutch Control Valve Seat
      GTY114056Courtesy of © TOYOTA, LICENSE AGREEMENT TMS1002
    2. Remove the center differential clutch control valve plug, center differential clutch control valve, transfer direct clutch modulator valve spring and center differential clutch control valve sleeve from the transfer upper valve body.
      Fig 45: Identifying Center Differential Clutch Control Valve
      GTY106760Courtesy of © TOYOTA, LICENSE AGREEMENT TMS1002