LEMON Manuals: Even more car manuals for everyone: 1960-2025
Home >> Lexus >> 2012 >> IS 350 Base, RWD >> Repair and Diagnosis >> Engine Performance >> Tune-Up >> Ignition System (Inspection) >> Ignition System >> System Diagram >> System Diagram
April 5, 2026: LEMON Manuals is launched! Read the announcement.

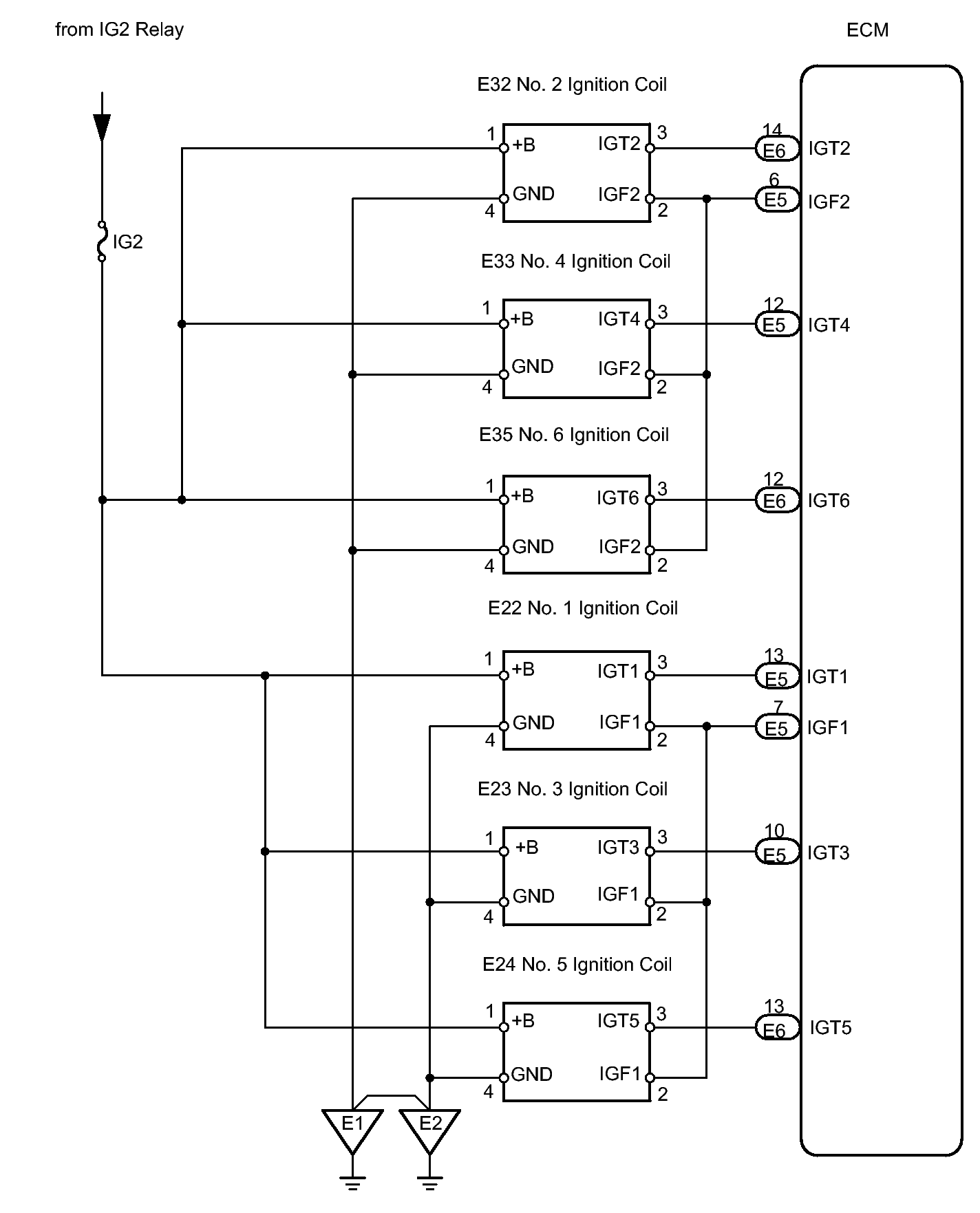
System Diagram

Fig 1: Ignition System Wiring Diagram
GTY350516Courtesy of © TOYOTA, LICENSE AGREEMENT TMS1002