LEMON Manuals: Even more car manuals for everyone: 1960-2025
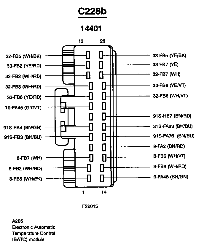
Home >> Lincoln >> 2000 >> LS V8-3.9L VIN A >> Repair and Diagnosis >> Diagrams >> Connector Views >> Control Module HVAC >> C228b
April 5, 2026: LEMON Manuals is launched! Read the announcement.

C228b