LEMON Manuals: Even more car manuals for everyone: 1960-2025
Home >> Lincoln >> 2001 >> LS V8-3.9L VIN A >> Repair and Diagnosis >> Powertrain Management >> Computers and Control Systems >> Relays and Modules - Computers and Control Systems >> Main Relay (Computer/Fuel System) >> Testing and Inspection
April 5, 2026: LEMON Manuals is launched! Read the announcement.

Main Relay (Computer/Fuel System): Testing and Inspection

Component Testing Instructions
Component testing procedures are provided to determine whether a component is good or bad.

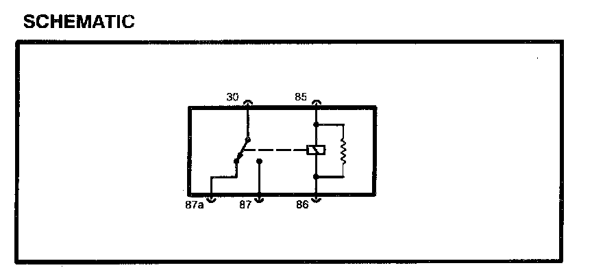
Testing information for each component includes a schematic with component terminal locations and step-by-step test procedures. Component terminals are identified by letters or numbers that may be marked on the component or callout if there is no mark on the component.







The component connector MUST BE REMOVED before testing. To test a single circuit within the component, select that circuit under the column TO TEST. If you wish to test the complete component, perform all tests.

Connect the tester to the terminals shown in the second column and operate the component as shown in the third column.

















Component Testing Procedure (Voltage Applied)
Disconnect the ohmmeter; connect pins 30 and 85 to 12V DC power and pin 86 to ground. Measure voltage between pin 87 and pin 86. If the voltage is 12V, continue with the test. If not, replace the relay. Disconnect power from pin 85 and measure voltage between pin 87a and pin 86. If the voltage is 12V, the relay is okay. If not, replace the relay.