LEMON Manuals: Even more car manuals for everyone: 1960-2025
Home >> Lincoln >> 2002 >> Continental >> Repair and Diagnosis >> Transmission >> Automatic Trans >> Automatic Transaxle >> Assembly >> Transaxle
April 5, 2026: LEMON Manuals is launched! Read the announcement.

Automatic Transaxle: Assembly: Transaxle

Fig 1: Special Tool(s) (1 Of 6)
G01820346Courtesy of FORD MOTOR CO.
Fig 2: Special Tool(s) (2 Of 6)
G01820347Courtesy of FORD MOTOR CO.
Fig 3: Special Tool(s) (3 Of 6)
G01820348Courtesy of FORD MOTOR CO.
Fig 4: Special Tool(s) (4 Of 6)
G01820349Courtesy of FORD MOTOR CO.
Fig 5: Special Tool(s) (5 Of 6)
G01820350Courtesy of FORD MOTOR CO.
Fig 6: Special Tool(s) (6 Of 6)
G01820351Courtesy of FORD MOTOR CO.
  1. Install the parking pawl assembly.
    1. Install the parking pawl and return spring.
    2. Install the parking pawl shaft.
  2. Fig 7: Installing Parking Pawl Assembly
    G01820352Courtesy of FORD MOTOR CO.
  3. Install the park pawl roll pin.
  4. Fig 8: Installing Park Pawl Roll Pin
    G01820353Courtesy of FORD MOTOR CO.
  5. Using the special tool, install the cup plug.
  6. Fig 9: Installing Cup Plug
    G01820354Courtesy of FORD MOTOR CO.
  7. Using the special tool, install the new drive sprocket bearing, if it was removed.
  8. Fig 10: Installing Drive Sprocket Bearing
    G01820355Courtesy of FORD MOTOR CO.
    NOTE: The bolt holes are offset and the drive sprocket can only be aligned one way.
  9. Install the driven sprocket support.
  10. Fig 11: Installing Drive Sprocket Support
    G01820356Courtesy of FORD MOTOR CO.
  11. Install the bolts.
  12. Fig 12: Installing Drive Sprocket Support Bolts
    G01820357Courtesy of FORD MOTOR CO.
  13. Using the special tool, install the converter impeller hub seal.
  14. Fig 13: Installing Converter Impeller Hub Seal
    G01820358Courtesy of FORD MOTOR CO.
  15. Install the differential carrier thrust bearing.
    1. Install the differential carrier thrust washer.
    2. Install the differential carrier thrust bearing and race (tabs down).
  16. Fig 14: Installing Differential Carrier Thrust Bearing
    G01820359Courtesy of FORD MOTOR CO.
  17. Install the final drive ring gear.
  18. Fig 15: Installing Final Drive Ring Gear
    G01820360Courtesy of FORD MOTOR CO.
  19. Install the rear planet support spacer.
  20. Fig 16: Installing Rear Planet Support Spacer
    G01820361Courtesy of FORD MOTOR CO.
  21. Install the final drive differential assembly.
  22. Fig 17: Installing Final Drive Differential Assembly
    G01820362Courtesy of FORD MOTOR CO.
  23. Align the rear lube tube holes in the case window.
  24. Fig 18: Aligning Rear Lube Tube Holes
    G01820363Courtesy of FORD MOTOR CO.
    NOTE: The retaining ring must be correctly installed.
  25. Using the special tool, install the beveled retaining ring.
  26. Fig 19: Installing Beveled Retaining Ring
    G01820364Courtesy of FORD MOTOR CO.
    Fig 20: Cross Section Of Beveled Retaining Ring
    G01820365Courtesy of FORD MOTOR CO.
    CAUTION: If support is not visible on inside diameter of the retaining ring the low/intermediate piston could be damaged.
  27. Make sure that the beveled retaining ring seats properly in case groove with the bevel down. The final drive support must be visible on the inside diameter of the retaining ring, but must not seat against the case wall.
  28. Fig 21: Verifying Beveled Retaining Ring Installation
    G01820366Courtesy of FORD MOTOR CO.
  29. Place a screwdriver into the differential case and pry up to make sure that the retaining ring is fully seated in the top of the case groove.
  30. Fig 22: Verifying Beveled Retaining Ring Is Seated
    G01820367Courtesy of FORD MOTOR CO.
  31. Install the special tool.
  32. Fig 23: Installing End Play Gauge
    G01820368Courtesy of FORD MOTOR CO.
  33. Remove the No. 15 needle bearing.
  34. Fig 24: Removing Needle Bearing
    G01820369Courtesy of FORD MOTOR CO.
    NOTE: The Gauge Shim Depth must set on the No. 15 bearing surface.
  35. Install the special tools.
  36. Fig 25: Installing Gauge Bar & Shim Depth Gauge
    G01820370Courtesy of FORD MOTOR CO.
  37. Install the special tools. Zero the dial indicator.
  38. Fig 26: Installing Dial Indicator
    G01820371Courtesy of FORD MOTOR CO.
  39. Tighten the bolt.
  40. Fig 27: Tightening End Play Gauge Bolt
    G01820372Courtesy of FORD MOTOR CO.
  41. Read and record the dial indicator reading. If the dial indicator reading indicates movement more than the specification the next larger beveled ring retainer will need to be used.
  42. Fig 28: Measuring End Play
    G01820373Courtesy of FORD MOTOR CO.
  43. Select the correct beveled retaining ring.
  44. Fig 29: Beveled Retaining Ring Size Table
    G01820374Courtesy of FORD MOTOR CO.
    Fig 30: Beveled Retaining Ring Size Identification
    G01820375Courtesy of FORD MOTOR CO.
    NOTE: Make sure the No. 15 needle bearing is on the rear planet support hub and the black plastic No. 15 thrust washer is in place on top of the low/intermediate clutch spring retainer.
  45. Install the No. 15 thrust bearing.
  46. Fig 31: Installing Thrust Bearing
    G01820376Courtesy of FORD MOTOR CO.
  47. Check the clearance for the No. 16 thrust washer. Mount the special tool with the stylus on the end of the output shaft. Zero the dial indicator.
  48. Fig 32: Checking Clearance For Thrust Washer
    G01820377Courtesy of FORD MOTOR CO.
  49. Tighten the bolt. Read and record the dial indicator reading.
  50. Fig 33: Tightening End Play Gauge Bolt
    G01820378Courtesy of FORD MOTOR CO.
    NOTE: The beveled retaining ring and the rear planet support must be removed to change the No. 16 thrust race.
  51. If the clearance is not within specification, a thicker or thinner washer will need to be added.
  52. Fig 34: No. 16 Thrust Race (Washer) Thickness Table
    G01820379Courtesy of FORD MOTOR CO.
    Fig 35: Measuring Thrust Washer Clearance
    G01820380Courtesy of FORD MOTOR CO.
  53. Install the low-intermediate one-way clutch assembly.
  54. Fig 36: Installing Low-Intermediate One-Way Clutch Assembly
    G01820381Courtesy of FORD MOTOR CO.
    NOTE: The friction plate internal splines will center the one-way clutch.
  55. Install the low-intermediate clutch pressure plate.
    1. Install the low-intermediate clutch wave spring.
    2. Install the low-intermediate clutch pack.
    3. Install the low-intermediate clutch pressure plate.
  56. Fig 37: Installing Low-Intermediate Clutch Pack
    G01820382Courtesy of FORD MOTOR CO.
    CAUTION: Make sure that the retaining ring is seated in the case groove.
  57. Install the low-intermediate clutch retaining ring.
  58. Fig 38: Installing Low-Intermediate Clutch Pack Retaining Ring
    G01820383Courtesy of FORD MOTOR CO.
    WARNING: To prevent injury, wear eye protection when using pressurized air.
    NOTE: Be sure the pressurized air is dry and regulated at 276 kPa (40 psi).
  59. Apply regulated air pressure to the low-intermediate apply port. Make sure that the piston moves and no air is leaking past the piston seal.
  60. Fig 39: Air Checking Low-Intermediate Clutch
    G01820384Courtesy of FORD MOTOR CO.
  61. Measure the clearance between the clutch pressure plate and the low-intermediate clutch retainer. If the clearance is not within specification a thicker or thinner retainer may be needed.
  62. Fig 40: Measuring Clutch Pack Clearance
    G01820386Courtesy of FORD MOTOR CO.
    Fig 41: Selective Retaining Rings
    G01820385Courtesy of FORD MOTOR CO.
  63. Install the coast band.
    1. Install the coast band.
    2. Align the anchor pin pocket with the anchor pin in the case.
  64. Fig 42: Installing Coast Band
    G01820387Courtesy of FORD MOTOR CO.
  65. Install the low-intermediate drum. Rotate the low-intermediate drum and sun gear into the low-intermediate one-way clutch.
  66. Fig 43: Installing Low-Intermediate Drum
    G01820388Courtesy of FORD MOTOR CO.
  67. Install the park rod abutment and make sure that the park pawl moves freely.
  68. Fig 44: Installing Park Rod Abutment
    G01820389Courtesy of FORD MOTOR CO.
  69. Install the coast band piston cover.
    1. Install the coast band servo piston spring.
    2. Install the coast band servo piston.
    3. Install the coast band servo piston cover.
  70. Fig 45: Installing Coast Band Servo
    G01820390Courtesy of FORD MOTOR CO.
  71. Using the special tool, install the coast servo cover retaining ring.
  72. Fig 46: Installing Coast Band Servo Retaining Ring
    G01820391Courtesy of FORD MOTOR CO.
  73. Using the special tools, install the front planetary/reverse clutch assembly.
  74. Fig 47: Installing Front Planetary/Reverse Clutch Assembly
    G01820392Courtesy of FORD MOTOR CO.
  75. Make sure that the reverse clutch cylinder apply tube hole is aligned with the case hole. Remove the tool.
  76. Fig 48: Checking Reverse Clutch Apply Tube Hole Is Aligned With Case
    G01820393Courtesy of FORD MOTOR CO.
  77. Loosely install the reverse clutch anchor pin.
  78. Fig 49: Installing Reverse Clutch Anchor Pin
    G01820394Courtesy of FORD MOTOR CO.
  79. Using the special tools, install the forward/intermediate clutch assembly. Align the shell and sun gear into the front planet.
  80. Fig 50: Installing Forward/Intermediate Clutch Assembly
    G01820395Courtesy of FORD MOTOR CO.
  81. Install the overdrive band.
  82. Fig 51: Installing Overdrive Band
    G01820396Courtesy of FORD MOTOR CO.
    NOTE: The foot of the overdrive retainer goes down against the band.
  83. Install the overdrive band anchor strut with the cross hairs facing up.
  84. Fig 52: Installing Overdrive Band Anchor Strut
    G01820397Courtesy of FORD MOTOR CO.
  85. Remove the No. 8 sprocket thrust washer and the No. 9 bearing and race from the driven sprocket support.
    1. Remove the No. 9 bearing and race.
    2. Remove the No. 8 sprocket support.
  86. Fig 53: Removing Sprocket Thrust Washer & Bearing & Race
    G01820398Courtesy of FORD MOTOR CO.
  87. Install only the No. 9 needle bearing with the outer lip up.
  88. Fig 54: Installing Needle Bearing
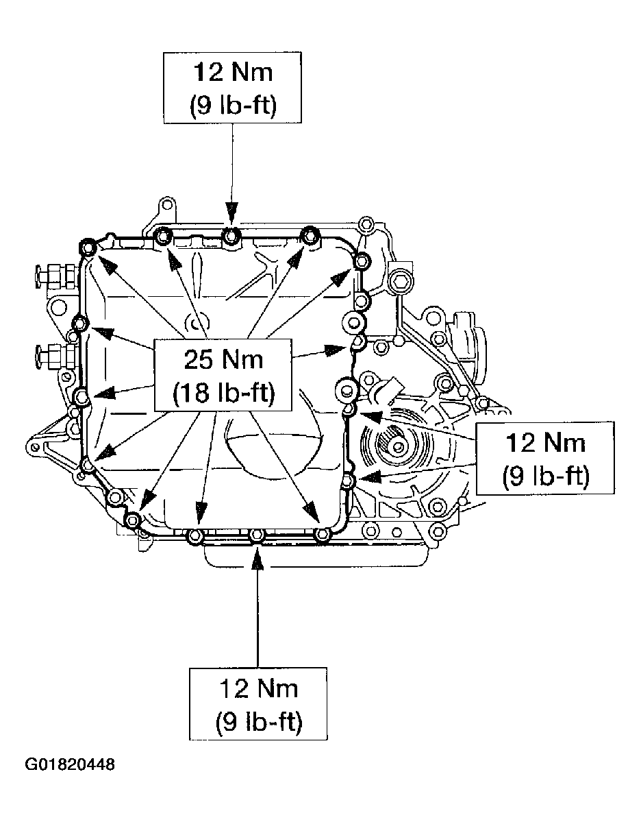
    G01820399Courtesy of FORD MOTOR CO.
  89. Install the special tool over the output shaft until it is fully seated on to the No. 9 needle bearing.
  90. Fig 55: Installing Shim Selection Gauge Over Output Shaft
    G01820400Courtesy of FORD MOTOR CO.
  91. Install the special tools to make the measurements.
  92. Fig 56: Installing Depth Gauge Tools
    G01820401Courtesy of FORD MOTOR CO.
  93. When taking the measurement, record reading on both sides of the output shaft 180 degrees apart from each other. Add both readings and divide by two to obtain reading A.
  94. Fig 57: Measuring Dimension "A"
    G01820402Courtesy of FORD MOTOR CO.
    NOTE: Reading A and Dimension C from the chart will be used in the selection of the No. 5 thrust washer.
  95. Use the reading A to select the correct No. 8 thrust washer from the chart.
  96. Fig 58: No. 8 Thrust Washer Selection Chart (1 Of 2)
    G01820403Courtesy of FORD MOTOR CO.
    Fig 59: No. 8 Thrust Washer Selection Chart (2 Of 2)
    G01820404Courtesy of FORD MOTOR CO.
  97. Remove the special tools.
  98. Fig 60: Removing Depth Gauge Tools
    G01820405Courtesy of FORD MOTOR CO.
  99. Install the special tools to make the measurements.
  100. Fig 61: Installing Depth Gauge Tools
    G01820406Courtesy of FORD MOTOR CO.
  101. Measure down to the No. 5 thrust washer mating surface of the overdrive drum. Take another reading on the other side of the drum 180 degrees from the first one. Add both readings and divide by two to obtain reading B.
  102. Fig 62: Measuring Dimension "B"
    G01820407Courtesy of FORD MOTOR CO.
  103. Remove the special tools.
  104. Fig 63: Removing Depth Gauge Tools
    G01820408Courtesy of FORD MOTOR CO.
    NOTE: Reading A was obtained during No. 8 thrust washer selection. Dimension C is found on the No. 8 thrust washer selection chart.
  105. Subtract reading A from Reading B add the difference between A and B to dimension C. Record this reading as D.
  106. Fig 64: Calculating Dimension "D"
    G01820409Courtesy of FORD MOTOR CO.
  107. Use Reading D to select the correct No. 5 thrust washer.
  108. Fig 65: No. 5 Support Thrust Washer Chart
    G01820410Courtesy of FORD MOTOR CO.
    NOTE: Use petroleum jelly to hold the No. 5 thrust washer in place.
  109. Install the No. 5 front support thrust washer.
  110. Fig 66: Installing Front Support Thrust Washer
    G01820411Courtesy of FORD MOTOR CO.
    CAUTION: The No. 9 direct hub needle bearing may still be inside the transaxle from the No. 8 driven sprocket support thrust washer selection procedure. Use petroleum jelly to hold bearing and washer in place.
  111. Install the correct No. 8 driven sprocket support thrust washer and the No. 9 direct clutch needle bearing.
    1. Install the No. 8 sprocket support thrust washer.
    2. Install the No. 9 needle bearing.
  112. Fig 67: Installing Driven Sprocket Support Thrust Washer & Direct Clutch Needle Bearing
    G01820412Courtesy of FORD MOTOR CO.
  113. Install the driven sprocket support assembly.
  114. Fig 68: Installing Driven Sprocket Support Assembly
    G01820413Courtesy of FORD MOTOR CO.
  115. Install the neutral/drive accumulator cover.
    1. Install the neutral/drive accumulator piston.
    2. Install the neutral/drive accumulator springs.
      • The outer spring may be yellow in color.
      • The inner spring may be grey in color.
    3. Install the neutral/drive accumulator cover.
  116. Fig 69: Installing Neutral/Drive Accumulator Cover
    G01820414Courtesy of FORD MOTOR CO.
  117. Install the bolt.
  118. Fig 70: Installing Bolt
    G01820415Courtesy of FORD MOTOR CO.
    NOTE: All the fluid supply tubes must have new O-rings installed.
  119. Install the fluid supply tubes.
  120. Fig 71: Installing Fluid Supply Tubes
    G01820416Courtesy of FORD MOTOR CO.
  121. Install the brackets.
  122. Fig 72: Installing Fuel Supply Tube Brackets
    G01820417Courtesy of FORD MOTOR CO.
  123. Using the special tool, install the manual control lever shaft seal.
  124. Fig 73: Installing Manual Control Lever Shaft Seal
    G01820418Courtesy of FORD MOTOR CO.
  125. Install the parking lever actuating rod.
    • Push in on the park pawl.
    • Slide down the parking lever actuating rod to fit in the park pawl.
  126. Fig 74: Installing Parking Lever Actuating Rod
    G01820419Courtesy of FORD MOTOR CO.
    NOTE: The manual control valve detent lever must be installed with the shoulder and roll pin hole pointing toward the driven sprocket support.
  127. Install the manual control lever shaft.
  128. Fig 75: Installing Manual Control Lever Shaft
    G01820420Courtesy of FORD MOTOR CO.
    NOTE: Prior to installing the roll pins be sure that the manual control valve detent lever shoulder and roll pin hole is pointing toward the driven sprocket support.
  129. Install the roll pins.
  130. Fig 76: Installing Roll Pins
    G01820421Courtesy of FORD MOTOR CO.
    NOTE: Apply petroleum jelly to the drive sprocket thrust washer and driven sprocket thrust washer to hold them in place.
  131. Install the thrust washers.
    1. Install the No. 2 drive sprocket thrust washer.
    2. Install the No. 4 driven sprocket thrust washer.
  132. Fig 77: Installing Thrust Washers
    G01820422Courtesy of FORD MOTOR CO.
    CAUTION: Be careful not to damage or bend the exciter tabs on the driven sprocket speed sensor wheel. The TSS sensor will not operate correctly if the tabs are bent.
    NOTE: Lower the assembly into the sprocket supports simultaneously.
  133. Install the drive chain and sprockets.
  134. Fig 78: Installing Drive Chain Sprockets
    G01820423Courtesy of FORD MOTOR CO.
  135. Install the shift accumulator springs.
    1. Install the 1-2 accumulator outer spring (no color or pink).
    2. Install the 2-3 accumulator piston spring (orange).
    3. Install the reverse shift accumulator spring.
    4. Install the 3-4 accumulator spring (blue).
  136. Fig 79: Installing Shift Accumulator Springs
    G01820424Courtesy of FORD MOTOR CO.
    NOTE: Make sure that the alignment pins are installed in the case.
  137. Install the new chain cover gasket.
  138. Fig 80: Installing Chain Cover Gasket
    G01820425Courtesy of FORD MOTOR CO.
    CAUTION: Be extremely careful not to damage the cast iron sealing ring.
    NOTE: Use petroleum jelly to hold thrust washers in place during assembly.
    1. Install the No. 1 thrust washer.
    2. Install the No. 2 thrust washer.
    3. Install the chain cover.
  139. Fig 81: Installing Chain Cover
    G01820426Courtesy of FORD MOTOR CO.
    NOTE: After installing the chain cover the input shaft should have some end play and should rotate freely. Apply gentle downward pressure on the chain cover to overcome spring pressure.
  140. Start two bolts.
  141. Fig 82: Locating 2 Bolts
    G01820427Courtesy of FORD MOTOR CO.
  142. Install the remaining bolts.
  143. Fig 83: Installing Remaining Bolts
    G01820428Courtesy of FORD MOTOR CO.
  144. Install the bolts.
  145. Fig 84: Installing Bolts
    G01820429Courtesy of FORD MOTOR CO.
    CAUTION: The test spring from the overdrive servo rod tool is plain in color and has a shorter free height than the operational spring. Extreme care must be used not to assemble the transaxle using the test spring.
  146. Inspect the spring height.
    1. Test spring.
    2. Original spring.
  147. Fig 85: Identifying Test Spring
    G01820430Courtesy of FORD MOTOR CO.
  148. Overdrive servo travel check. Install the overdrive servo piston.
    1. Install the test spring.
    2. Install the overdrive servo piston.
  149. Fig 86: Installing Overdrive Servo Piston With Test Spring
    G01820431Courtesy of FORD MOTOR CO.
  150. Using the special tools, install the overdrive servo.
  151. Fig 87: Installing Servo With Dial Indicator
    G01820432Courtesy of FORD MOTOR CO.
  152. Tighten the bolt and zero out the dial indicator.
  153. Fig 88: Tightening Bolt To Zero Dial Indicator
    G01820433Courtesy of FORD MOTOR CO.
  154. Back off the center bolt until the piston movement stops and read the dial indicator. The reading should be within specification. If the reading does not match the specification, see Fig 90 and determine which overdrive servo rod to use.
  155. Fig 89: Measuring Overdrive Servo Travel
    G01820434Courtesy of FORD MOTOR CO.
  156. If the overdrive servo travel was incorrect install new overdrive servo rod. Zero dial indicator and repeat the above step to verify the amount of piston travel. If within specification, remove tool and test spring.
  157. Fig 90: Overdrive Piston Rod Selection Chart
    G01820435Courtesy of FORD MOTOR CO.
    CAUTION: Do not assemble the transaxle using the test spring.
  158. Install the overdrive servo.
    1. Install the overdrive servo spring.
    2. Install the overdrive servo.
    3. Install the overdrive servo cover and bolts.
  159. Fig 91: Installing Overdrive Piston
    G01820436Courtesy of FORD MOTOR CO.
  160. Install the special tools.
  161. Fig 92: Installing Air Test Plate
    G01820437Courtesy of FORD MOTOR CO.
    WARNING: Wear safety glasses while performing this procedure to prevent personal injury.
    NOTE: When applying regulated 276 kPa (40 psi) air pressure to the appropriate passage, a dull thud should be heard when the clutch or band applies. There should be no hissing sound when the clutch or band applies.
    NOTE: Plugging the vent hole during the test will provide inaccurate results.
  162. Cover the vent hole in the test plate with a clean lint free shop towel to prevent spray when air is applied. Apply air pressure to the appropriate clutch ports.
  163. Fig 93: Air Test Plate Identification
    G01820439Courtesy of FORD MOTOR CO.
    Fig 94: Air Test Plate Identification Legend
    G01820438Courtesy of FORD MOTOR CO.
    CAUTION: The seals must be lapped correctly or internal leakage will occur.
  164. Install the new Teflon® seals on the pump shaft.
  165. Fig 95: Correct Teflon® Seal Installation
    G01820440Courtesy of FORD MOTOR CO.
  166. Install the pump shaft.
  167. Fig 96: Installing Pump Shaft
    G01820441Courtesy of FORD MOTOR CO.
  168. Install the manual valve detent lever.
  169. Fig 97: Installing Manual Valve Detent Lever
    G01820442Courtesy of FORD MOTOR CO.
  170. Install the main control valve body over the pump shaft and connect the main control valve actuating rod while pushing down until it is seated on the chain cover.
  171. Fig 98: Installing Main Control Valve Body
    G01820443Courtesy of FORD MOTOR CO.
    CAUTION: Do not use the bolts to draw pump assembly and main control valve body onto the chain cover case. Component damage may occur.
  172. Use the valve body guide pins to install the pump assembly and main control valve body. Install the bolt and tighten in sequence.
  173. Fig 99: Main Valve Body Bolt Tightening Sequence
    G01820444Courtesy of FORD MOTOR CO.
  174. Connect the connectors.
  175. Fig 100: Installing Electrical Connectors
    G01820445Courtesy of FORD MOTOR CO.
    NOTE: The main control cover gasket is reusable if not torn or damaged.
  176. Inspect the gasket for nicks or tears.
  177. Fig 101: Inspecting Main Control Cover Gasket
    G01820446Courtesy of FORD MOTOR CO.
    NOTE: The main control cover gasket is reusable if not torn or damaged.
  178. Install the gasket onto the pan.
  179. Fig 102: Installing Gasket Onto Pan
    G01820447Courtesy of FORD MOTOR CO.
  180. Install the main control cover, gasket and bolts.
  181. Fig 103: Installing Main Control Cover Bolts
    G01820448Courtesy of FORD MOTOR CO.
  182. Tighten the reverse clutch anchor bolt.
    1. Tighten the anchor bolt.
    2. Tighten the locknut.
  183. Fig 104: Tightening Reverse Clutch Anchor Bolt
    G01820449Courtesy of FORD MOTOR CO.
  184. Install the new filter and seal assembly.
  185. Fig 105: Installing Filter & Seal Assembly
    G01820450Courtesy of FORD MOTOR CO.
  186. Install the oil pan magnet.
  187. Fig 106: Installing Oil Pan Magnet
    G01820451Courtesy of FORD MOTOR CO.
    NOTE: The gasket is reusable if not damaged or torn.
  188. Install the transmission fluid pan and gasket.
  189. Fig 107: Installing Transmission Fluid Pan
    G01820452Courtesy of FORD MOTOR CO.
  190. Install the turbine shaft speed (TSS) sensor.
    1. Install the sensor.
    2. Install the bolt.
  191. Fig 108: Installing TSS Sensor
    G01820453Courtesy of FORD MOTOR CO.
  192. Verify that the shift selector lever is in NEUTRAL.
  193. Install the digital TR sensor and loosely install the bolts.
  194. Fig 109: Installing Digital TR Sensor
    G01820454Courtesy of FORD MOTOR CO.
  195. Using the special tool align the digital transmission range (TR) sensor.
    1. Install the special tool.
    2. Tighten the bolts.
  196. Fig 110: Using TR Sensor Alignment Gauge
    G01820455Courtesy of FORD MOTOR CO.
  197. Install the fluid filler tube.
    1. Install the fluid filler tube grommet.
    2. Install the filler tube.
    3. Install the bolt.
  198. Fig 111: Installing Fluid Filler Tube
    G01820456Courtesy of FORD MOTOR CO.
  199. Using the special tool, install the LH output shaft seal.
  200. Fig 112: Installing Left Output Shaft Seal
    G01820457Courtesy of FORD MOTOR CO.
  201. Using the special tool, install the RH output shaft seal.
  202. Fig 113: Installing Right Output Shaft Seal
    G01820458Courtesy of FORD MOTOR CO.
  203. Install the identification tag, if removed.
  204. Fig 114: Installing Identification Tag
    G01820459Courtesy of FORD MOTOR CO.
  205. Using the special tool, install the torque converter.
Fig 115: Installing Torque Converter
G01820460Courtesy of FORD MOTOR CO.