LEMON Manuals: Even more car manuals for everyone: 1960-2025
Home >> Lincoln >> 2002 >> Continental >> Repair and Diagnosis >> Transmission >> Automatic Trans >> Automatic Transaxle >> Installation >> Transaxle
April 5, 2026: LEMON Manuals is launched! Read the announcement.

Automatic Transaxle: Installation: Transaxle

Fig 1: Special Tool(s) (1 Of 2)
G01820461Courtesy of FORD MOTOR CO.
Fig 2: Special Tool(s) (2 Of 2)
G01820462Courtesy of FORD MOTOR CO.
  1. Install the rear engine support bracket and bolts.
  2. Fig 3: Installing Rear Engine Support Bracket
    G01820463Courtesy of FORD MOTOR CO.
  3. Install the transaxle.
    • Position the transaxle on a high lift jack.
    • Apply Multi-Purpose Grease DOAZ-19584-AA meeting Ford specification ESB-M1C93-B or equivalent to the torque converter pilot hub.
  4. Fig 4: Lubricating Torque Converter Pilot Hub
    G01820464Courtesy of FORD MOTOR CO.
  5. Install the bolts.
  6. Fig 5: Installing Bolts
    G01820465Courtesy of FORD MOTOR CO.
  7. Install the LH bolt.
  8. Fig 6: Installing Left Bolt
    G01820466Courtesy of FORD MOTOR CO.
  9. Install the RH bolt.
  10. Fig 7: Installing Right Bolt
    G01820467Courtesy of FORD MOTOR CO.
  11. Reconnect the turbine shaft speed (TSS) sensor electrical connector.
  12. Fig 8: Connecting TSS Sensor Electrical Connector
    G01820468Courtesy of FORD MOTOR CO.
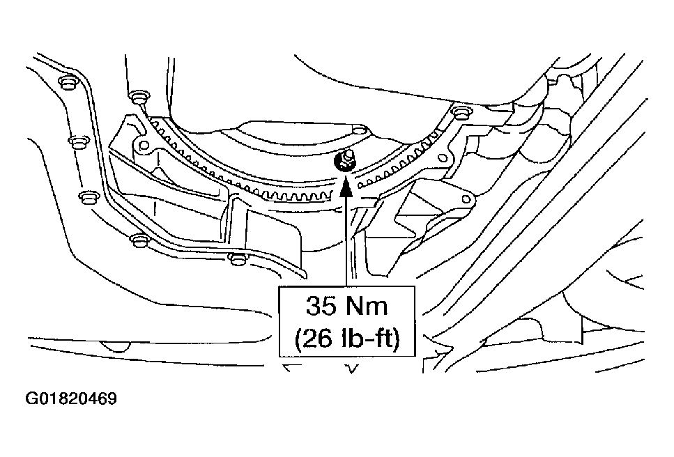
  13. Install the bolts.
  14. Fig 9: Installing Torque Converter Bolts
    G01820469Courtesy of FORD MOTOR CO.
  15. Install the transmission housing cover.
  16. Fig 10: Installing Transmission Housing Cover
    G01820470Courtesy of FORD MOTOR CO.
  17. Install the starter motor. For additional information, see STARTERS .
  18. Install the subframe assembly.
  19. Remove the Support Bar, Engine.
  20. Remove the special tool.
  21. Fig 11: Removing Engine Support Bracket
    G01820471Courtesy of FORD MOTOR CO.
  22. Remove the special tool.
  23. Fig 12: Removing Engine Support Bracket
    G01820472Courtesy of FORD MOTOR CO.
  24. Install the upper radiator sight shield.
    1. Install the coolant bypass hose.
    2. Install the PCV valve into the valve cover.
    3. Install the upper radiator sight shield.
  25. Fig 13: Installing Coolant Bypass Hose & PCV Valve
    G01820473Courtesy of FORD MOTOR CO.
  26. Install the cowl assembly. For additional information, see WIPERS & WASHERS .
  27. Install the bolts.
  28. Fig 14: Installing Upper Transmission Bolts
    G01820474Courtesy of FORD MOTOR CO.
  29. Reconnect the upper transmission fluid cooler tubes.
  30. Fig 15: Reconnecting Upper Transmission Fluid Cooler Tubes
    G01820475Courtesy of FORD MOTOR CO.
  31. Reconnect the lower transmission fluid cooler tubes.
  32. Fig 16: Reconnecting Lower Transmission Fluid Cooler Tubes
    G01820476Courtesy of FORD MOTOR CO.
  33. Install the retaining clips.
  34. Fig 17: Installing Retaining Clips
    G01820477Courtesy of FORD MOTOR CO.
  35. Verify that the digital transmission range (TR) sensor is properly adjusted. For additional information, see TRANSMISSION RANGE SENSOR .
  36. Install the manual control lever and nut.
    1. Install the manual control lever and place it in the OVERDRIVE position.
    2. Tighten the nut.
  37. Fig 18: Installing Manual Control Lever
    G01820478Courtesy of FORD MOTOR CO.
  38. Reconnect the transaxle internal harness connector.
  39. Fig 19: Reconnecting Transaxle Internal Harness Connector
    G01820479Courtesy of FORD MOTOR CO.
  40. Reconnect the digital transmission range (TR) sensor electrical connector.
  41. Fig 20: Reconnecting Digital TR Sensor Electrical Connector
    G01820480Courtesy of FORD MOTOR CO.
    NOTE: See SHIFT CABLE for proper adjustment procedure.
  42. Install the manual control lever cable.
    • Install the shift cable and the shift actuator cable fitting.
    • With the manual lever in the OVERDRIVE position, install the nut.
  43. Fig 21: Installing Manual Control Lever Cable
    G01820481Courtesy of FORD MOTOR CO.
  44. Install the bolts for the engine control wiring harness bracket.
  45. Fig 22: Installing Engine Control Wiring Harness Bracket
    G01820482Courtesy of FORD MOTOR CO.
  46. Inside the accelerator control splash shield.
    • Install the bolt.
  47. Fig 23: Installing Accelerator Control Splash Shield Bolt
    G01820483Courtesy of FORD MOTOR CO.
  48. Reconnect the wire harness to the accelerator control splash shield.
  49. Fig 24: Reconnecting Wiring Harness To Accelerator Control Splash Shield
    G01820484Courtesy of FORD MOTOR CO.
  50. Install the engine air cleaner inlet tube.
    1. Install the engine air cleaner inlet tube.
    2. Connect the intake air temperature sensor electrical connector.
    3. Install the crankcase ventilation tube.
  51. Fig 25: Installing Air Cleaner Inlet Tube
    G01820485Courtesy of FORD MOTOR CO.
  52. Install the battery.
  53. Fill the transaxle using MERCON® V Automatic Transmission Fluid XT-5-QM or equivalent meeting MERCON® V specification.
  54. Start the engine. Move the transaxle range selector lever through all positions. Check the fluid level.