LEMON Manuals: Even more car manuals for everyone: 1960-2025
Home >> Lincoln >> 2002 >> Navigator 4WD >> Repair and Diagnosis >> Transmission >> Automatic Trans >> Automatic Transmission >> Disassembly And Assembly Of Subassemblies >> Pump Assembly >> Assembly
April 5, 2026: LEMON Manuals is launched! Read the announcement.

Pump Assembly: Assembly

  1. Install the main regulator valve and sleeve assembly, converter clutch shift valve assembly, and the converter regulator valve assembly.
    1. Install the converter clutch control valve assembly. Then apply pressure to the end plug and install the retainer, making sure it is correctly seated.
    2. Install the converter regulator valve assembly. Then apply pressure to the end plug and install the retainer, making sure it is correctly seated.
    3. Install the main regulator boost valve and sleeve assembly. Then apply pressure to the main regulator booster sleeve and install the retainer, making sure it is correctly seated.
    Fig 1: Installing Main Regulator Valve/Sleeve, Converter Clutch Shift Valve & Converter Regulator Valve Assemblies
    G03443766Courtesy of FORD MOTOR CO.
  2. NOTE: Prior to installation, lightly lubricate the gerotor gears with clean automatic transmission fluid.
    Fig 2: Installing Gerotor Gearset, With Dot Facing Control Body Assembly
    G03443767Courtesy of FORD MOTOR CO.
  3. Install the gerotor gearset, with the dot facing the control body assembly.
  4. CAUTION: Prior to pump assembly, make sure all cup plugs are installed.
    CAUTION: Inspect mating surfaces of the pump body and the control body to make sure they are clean and free of nicks and burrs.
    Fig 3: Assembling Control Body & Stator Assembly Onto Pump Body
    G03443768Courtesy of FORD MOTOR CO.
  5. Assemble the control body and stator assembly onto the pump body, aligning the 28 mm (1.12 in) hole in each body.
  6. NOTE: Make sure that the outer edges of the pump body and the outer bolt holes are aligned during assembly.
    Fig 4: Assembling Pump & Installing Bolts
    G03443769Courtesy of FORD MOTOR CO.
  7. Using the special tool, assemble the pump and loosely install 11 bolts.
    1. Install the 10 mm (0.4 in) alignment bolt.
    2. Tighten the bolts.
  8. CAUTION: Make sure the seal grooves in the stator support are clean and free of burrs.
    CAUTION: Make sure the seal ends are correctly positioned together and not separated.
    Fig 5: Installing Coast Clutch Teflon® Seals
    G03443770Courtesy of FORD MOTOR CO.
  9. Install the 2 coast clutch Teflon® seals. Make sure the seals are fully seated in the stator support seal grooves and the seal ends are oriented 180 degrees apart.
    1. Correct position of the seal ends.
    2. Incorrect position of the seal ends.
    3. Seals need to be installed 180 degrees apart.
  10. Install the pump outer diameter square-cut front pump seal.
    Fig 6: Installing Pump Outer Diameter Square-Cut Front Pump Seal
    G03443771Courtesy of FORD MOTOR CO.
  11. Install the front pump stator support seal.
    Fig 7: Installing Front Pump Stator Support Seal
    G03443772Courtesy of FORD MOTOR CO.
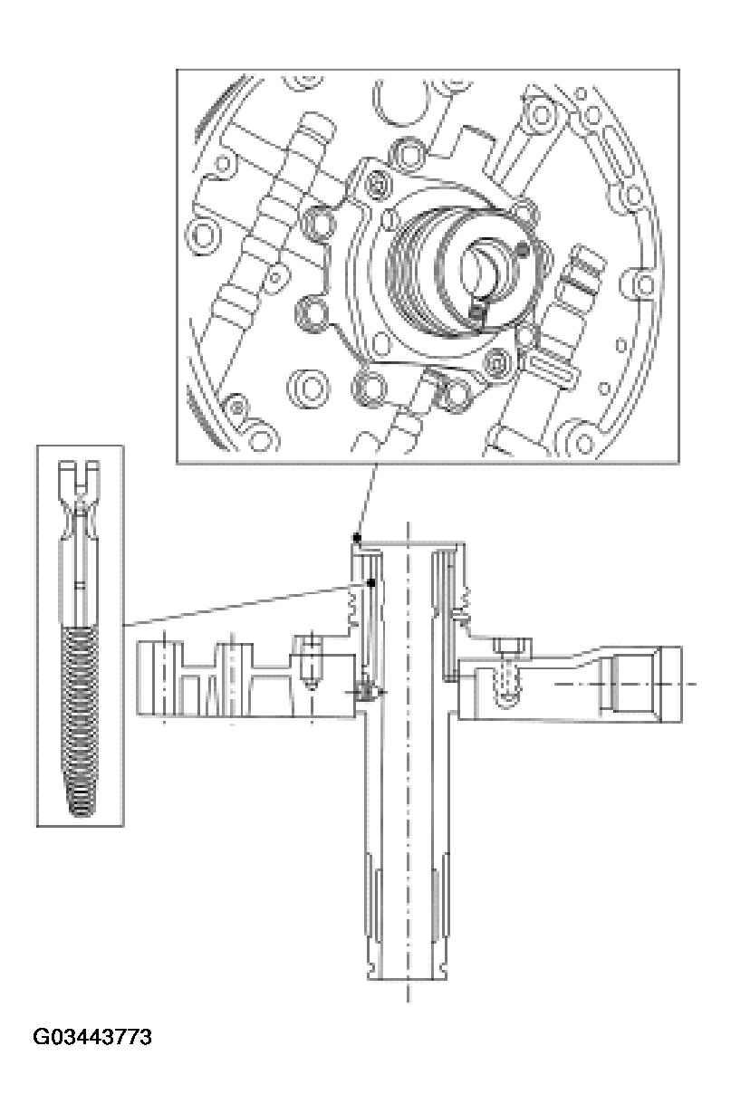
  12. CAUTION: Failure to install new parts may cause repeat repairs.
    NOTE: Install the rubber stop end into the bore first.
    Fig 8: Installing Spring & Stop Assembly
    G03443773Courtesy of FORD MOTOR CO.
  13. Install the new spring and stop assembly.
  14. NOTE: Make sure the edge of the cup plug is seated just below the stator support surface that mates with the No. 2 needle bearing assembly.
    Fig 9: Installing Orifice Cup Plug
    G03443774Courtesy of FORD MOTOR CO.
  15. Using a small drift and mallet, install the new orifice cup plug.
  16. If removed, install the front pump seal, using the special tool.
    Fig 10: Installing Front Pump Seal
    G03443775Courtesy of FORD MOTOR CO.
  17. NOTE: Lightly lubricate the thrust washer and the bearing with petroleum jelly to hold them in place during assembly.
    Fig 11: Installing No. 1 Pump Thrust Washer & No. 2A Overdrive Sun Gear Thrust Bearing
    G03443776Courtesy of FORD MOTOR CO.
  18. Install the No. 1 pump thrust washer and the No. 2A overdrive sun gear thrust bearing.