LEMON Manuals: Even more car manuals for everyone: 1960-2025
Home >> Lincoln >> 2002 >> Navigator RWD >> Repair and Diagnosis >> Steering >> Steering Column >> Steering System-General Information >> General Procedures >> Meshload Adjustment >> Adjustment Procedure
April 5, 2026: LEMON Manuals is launched! Read the announcement.

Adjustment Procedure

    NOTE: The engine should not be running.
    Fig 1: Turning Steering Wheel From Right Stop To Left Stop
    G03441921Courtesy of FORD MOTOR CO.
  1. Turn the steering wheel from right stop to left stop at least once.
  2. Remove the driver side air bag. For additional information, refer to DRIVER-SIDE AIR BAG MODULE .
  3. Raise and support the vehicle.
  4. If equipped, remove the 6 skid plate bolts and the skid plate.
    Fig 2: Removing Skid Plate Bolts & Skid Plate
    G03441922Courtesy of FORD MOTOR CO.
  5. Remove the steering sector shaft arm drag link nut.
    1. Remove the cotter pin.
    2. Remove the castellated nut.
    Fig 3: Removing Cotter Pin & Steering Sector Shaft Arm Drag Link Nut
    G03441923Courtesy of FORD MOTOR CO.
  6. Using the special tool, separate the steering sector shaft arm drag link.
    Fig 4: Separating Steering Sector Shaft Arm Drag Link
    G03441924Courtesy of FORD MOTOR CO.
  7. NOTE: The front wheels should not touch the ground.
  8. Lower and support the front of the vehicle.
  9. NOTE: Measure the torque to turn in the 90° arc just prior to end of travel.
    Fig 5: Measuring Steering Gear Meshload From Center
    G03441925Courtesy of FORD MOTOR CO.
  10. Attach a lb/in torque wrench to the (A) bolt and measure the steering gear meshload from center.
  11. Meshload adjustment is necessary if out of specification.
    • Adjust meshload as required to obtain center torque 0.23-0.80 Nm (2-7 lb-in) greater than end torque.
    Fig 6: Adjusting Meshload
    G03441926Courtesy of FORD MOTOR CO.
  12. Adjust the sector shaft to correct rotating torque.
    1. Hold the sector shaft and loosen the meshload adjuster locknut.
    2. Adjust the sector shaft screw.
    Fig 7: Adjusting Sector Shaft
    G03441927Courtesy of FORD MOTOR CO.
  13. Verify that the static steering wheel turning effort is to specification.
    • Readjust if necessary.
    Fig 8: Verifying Static Steering Wheel Turning Effort
    G03441928Courtesy of FORD MOTOR CO.
  14. NOTE: Do not overtighten locknut.
    Fig 9: Tightening Meshload Adjuster Locknut
    G03441929Courtesy of FORD MOTOR CO.
  15. Tighten the meshload adjuster locknut.
    1. Hold the sector shaft screw.
    2. Tighten the locknut to specification.
  16. Install the steering sector shaft arm drag link castellated nut and cotter pin.
    1. Position the steering sector shaft arm drag link.
    2. Install the steering sector shaft arm drag link castellated nut.
    3. Install a new cotter pin.
    Fig 10: Installing Steering Sector Shaft Arm Drag Link Castellated Nut & Cotter Pin
    G03441930Courtesy of FORD MOTOR CO.
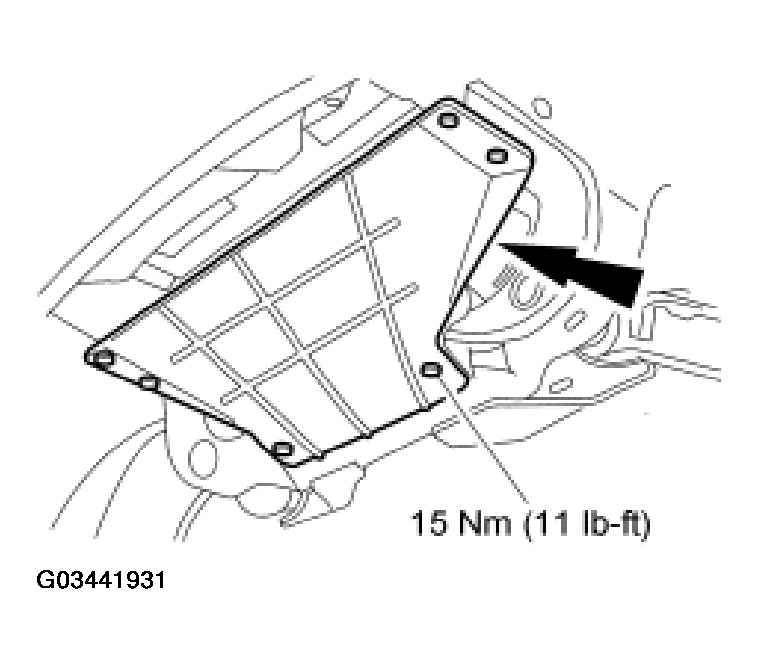
  17. If equipped, position the skid plate and install the 6 bolts.
    Fig 11: Installing Skid Plate & Bolts
    G03441931Courtesy of FORD MOTOR CO.
  18. Lower the vehicle.
  19. Install the driver side air bag; refer to DRIVER-SIDE AIR BAG MODULE .