LEMON Manuals: Even more car manuals for everyone: 1960-2025
Home >> Lincoln >> 2003 >> Aviator AWD >> Repair and Diagnosis >> External Pages >> Different car >> Section 1338 (Component Testing) >> Introduction >> Multifunction Switch, Lamp Portion >> Schematic
April 5, 2026: LEMON Manuals is launched! Read the announcement.

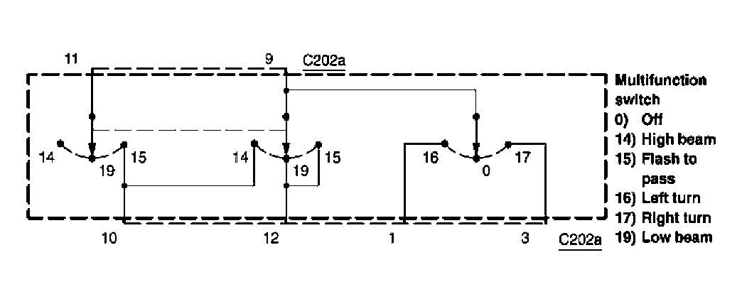
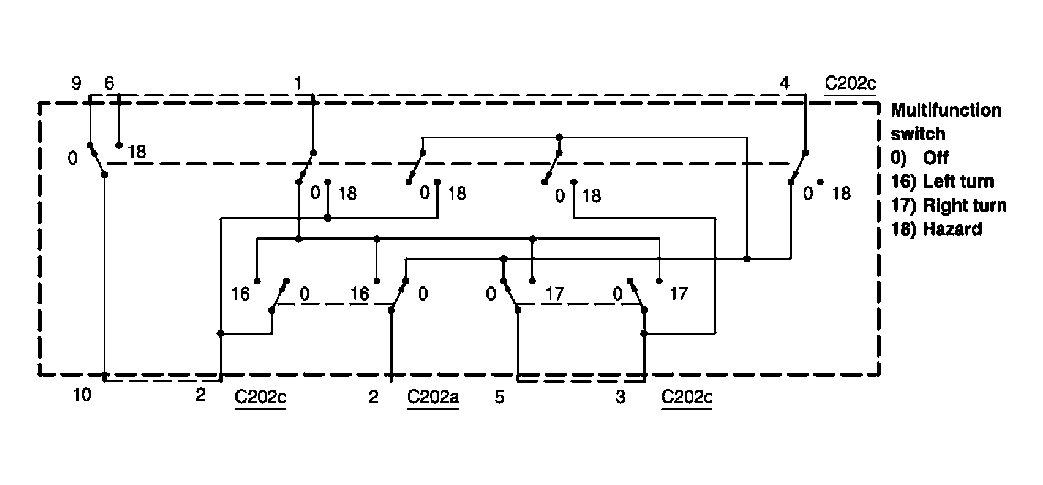
Multifunction Switch, Lamp Portion: Schematic

WARNING: This page is about a different car, the 2005 Lincoln Town Car. However, it is still accessible from the selected car via links, so may be relevant.
Fig 1: Multifunction Switch, Lamp Portion - Schematic
G04013175Courtesy of FORD MOTOR CO.


Fig 1: Multifunction Switch, Lamp Portion - Schematic
G04013177Courtesy of FORD MOTOR CO.