LEMON Manuals: Even more car manuals for everyone: 1960-2025
Home >> Lincoln >> 2003 >> Town Car Protection Series >> Repair and Diagnosis >> External Pages >> Different car >> Section 280 (Climate Control System) >> Diagnosis And Testing >> Climate Control System >> Symptom Chart >> Connector Circuit Reference >> Blower Motor Relay
April 5, 2026: LEMON Manuals is launched! Read the announcement.

Blower Motor Relay

WARNING: This page is about a different car, the 2003 Lincoln LS. However, it is still accessible from the selected car via links, so may be relevant.
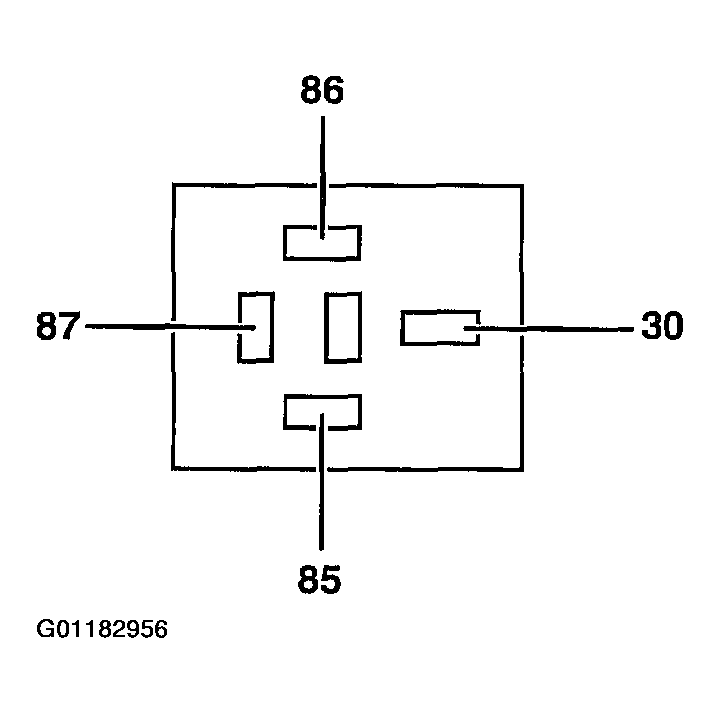
Fig 1: Identifying Blower Motor Relay
G01182956Courtesy of FORD MOTOR CO.
Fig 2: Blower Motor Relay Pin Specifications Chart
G01182957Courtesy of FORD MOTOR CO.