LEMON Manuals: Even more car manuals for everyone: 1960-2025
Home >> Lincoln >> 2004 >> Aviator RWD >> Repair and Diagnosis >> Engine Mechanical >> Mechanical >> Engine >> Disassembly >> Engine
April 5, 2026: LEMON Manuals is launched! Read the announcement.

Engine Mechanical: Mechanical: Engine: Disassembly: Engine

Fig 1: Identifying Special Tool(s)
G03264556Courtesy of FORD MOTOR CO.
CAUTION: Remove the cylinder heads before removing the crankshaft. Failure to do so can result in engine damage.
  1. Remove the flexplate and the spacer plate.
    Fig 2: Removing Flexplate And Spacer Plate
    G03264557Courtesy of FORD MOTOR CO.
  2. Using the special tools, remove the crankshaft oil slinger.
    Fig 3: Removing Crankshaft Oil Slinger
    G03264558Courtesy of FORD MOTOR CO.
  3. Using the special tools, remove the crankshaft rear seal.
    Fig 4: Removing Crankshaft Rear Seal
    G03264559Courtesy of FORD MOTOR CO.
  4. Remove the rear seal retainer plate.
    Fig 5: Removing Rear Seal Retainer Plate
    G03264560Courtesy of FORD MOTOR CO.
  5. Mount the engine on a suitable engine stand.
    Fig 6: Mounting Engine On A Suitable Engine Stand
    G03264561Courtesy of FORD MOTOR CO.
  6. Remove the two bolts and the pin-type retainer from the power steering reservoir bracket.
    Fig 7: Removing Two Bolts And Pin-Type Retainer From Power Steering Reservoir Bracket
    G03264562Courtesy of FORD MOTOR CO.
  7. Remove the power steering reservoir and bracket.
    • Disconnect the hose from the power steering pump.
    • Remove the bolt and the reservoir and bracket.
    Fig 8: Removing Reservoir And Bracket
    G03264563Courtesy of FORD MOTOR CO.
  8. Disconnect the battery cable harness ground.
    Fig 9: Disconnecting Battery Cable Harness Ground
    G03264564Courtesy of FORD MOTOR CO.
  9. Disconnect the electrical connector and the battery cable from the alternator.
    Fig 10: Disconnecting Electrical Connector And Battery Cable From Alternator
    G03264565Courtesy of FORD MOTOR CO.
  10. Disconnect the two retainers from the engine front cover studs.
    Fig 11: Disconnecting Two Retainers From Engine Front Cover Studs
    G03264566Courtesy of FORD MOTOR CO.
  11. Disconnect the two retainers from the A/C compressor.
    Fig 12: Disconnecting Two Retainers From A/C Compressor
    G03264567Courtesy of FORD MOTOR CO.
  12. Remove the bolt and the battery cable harness from the RH engine mount.
    Fig 13: Removing Bolt And Battery Cable Harness From RH Engine Mount
    G03264568Courtesy of FORD MOTOR CO.
  13. Disconnect the electrical connector and the vacuum hose from the fuel pressure sensor.
    Fig 14: Disconnecting Electrical Connector And Vacuum Hose From Fuel Pressure Sensor
    G03264569Courtesy of FORD MOTOR CO.
  14. Disconnect the vacuum harness from the intake manifold and remove the harness.
    Fig 15: Disconnecting Vacuum Harness From Intake Manifold
    G03264570Courtesy of FORD MOTOR CO.
  15. NOTE: LH shown; RH similar.
    Fig 16: Removing LH And RH Coil Covers
    G03264571Courtesy of FORD MOTOR CO.
  16. Remove the LH and RH coil covers.
  17. NOTE: LH shown; RH similar.
    Fig 17: Disconnecting Rh And LH Ignition Coil Electrical Connectors
    G03264572Courtesy of FORD MOTOR CO.
  18. Disconnect the RH and LH ignition coil electrical connectors.
  19. Disconnect the radio interference capacitor electrical connector.
    Fig 18: Disconnecting Radio Interference Capacitor Electrical Connector
    G03264573Courtesy of FORD MOTOR CO.
  20. Disconnect the eight fuel injector electrical connectors.
    Fig 19: Disconnecting Eight Fuel Injector Electrical Connectors
    G03264574Courtesy of FORD MOTOR CO.
  21. Separate the fuel charging wiring harness retainers from the fuel injection supply manifold.
    Fig 20: Identifying Wiring Harness Retainers From Fuel Injection Supply Manifold
    G03264575Courtesy of FORD MOTOR CO.
  22. Disconnect the camshaft position (CMP) sensor electrical connector and the two retainers from the valve cover.
    Fig 21: Disconnecting Camshaft Position (CMP) Sensor Electrical Connector
    G03264576Courtesy of FORD MOTOR CO.
  23. Disconnect the oil pressure sensor electrical connector.
    Fig 22: Disconnecting Oil Pressure Sensor Electrical Connector
    G03264577Courtesy of FORD MOTOR CO.
  24. Disconnect the pin-type retainers from the back of the engine in the locations shown.
    Fig 23: Disconnecting Pin-Type Retainers From Back Of Engine
    G03264578Courtesy of FORD MOTOR CO.
  25. Disconnect the knock sensor (KS) electrical connector and the pin-type retainer.
    Fig 24: Disconnecting Knock Sensor (KS) Electrical Connector And Pin-Type Retainer
    G03264579Courtesy of FORD MOTOR CO.
  26. Disconnect the wiring harness retainer from the stud on the cylinder head.
    Fig 25: Disconnecting Wiring Harness Retainer From Stud On Cylinder Head
    G03264580Courtesy of FORD MOTOR CO.
  27. Disconnect the intake manifold runner control (IMRC) electrical connector.
    Fig 26: Disconnecting Intake Manifold Runner Control (IMRC) Electrical Connector
    G03264581Courtesy of FORD MOTOR CO.
  28. Disconnect the exhaust gas recirculation (EGR) system module tube nut from the exhaust manifold.
    Fig 27: Disconnecting Exhaust Gas Recirculation (EGR) System Module Tube Nut From Exhaust Manifold
    G03264582Courtesy of FORD MOTOR CO.
  29. Disconnect the cylinder head temperature (CHT) sensor electrical connector and the two pin-type retainers.
    Fig 28: Disconnecting Cylinder Head Temperature (CHT) Sensor Electrical Connector
    G03264583Courtesy of FORD MOTOR CO.
  30. Disconnect the positive crankcase ventilation (PCV) electrical connector.
    Fig 29: Disconnecting Positive Crankcase Ventilation (PCV) Electrical Connector
    G03264584Courtesy of FORD MOTOR CO.
  31. Remove the PCV tube.
    Fig 30: Removing PCV Tube
    G03264585Courtesy of FORD MOTOR CO.
  32. Disconnect the RH radio interference capacitor electrical connector and the pin-type retainer.
    Fig 31: Disconnecting RH Radio Interference Capacitor Electrical Connector
    G03264586Courtesy of FORD MOTOR CO.
  33. Disconnect the throttle position (TP) sensor and the idle air control (IAC) sensor electrical connectors.
    Fig 32: Disconnecting Throttle Position (TP) Sensor And Idle Air Control (IAC) Sensor Electrical Connectors
    G03264587Courtesy of FORD MOTOR CO.
  34. Disconnect the two retainers from the RH valve cover studs.
    Fig 33: Disconnecting Two Retainers From RH Valve Cover Studs
    G03264588Courtesy of FORD MOTOR CO.
  35. Disconnect the engine coolant temperature (ECT) sensor electrical connector.
    Fig 34: Disconnecting Engine Coolant Temperature (ECT) Sensor Electrical Connector
    G03264589Courtesy of FORD MOTOR CO.
  36. Disconnect the A/C compressor and the crankshaft position (CKP) sensor electrical connectors.
    Fig 35: Disconnecting A/C Compressor And Crankshaft Position (CKP) Sensor Electrical Connectors
    G03264590Courtesy of FORD MOTOR CO.
  37. Remove the upper radiator hose.
    Fig 36: Removing Upper Radiator Hose
    G03264591Courtesy of FORD MOTOR CO.
  38. Remove the coolant bypass-to-thermostat housing hose.
    Fig 37: Removing Coolant Bypass-To-Thermostat Housing Hose
    G03264592Courtesy of FORD MOTOR CO.
  39. Remove the accessory drive belt. For additional information, refer to ACCESSORY DRIVE BELT, TENSIONER AND PULLEY .
  40. Remove the bolts and the generator support bracket.
    Fig 38: Removing Generator Support Bracket
    G03264593Courtesy of FORD MOTOR CO.
  41. Remove the bolts and the generator.
    Fig 39: Removing Generator
    G03264594Courtesy of FORD MOTOR CO.
  42. Remove the crossover tube.
    1. Disconnect the coolant hose.
    2. Remove the retainers and the crossover tube.
    Fig 40: Removing Crossover Tube
    G03264595Courtesy of FORD MOTOR CO.
  43. Remove the eight ignition coils.
    Fig 41: Removing Ignition Coils
    G03264596Courtesy of FORD MOTOR CO.
  44. Remove the nut and the bolt from the oil level indicator tube and position the tube aside.
    Fig 42: Removing Oil Level Indicator Tube
    G03264597Courtesy of FORD MOTOR CO.
  45. NOTE: RH shown; LH similar.
    Fig 43: Removing Engine Lifting Eyes
    G03264598Courtesy of FORD MOTOR CO.
  46. Remove the engine lifting eyes.
  47. Remove the bolts and the LH valve cover.
    Fig 44: Removing LH Valve Cover
    G03264599Courtesy of FORD MOTOR CO.
  48. Remove the coolant hose retainers from the RH valve cover.
    Fig 45: Removing Coolant Hose Retainers From RH Valve Cover
    G03264600Courtesy of FORD MOTOR CO.
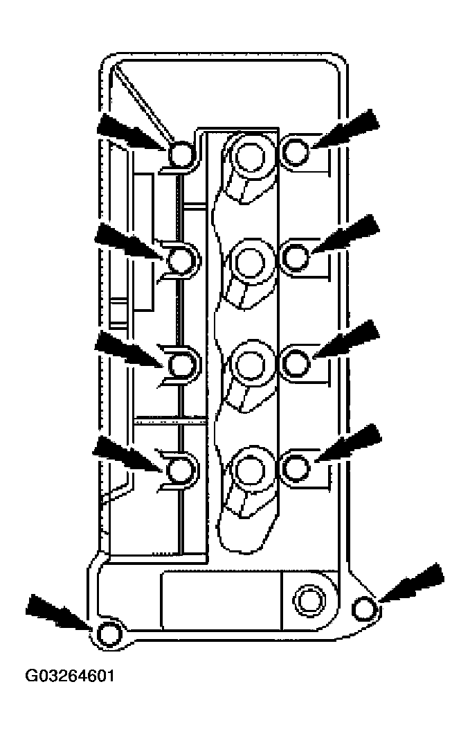
  49. Remove the bolts and the RH valve cover.
    Fig 46: Removing RH Valve Cover
    G03264601Courtesy of FORD MOTOR CO.
  50. Remove the retainers and the upper-to-lower intake bracket.
    Fig 47: Removing Retainers And Upper-To-Lower Intake Bracket
    G03264602Courtesy of FORD MOTOR CO.
  51. NOTE: Upper intake shown removed for clarity.
    Fig 48: Bolt Removal Sequence
    G03264603Courtesy of FORD MOTOR CO.
  52. Remove the bolts in the sequence shown and remove the upper and lower intake.
  53. Remove the bolt and the coolant bypass tube.
    Fig 49: Removing Bolt And Coolant Bypass Tube
    G03264604Courtesy of FORD MOTOR CO.
  54. Remove the bolts and the KS.
    Fig 50: Removing Bolts And KS
    G03264605Courtesy of FORD MOTOR CO.
  55. NOTE: LH shown; RH similar.
    Fig 51: Removing Exhaust Manifolds
    G03264606Courtesy of FORD MOTOR CO.
  56. Remove the exhaust manifolds.
    1. Remove the 16 nuts.
    2. Remove the exhaust manifolds.
    3. Remove the exhaust manifold gaskets.
  57. Remove the oil level indicator tube.
  58. NOTE: LH shown; RH similar.
    Fig 52: Removing LH And RH Engine Mounts
    G03264607Courtesy of FORD MOTOR CO.
  59. Remove the LH and RH engine mounts.
  60. NOTE: RH shown, LH similar.
    Fig 53: Removing Drain Plugs From Engine Block
    G03264608Courtesy of FORD MOTOR CO.
  61. Remove the drain plugs from the engine block. Allow the coolant to completely drain.
  62. Remove the four bolts and the oil filter adapter.
    • Discard the oil filter.
    • Discard the gasket.
    Fig 54: Removing Oil Filter Adapter
    G03264609Courtesy of FORD MOTOR CO.
  63. Clean and inspect the oil filter adapter.
    • Flush the adapter with parts cleaner. If metal particles are present, install a new oil filter adapter.
  64. Remove the three remaining bolts and the power steering pump.
    Fig 55: Removing Power Steering Pump
    G03264610Courtesy of FORD MOTOR CO.
  65. Remove the bolts and the A/C Compressor.
    Fig 56: Removing A/C Compressor
    G03264611Courtesy of FORD MOTOR CO.
  66. Install the special tool.
    1. Loosen the bolts.
    Fig 57: Installing Special Tool
    G03264612Courtesy of FORD MOTOR CO.
  67. Remove the coolant pump pulley.
    1. Remove the bolts.
    2. Remove the coolant pump pulley.
    Fig 58: Removing Coolant Pump Pulley
    G03264613Courtesy of FORD MOTOR CO.
  68. Remove the coolant pump from the cylinder block.
    • Clean and inspect the sealing surfaces.
    Fig 59: Removing Coolant Pump From Cylinder Block
    G03264614Courtesy of FORD MOTOR CO.
  69. To remove the crankshaft pulley bolt, remove the upper fan shroud and electric fan. For additional information, refer to ENGINE COOLING .
  70. Using the special tool to prevent the crankshaft pulley from turning, remove the pulley bolt.
    Fig 60: Using Special Tool To Prevent Crankshaft Pulley From Turning
    G03264615Courtesy of FORD MOTOR CO.
  71. Remove the bolt.
    Fig 61: Removing Pulley Bolt
    G03264616Courtesy of FORD MOTOR CO.
  72. Using the special tool, remove the crankshaft vibration damper.
    Fig 62: Removing Crankshaft Vibration Damper
    G03264617Courtesy of FORD MOTOR CO.
  73. Using the special tool, remove the crankshaft front seal.
    Fig 63: Removing Crankshaft Front Seal
    G03264618Courtesy of FORD MOTOR CO.
  74. Remove the bolt and the belt idler pulley.
    Fig 64: Removing Bolt And Belt Idler Pulley
    G03264619Courtesy of FORD MOTOR CO.
  75. Remove the four front oil pan-to-timing cover bolts.
    Fig 65: Removing Four Front Oil Pan-To-Timing Cover Bolts
    G03264620Courtesy of FORD MOTOR CO.
  76. Remove the engine front cover fasteners in the sequence shown.
    Fig 66: Engine Front Cover Fastener Removal Sequence
    G03264621Courtesy of FORD MOTOR CO.
  77. NOTE: Be careful when removing the gasket. It is reusable if not damaged.
    Fig 67: Removing Oil Pan And Gasket
    G03264622Courtesy of FORD MOTOR CO.
  78. Remove the oil pan and the gasket.
  79. Remove the crankshaft position sensor pulse wheel.
    Fig 68: Removing Crankshaft Position Sensor Pulse Wheel
    G03264623Courtesy of FORD MOTOR CO.
  80. Position the piston of the cylinder in which the roller followers are being removed at the bottom of the stroke and camshaft lobe at the base circle.
  81. Using the special tool, compress the intake valve spring and remove the roller follower.
    Fig 69: Compressing Intake Valve Spring
    G03264624Courtesy of FORD MOTOR CO.
  82. Using the special tool, compress the exhaust valve spring and remove the roller follower.
    Fig 70: Compressing Exhaust Valve Spring
    G03264625Courtesy of FORD MOTOR CO.
  83. Repeat the above steps to remove all the roller followers.
  84. Remove the bolts and the RH and LH timing chain tensioners.
    Fig 71: Removing RH And LH Timing Chain Tensioners
    G03264626Courtesy of FORD MOTOR CO.
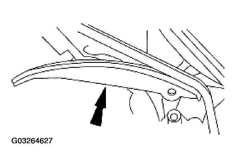
  85. Remove the RH and LH timing chain tensioner arms.
    Fig 72: Removing RH And LH Timing Chain Tensioner Arms
    G03264627Courtesy of FORD MOTOR CO.
  86. Remove the RH and the LH timing chains and the crankshaft sprocket.
    Fig 73: Removing RH And LH Timing Chains And Crankshaft Sprocket
    G03264628Courtesy of FORD MOTOR CO.
  87. Remove the RH and LH timing chain guides.
    Fig 74: Removing RH And LH Timing Chain Guides
    G03264629Courtesy of FORD MOTOR CO.
  88. Remove the RH and LH cylinder heads.
    • Discard the cylinder head bolts.
    Fig 75: Removing RH And LH Cylinder Head Bolts
    G03264630Courtesy of FORD MOTOR CO.
  89. Remove the bolts and the oil pump screen and pickup tube.
    Fig 76: Removing Oil Pump Screen And Pickup Tube
    G03264631Courtesy of FORD MOTOR CO.
  90. Remove the oil pump screen and pickup tube spacer.
    Fig 77: Removing Oil Pump Screen And Pickup Tube Spacer
    G03264632Courtesy of FORD MOTOR CO.
  91. Remove the spacers and the windage tray.
    Fig 78: Removing Spacers And Windage Tray
    G03264633Courtesy of FORD MOTOR CO.
  92. Remove the bolts and the oil pump.
    Fig 79: Removing Oil Pump
    G03264634Courtesy of FORD MOTOR CO.
  93. CAUTION: Do not stamp the top of pistons, as ring land damage can occur.
    NOTE: Connecting rods and rod caps should be numbered to keep the correct orientation in the following sequence.
    Fig 80: Removing Connecting Rod Caps For Pistons 1 And 6
    G03264635Courtesy of FORD MOTOR CO.
  94. Remove the connecting rod caps for piston numbers 1 and 6.
    • Discard the bolts.
  95. CAUTION: Do not scratch the cylinder walls or crankshaft journals with the connecting rod.
    NOTE: Before removing pistons, inspect the top of the cylinder bores. If necessary, remove the ridge or carbon deposits from each cylinder using a cylinder ridge reamer following manufacturer's instructions.
    Fig 81: Pushing Piston 1 And 6 Through Top Of Cylinder Block
    G03264636Courtesy of FORD MOTOR CO.
  96. Using the special tool, push piston numbers 1 and 6 through the top of the cylinder block.
  97. To remove pistons 3 and 5, 4 and 7, 2 and 8, turn the crankshaft 90 degrees and repeat the previous two steps.
    CAUTION: Remove the cylinder heads before removing the crankshaft. Failure to do so can result in engine damage.
  98. Remove the side bolts.
    Fig 82: Removing Side Bolts
    G03264637Courtesy of FORD MOTOR CO.
  99. Remove and discard the bolts.
    Fig 83: Removing And Bolts
    G03264638Courtesy of FORD MOTOR CO.
  100. Remove the main bearing cap and the crankshaft lower main bearings from the cylinder block.
    Fig 84: Removing Main Bearing Cap And Crankshaft Lower Main Bearings From Cylinder Block
    G03264639Courtesy of FORD MOTOR CO.
  101. Remove the crankshaft, the crankshaft thrust washer, and the crankshaft upper main bearings from the cylinder block.
    Fig 85: Removing Crankshaft Thrust Washer And Crankshaft Upper Main Bearings From Cylinder Block
    G03264640Courtesy of FORD MOTOR CO.