LEMON Manuals: Even more car manuals for everyone: 1960-2025
Home >> Lincoln >> 2005 >> Navigator 4WD >> Repair and Diagnosis >> Transmission >> Automatic Trans >> Automatic Transmission >> Disassembly And Assembly Of Subassemblies >> Overdrive Clutch Assembly >> Assembly
April 5, 2026: LEMON Manuals is launched! Read the announcement.

Overdrive Clutch Assembly: Assembly

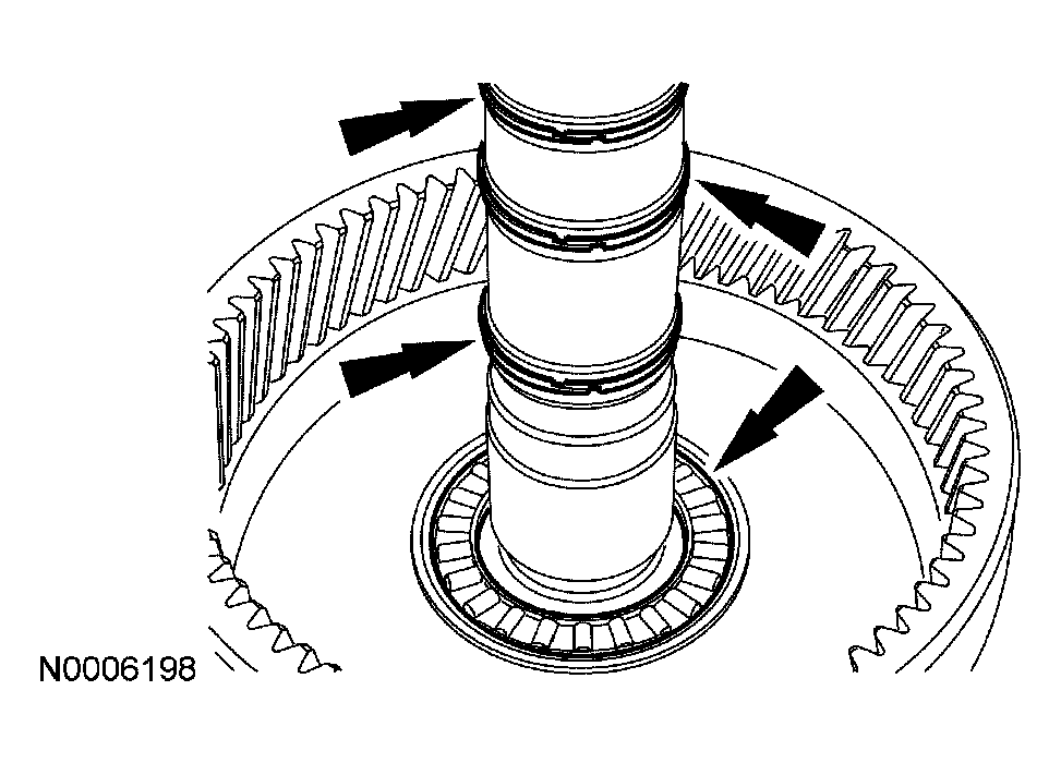
  1. Install the 3 square cut seals and the roller bearing.
    Fig 1: Installing Square Cut Seals
    G03929337Courtesy of FORD MOTOR CO.
  2. If removed, install the overdrive clutch thrust washer.
    Fig 2: Installing Overdrive Clutch Thrust Washer
    G03929336Courtesy of FORD MOTOR CO.
  3. Install the overdrive clutch plates, starting with the wave spring then a steel plate and alternating between friction and steel plates, and ending with the pressure plate on the top.
    Fig 3: Installing Overdrive Clutch Plates
    G03929340Courtesy of FORD MOTOR CO.
  4. Install the overdrive clutch pack snap ring.
    Fig 4: Installing Overdrive Clutch Pack Snap Ring
    G03929334Courtesy of FORD MOTOR CO.
  5. Install the roller bearing.
    Fig 5: Installing Roller Bearing
    G03929333Courtesy of FORD MOTOR CO.