LEMON Manuals: Even more car manuals for everyone: 1960-2025
Home >> Lincoln >> 2005 >> Navigator RWD >> Repair and Diagnosis (Single Page) >> Accessories & Equipment >> Accessories Control Systems >> Component Testing >> Component Testing >> Multifunction Switch, Turn Portion >> Schematic
April 5, 2026: LEMON Manuals is launched! Read the announcement.

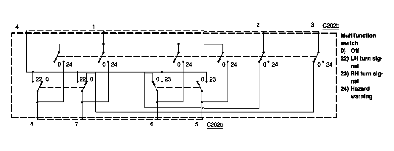
Multifunction Switch, Turn Portion: Schematic

Fig 1: Multifunction Switch - Schematic (Turn Portion)
G03993443Courtesy of FORD MOTOR CO.