LEMON Manuals: Even more car manuals for everyone: 1960-2025
Home >> Lincoln >> 2007 >> Navigator 4WD V8-5.4L >> Repair and Diagnosis >> Specifications >> Mechanical Specifications >> Engine >> Oil Pan, Engine
April 5, 2026: LEMON Manuals is launched! Read the announcement.

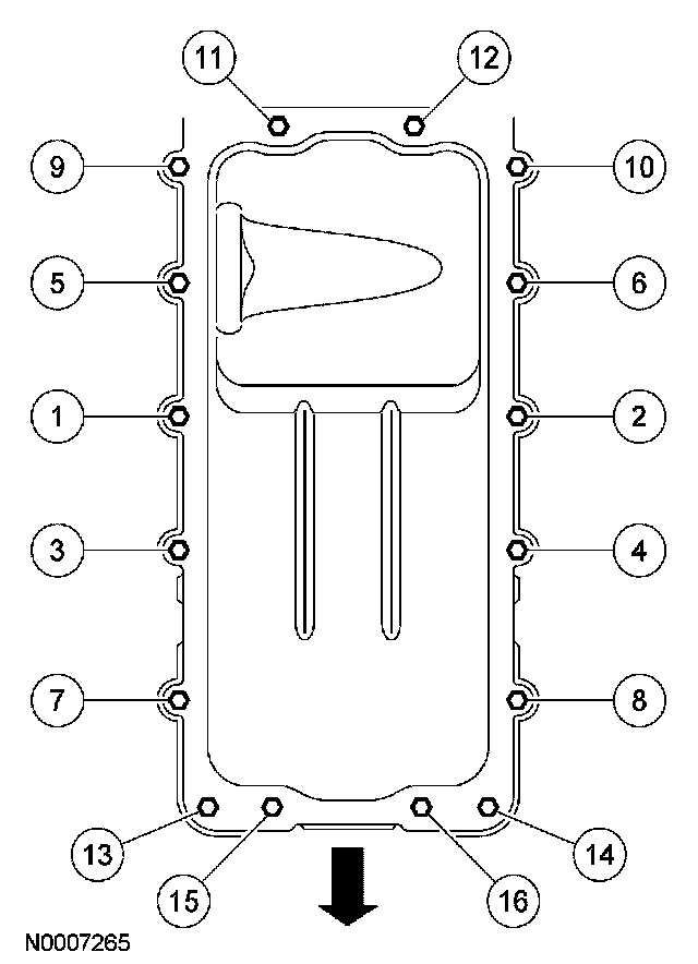
Oil Pan, Engine

Oil Pan Bolts





First pass 2 Nm (18 inch lbs.)
Second pass 20 Nm (15 ft. lbs.)
Final pass Tighten 60°