LEMON Manuals: Even more car manuals for everyone: 1960-2025
Home >> Lincoln >> 2007 >> Navigator 4WD >> Repair and Diagnosis >> Engine Mechanical >> Mechanical >> Engine >> Disassembly >> Engine
April 5, 2026: LEMON Manuals is launched! Read the announcement.

Engine Mechanical: Mechanical: Engine: Disassembly: Engine

Special Tools

Illustration Tool Name Tool Number
GF0000329
Compressor, Valve Spring 303-1039
GF0000351
Installer, Connecting Rod 303-442 (T93P-6136-A)
GF0000339
Lifting Bracket, Engine 303-F047 (014-00073)
GF0000330
Locking Tool, Cam Phaser Sprocket 303-1046
GF0000344
Remover, Crankshaft Front Oil Seal 303-107 (T74P-6700-A)
GF0000317
Remover, Crankshaft Rear Oil Seal 303-519 (T95P-6701-EH)
GF0000319
Remover, Crankshaft Rear Oil Slinger 303-514 (T95P-6701-AH)
GF0000385
Remover, Crankshaft Vibration Damper 303-009 (T58P-6316-D)
GF0000345
Remover/Installer, Cylinder Head 303-572 (T97T-6000-A)
GF0000218
Slide Hammer 100-001 (T50T-100-A)
Material

Item Specification
Motorcraft Metal Surface Prep
ZC-31
-
Silicone Gasket Remover
ZC-30
-
CAUTION: Remove the cylinder heads before removing the crankshaft. Failure to do so may result in engine damage.
CAUTION: During engine repair procedures, cleanliness is extremely important. Any foreign material, including any material created while cleaning gasket surfaces that enters the oil passages, coolant passages or the oil pan, may cause engine failure.
NOTE: The flexplate, crankshaft rear seal and the crankshaft rear oil slinger must be removed before mounting the engine on the engine stand.
NOTE: For additional information, refer to the exploded view under the assembly procedure.
  1. Remove the bolts and the flexplate.
  2. Fig 1: Identifying Flexplate Bolts
    GF0002789Courtesy of FORD MOTOR CO.
  3. Using the special tools, remove and discard the crankshaft rear oil slinger.
  4. Fig 2: Removing Crankshaft Rear Oil Seal Slinger
    G03920149Courtesy of FORD MOTOR CO.
  5. Using the special tools, remove and discard the crankshaft rear seal.
  6. Fig 3: Removing Crankshaft Rear Seal
    G03920150Courtesy of FORD MOTOR CO.
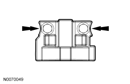
  7. Remove the 8 bolts and the crankshaft rear seal retainer plate.
  8. Fig 4: Identifying Crankshaft Rear Seal Retainer Plate Bolts
    GF0000352Courtesy of FORD MOTOR CO.
  9. Mount the engine on a suitable work stand.
  10. Remove the special tool.
  11. Fig 5: Identifying Special Tool (303-F047)
    G03920205Courtesy of FORD MOTOR CO.
  12. Remove the 3 bolts and the RH engine support insulator bracket.
  13. Fig 6: Right Engine Support Insulator Bracket Bolts
    GF0022044Courtesy of FORD MOTOR CO.
    NOTE: LH shown, RH similar.
  14. Remove the cylinder block drain plugs and drain the coolant into a suitable container.
  15. Fig 7: Locating Cylinder Block Drain Plug
    G03885619Courtesy of FORD MOTOR CO.
    NOTE: LH shown, RH similar.
  16. Install the cylinder block drain plugs.
    • Tighten to 24 Nm (18 lb-ft).
  17. Fig 8: Locating Cylinder Block Drain Plug
    G03885619Courtesy of FORD MOTOR CO.
  18. Disconnect the 2 coolant hoses from the oil filter adapter.
  19. Fig 9: Coolant Hoses At Oil Filter Adapter
    GF0022047Courtesy of FORD MOTOR CO.
    NOTE: RH shown, LH similar.
  20. Disconnect the RH and LH camshaft position (CMP) sensor electrical connectors.
  21. Fig 10: Identifying RH CMP Sensor Electrical Connector
    G03919909Courtesy of FORD MOTOR CO.
  22. Remove the nut and the RH radio ignition interference capacitor.
  23. Fig 11: Identifying RH Radio Ignition Interference Capacitor Stud Bolt
    G03920219Courtesy of FORD MOTOR CO.
    NOTE: RH shown, LH similar.
  24. Disconnect the RH and LH variable camshaft timing (VCT) solenoid electrical connector.
  25. Fig 12: Locating Camshaft Timing (VCT) Solenoid Electrical Connectors
    G03920220Courtesy of FORD MOTOR CO.
  26. Disconnect the 2 engine wiring harness retainers from the RH valve cover studs.
  27. Fig 13: Locating Engine Wiring Harness Retainers At RH Valve Cover
    G03920221Courtesy of FORD MOTOR CO.
  28. Disconnect the electrical connector retainer from the coolant tube.
  29. Fig 14: Locating Electrical Connector Retainer At Coolant Tube Support Bracket
    G03919850Courtesy of FORD MOTOR CO.
  30. Disconnect the cylinder head temperature (CHT) sensor electrical connector.
  31. Fig 15: Locating Cylinder Head Temperature (CHT) Sensor Electrical Connector
    G03920224Courtesy of FORD MOTOR CO.
  32. Disconnect the 2 engine wiring harness retainers from the LH valve cover studs.
  33. Fig 16: Locating Engine Wiring Harness Retainers
    GF0015230Courtesy of FORD MOTOR CO.
  34. Remove the nut and the LH radio ignition interference capacitor.
  35. Fig 17: Identifying LH Radio Ignition Interference Capacitor And Stud Bolt
    G03920225Courtesy of FORD MOTOR CO.
    NOTE: LH shown, RH similar.
  36. Remove the 8 bolts and the 8 ignition coils.
    • Remove the ignition coil using a twisting motion while pulling up on the ignition coil.
  37. Fig 18: Identifying Ignition Coils And Bolts
    G03920226Courtesy of FORD MOTOR CO.
  38. Remove the engine wiring harness from the engine assembly.
  39. Remove the 2 bolts and the 2 knock sensors (KS).
  40. Fig 19: Identifying Knock Sensors (KS)
    G03920293Courtesy of FORD MOTOR CO.
  41. Remove the stud bolt and the coolant tube.
    • Discard the O-ring seal.
  42. Fig 20: Identifying Coolant Tube Stud Bolt
    G03920263Courtesy of FORD MOTOR CO.
  43. Remove the bolt and the RH CMP sensor.
  44. Fig 21: Locating Camshaft (CMP) Sensor Bolt
    G03920013Courtesy of FORD MOTOR CO.
  45. Remove the bolt and the LH CMP sensor.
  46. Fig 22: Locating Bolt And LH CMP Sensor
    G03919989Courtesy of FORD MOTOR CO.
  47. Remove the bolt and the crankshaft position (CKP) sensor.
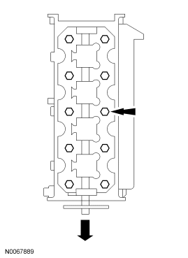
  48. Fig 23: Locating Crankshaft Position (CKP) Sensor Bolt
    G03920231Courtesy of FORD MOTOR CO.
    CAUTION: Do not use metal scrapers, wire brushes, power abrasive discs or other abrasive means to clean the sealing surfaces. These tools cause scratches and gouges which make leak paths. Use a plastic scraping tool to remove all traces of old sealant.
    CAUTION: When removing the valve cover, make sure to avoid damaging the variable camshaft timing (VCT) solenoid.
    NOTE: The fasteners are part of the valve cover and should not be removed.
    NOTE: LH shown, RH similar.
  49. Loosen the fasteners and remove the valve covers.
    • Clean the valve cover mating surface of the cylinder head with silicone gasket remover and metal surface prep. Follow the directions on the packaging.
    • Inspect the valve cover gasket. If the gasket is damaged, remove and discard the gasket. Clean the valve cover gasket groove with soap and water or a suitable solvent.
  50. Fig 24: Removing Valve Covers
    GF0002791Courtesy of FORD MOTOR CO.
  51. Remove the bolts and the LH engine support insulator-to-cylinder block bracket.
  52. Fig 25: Left Engine Support Insulator-To-Cylinder Block Bracket Bolts
    GF0022048Courtesy of FORD MOTOR CO.
  53. Remove the 8 nuts, the 8 studs and the RH exhaust manifold.
  54. Fig 26: Locating RH Exhaust Manifold Nuts
    GF0002794Courtesy of FORD MOTOR CO.
  55. Remove the bolt and the oil level indicator tube.
    • Discard the O-ring seal.
  56. Fig 27: Locating Oil Level Indicator Tube Bolt
    GF0002790Courtesy of FORD MOTOR CO.
  57. Remove the 3 bolts and the LH exhaust manifold heat shield.
  58. Fig 28: Exhaust Manifold Heat Shield Bolts
    GF0022045Courtesy of FORD MOTOR CO.
  59. Remove the 8 nuts, the 8 studs and the LH exhaust manifold.
  60. Fig 29: Locating LH Exhaust Manifold Nuts
    GF0002792Courtesy of FORD MOTOR CO.
  61. Remove the bolts and the oil filter adapter.
    • Discard the gasket.
  62. Fig 30: Locating Oil Filter Adapter Bolts
    GF0002693Courtesy of FORD MOTOR CO.
  63. Remove the bolts, the coolant pump pulley and the 3 accessory drive belt idler pulleys.
  64. Fig 31: Locating Coolant Pump Pulley And Accessory Drive Belt Idler Pulley Bolts
    G03933688Courtesy of FORD MOTOR CO.
  65. Remove the bolts and the accessory drive belt tensioner.
  66. Fig 32: Identifying Accessory Drive Belt Tensioner Bolts
    G03920234Courtesy of FORD MOTOR CO.
  67. Remove the coolant pump bolts.
  68. Fig 33: Coolant Pump Bolts
    GF0000354Courtesy of FORD MOTOR CO.
  69. Remove the coolant pump from the cylinder block.
    • Discard the O-ring seal.
  70. Fig 34: Identifying Coolant Pump
    G03885759Courtesy of FORD MOTOR CO.
  71. Remove and discard the crankshaft pulley bolt. Using the special tool, remove the crankshaft pulley.
  72. Fig 35: Removing Crankshaft Pulley Using Special Tool
    G03919906Courtesy of FORD MOTOR CO.
  73. Using the special tool, remove and discard the crankshaft front seal.
  74. Fig 36: Removing Crankshaft Front Seal Using Special Tool
    G03919889Courtesy of FORD MOTOR CO.
  75. Remove the bolts, oil pan and discard the oil pan gasket.
  76. Fig 37: Locating Oil Pan And Oil Pan Gasket Bolts
    GF0000321Courtesy of FORD MOTOR CO.
    NOTE: Correct fastener location is essential for the assembly procedure. Record fastener location.
  77. Remove the fasteners.
  78. Fig 38: Locating Bolts And Studs
    GF0002752Courtesy of FORD MOTOR CO.
  79. Remove the engine front cover from the cylinder block.
  80. Fig 39: Removing Engine Front Cover From Cylinder Block
    GF0000349Courtesy of FORD MOTOR CO.
  81. Remove the crankshaft sensor ring from the crankshaft.
  82. Fig 40: View Of Crankshaft Sensor Ring At Crankshaft
    G04583449Courtesy of FORD MOTOR CO.
  83. Position the crankshaft keyway at the 12 o'clock position.
  84. Fig 41: Positioning Crankshaft Keyway At 12 O'Clock Position
    G03919943Courtesy of FORD MOTOR CO.
    NOTE: If the camshaft lobes are not exactly positioned as shown, the crankshaft will require one full additional rotation to 12 o'clock.
  85. The No. 1 cylinder camshaft exhaust lobe must be coming up on the exhaust stroke. Verify by noting the position of the 2 intake camshaft lobes and the exhaust lobe on the No. 1 cylinder.
  86. Fig 42: Identifying Camshaft Lobe Position
    G03919944Courtesy of FORD MOTOR CO.
    CAUTION: If the components are to be reinstalled, they must be installed in the same positions. Mark the components for installation into the original locations. Failure to follow these instructions may result in engine damage.
  87. Remove only the 3 camshaft roller followers shown in the illustration from the RH cylinder head.
  88. Fig 43: Identifying RH Cylinder Head Camshaft Roller Followers And Bolts
    G03919945Courtesy of FORD MOTOR CO.
    NOTE: Do not allow the valve keepers to fall off the valve or the valve may drop into the cylinder.
    NOTE: It may be necessary to push the valve down while compressing the spring.
  89. Using the special tool, remove the 3 camshaft roller followers designated in the previous step from the RH cylinder head.
  90. Fig 44: Identifying Special Tool For Removing/Installing Camshaft Roller Followers
    G03919946Courtesy of FORD MOTOR CO.
    CAUTION: If the components are to be reinstalled, they must be installed in the same positions. Mark the components for installation into the original locations. Failure to follow these instructions may result in engine damage.
  91. Remove only the 3 camshaft roller followers shown in the illustration from the LH cylinder head.
  92. Fig 45: Locating LH Cylinder Head Camshaft Roller Followers And Bolts
    G03919947Courtesy of FORD MOTOR CO.
    NOTE: Do not allow the valve keepers to fall off the valve or the valve may drop into the cylinder.
    NOTE: It may be necessary to push the valve down while compressing the spring.
  93. Using the special tool, remove the 3 camshaft roller followers designated in the previous step from the LH cylinder head.
  94. Fig 46: Compressing Spring Using Special Tool
    G03919948Courtesy of FORD MOTOR CO.
    CAUTION: The crankshaft cannot be moved past the 6 o'clock position once set or engine damage may occur.
  95. Rotate the crankshaft clockwise and position the crankshaft keyway at the 6 o'clock position.
  96. Fig 47: Crankshaft Positioned With Keyway At 6 O'clock Position
    G03919949Courtesy of FORD MOTOR CO.
    CAUTION: If one or both of the tensioner mounting bolts are loosened or removed, the tensioner-sealing bead must be inspected for seal integrity. If cracks, tears, separation from the tensioner body or permanent compression of the seal bead is observed, install a new tensioner. Failure to follow these instructions may result in engine damage.
  97. Remove the bolts, the LH timing chain tensioner and tensioner arm.
  98. Fig 48: Identifying LH Timing Chain Tensioner & Tensioner Arm
    G03919950Courtesy of FORD MOTOR CO.
    CAUTION: If one or both of the tensioner mounting bolts are loosened or removed, the tensioner-sealing bead must be inspected for seal integrity. If cracks, tears, separation from the tensioner body or permanent compression of the seal bead is observed, install a new tensioner. Failure to follow these instructions may result in engine damage.
  99. Remove the bolts, the RH timing chain tensioner and tensioner arm.
  100. Fig 49: Identifying RH Timing Chain Tensioner, Tensioner Arm And Bolts
    G03919951Courtesy of FORD MOTOR CO.
  101. Remove the RH and LH timing chains and the crankshaft sprocket.
    • Remove the RH timing chain from the camshaft sprocket.
    • Remove the RH timing chain from the crankshaft sprocket.
    • Remove the LH timing chain from the camshaft sprocket.
    • Remove the LH timing chain and crankshaft sprocket.
  102. Fig 50: Identifying RH/LH Timing Chains
    G03919952Courtesy of FORD MOTOR CO.
    NOTE: RH shown, LH similar.
  103. Remove the LH and RH timing chain guides.
    • Remove the bolts.
    • Remove both timing chain guides.
  104. Fig 51: Identifying Timing Chain Guide And Mounting Bolts
    G03919953Courtesy of FORD MOTOR CO.
    CAUTION: Damage to the variable camshaft timing (VCT) phaser sprocket assembly will occur if mishandled or used as a lifting or leveraging device.
    CAUTION: Only use hand tools to remove the variable camshaft timing (VCT) phaser sprocket assembly or damage may occur to the camshaft or VCT phaser sprocket.
  105. Using the special tool, remove the bolt and the RH VCT phaser sprocket assembly.
    • Discard the VCT phaser sprocket bolt.
  106. Fig 52: Identifying VCT Phaser Sprocket Bolt And Holder Tool
    G03919954Courtesy of FORD MOTOR CO.
    CAUTION: Damage to the variable camshaft timing (VCT) phaser sprocket assembly will occur if mishandled or used as a lifting or leveraging device.
    CAUTION: Only use hand tools to remove the variable camshaft timing (VCT) phaser sprocket assembly or damage may occur to the camshaft or VCT phaser sprocket.
  107. Using the special tool, remove the bolt and the LH VCT phaser sprocket assembly.
    • Discard the VCT phaser sprocket bolt.
  108. Fig 53: Identifying Special Sprocket Phaser Tool
    G03919955Courtesy of FORD MOTOR CO.
  109. Install the special tool onto the LH cylinder head.
  110. Fig 54: Identifying Special Tool Onto Cylinder Head
    G03920258Courtesy of FORD MOTOR CO.
  111. Install the special tool onto the RH cylinder head.
  112. Fig 55: Identifying Special Tool On Cylinder Head
    G03920261Courtesy of FORD MOTOR CO.
    CAUTION: Remove the front thrust camshaft bearing cap straight upward from the bearing towers or the bearing cap may be damaged from side loading.
  113. Remove the 2 bolts and the RH front camshaft bearing cap.
  114. Fig 56: Removing Camshaft Front Bearing Cap Bolts
    GF0005526Courtesy of FORD MOTOR CO.
    CAUTION: The camshaft bearing caps must be installed in their original locations. Record camshaft bearing cap locations. Failure to follow these instructions may result in engine damage.
  115. Remove the remaining bolts in the sequence shown and remove the remaining RH camshaft bearing caps.
  116. Fig 57: Removing Camshaft Bearing Caps Bolts In Sequence
    GF0005527Courtesy of FORD MOTOR CO.
  117. Clean and inspect the RH camshaft bearing caps.
    • The camshaft front thrust bearing cap contains an oil metering groove. Make sure the groove is free of foreign material.
  118. Fig 58: Identifying Camshaft Front Thrust Bearing Cap Oil Metering Groove
    G03919957Courtesy of FORD MOTOR CO.
  119. Remove the RH camshaft.
  120. CAUTION: If the components are to be reinstalled, they must be installed in the same positions. Mark the components for installation into the original locations. Failure to follow these instructions may result in engine damage.
  121. Remove the remaining camshaft roller followers from the RH cylinder head.
  122. CAUTION: If the components are to be reinstalled, they must be installed in the same positions. Mark the components for installation into the original locations. Failure to follow these instructions may result in engine damage.
  123. Remove the hydraulic lash adjusters from the RH cylinder head.
  124. CAUTION: Remove the front thrust camshaft bearing cap straight upward from the bearing towers or the bearing cap may be damaged from side loading.
  125. Remove the 2 bolts and the LH front camshaft bearing cap.
  126. Fig 59: Removing Camshaft Front Bearing Cap Bolts
    GF0005526Courtesy of FORD MOTOR CO.
    CAUTION: The camshaft bearing caps must be installed in their original locations. Record camshaft bearing cap locations. Failure to follow these instructions may result in engine damage.
  127. Remove the remaining bolts in the sequence shown and remove the remaining LH camshaft bearing caps.
  128. Fig 60: Removing Camshaft Bearing Caps Bolts In Sequence
    GF0005527Courtesy of FORD MOTOR CO.
  129. Clean and inspect the LH camshaft bearing caps.
    • The camshaft front thrust bearing cap contains an oil metering groove. Make sure the groove is free of foreign material.
  130. Fig 61: Identifying Camshaft Front Thrust Bearing Cap Oil Metering Groove
    G03919957Courtesy of FORD MOTOR CO.
  131. Remove the LH camshaft.
  132. CAUTION: If the components are to be reinstalled, they must be installed in the same positions. Mark the components for installation into the original locations. Failure to follow these instructions may result in engine damage.
  133. Remove the remaining camshaft roller followers from the LH cylinder head.
  134. CAUTION: If the components are to be reinstalled, they must be installed in the same positions. Mark the components for installation into the original locations. Failure to follow these instructions may result in engine damage.
  135. Remove the hydraulic lash adjusters from the LH cylinder head.
  136. CAUTION: The cylinder head must be cool before removing it from the engine. Cylinder head warpage can result if a warm or hot cylinder head is removed.
    CAUTION: Place clean shop towels over exposed engine cavities. Carefully remove the towels so foreign material is not dropped into the engine. Failure to follow these instructions may result in engine damage.
    CAUTION: The cylinder head bolts must be discarded and new bolts must be installed. They are a tighten-to-yield design and cannot be reused. Failure to follow these instructions may result in engine damage.
    CAUTION: Do not use metal scrapers, wire brushes, power abrasive discs or other abrasive means to clean the sealing surfaces. These tools cause scratches and gouges that make leak paths. Use a plastic scraping tool to remove all traces of the head gasket.
    CAUTION: Aluminum surfaces are soft and can be scratched easily. Never place the cylinder head gasket surface, unprotected, on a bench surface.
    NOTE: RH shown, LH similar.
  137. Remove the bolts and the cylinder head.
    • Discard the cylinder head gasket.
    • Discard the cylinder head bolts.
  138. Fig 62: Cylinder Head Bolts
    GF0022046Courtesy of FORD MOTOR CO.
    CAUTION: Do not use metal scrapers, wire brushes, power abrasive discs or other abrasive means to clean the sealing surfaces. These tools cause scratches and gouges that make leak paths. Use a plastic scraping tool to remove all traces of the head gasket.
    NOTE: If there is no residual gasket material present, metal surface prep can be used to clean and prepare the surfaces.
  139. Clean the cylinder head-to-cylinder block mating surfaces of both the cylinder head and the cylinder block in the following sequence.
    1. Remove any large deposits of silicone or gasket material with a plastic scraper.
    2. Apply silicone gasket remover, following package directions, and allow to set for several minutes.
    3. Remove the silicone gasket remover with a plastic scraper. A second application of silicone gasket remover may be required if residual traces of silicone or gasket material remain.
    4. Apply metal surface prep, following package directions, to remove any remaining traces of oil or coolant, and to prepare the surfaces to bond with the new gasket. Do not attempt to make the metal shiny. Some staining of the metal surfaces is normal.
  140. NOTE: Make sure all cylinder head surfaces are clear of any gasket material, RTV, oil and coolant. The cylinder head surface must be clean and dry before running a flatness check.
    NOTE: Use a straightedge that is calibrated by the manufacturer to be flat within 0.005 mm (0.0002 in) per running foot length. For example, if the straightedge is 61 cm (24 in) long, the machined edge must be flat within 0.010 mm (0.0004 in) from end to end.
    NOTE: LH shown, RH similar.
  141. Support the cylinder head on a bench with the head gasket side up. Inspect all areas of the deck face with a straightedge, paying particular attention to the oil pressure feed area. The cylinder head must not have depressions deeper than 0.0254 mm (0.001 in) across a 38.1 mm (1.5 in) square area, or scratches longer than 0.0254 mm (0.001 in).
  142. Fig 63: Identifying Cylinder Head/Cylinder Block Oil Pressure Feed Areas
    G03885653Courtesy of FORD MOTOR CO.
  143. Remove the bolts, the oil pump screen and pickup tube and the spacer.
  144. Fig 64: Locating Oil Pump Screen Bolts, Pickup Tube & Spacer
    GF0002695Courtesy of FORD MOTOR CO.
  145. Remove the 3 bolts and the oil pump.
  146. Fig 65: Locating Oil Pump Bolts
    G04638972Courtesy of FORD MOTOR CO.
  147. Before removing the pistons, inspect the top of the cylinder bores. If necessary, remove the ridge or carbon deposits from each cylinder using an abrasive pad or equivalent, following the manufacturer instructions.
  148. CAUTION: Verify that the connecting rods and rod caps have orientation numbers cast into them. If not, number the connecting rods and rod caps for correct orientation. Failure to follow these instructions may result in engine damage.
  149. Remove the bolts and the connecting rod caps. Discard the bolts.
  150. Fig 66: Locating Connecting Rod Caps
    GF0000355Courtesy of FORD MOTOR CO.
    CAUTION: Do not scratch the cylinder walls or crankshaft journals with the connecting rod or engine damage may occur.
  151. Use the special tool to push the piston through the top of the cylinder block.
  152. Fig 67: Pushing Piston Through Top Of Cylinder Block
    G03920342Courtesy of FORD MOTOR CO.
  153. Disassemble the 8 pistons. For additional information, refer to Piston .
  154. Remove the fasteners.
    1. Remove and discard the cross-mounted main cap bolts.
    2. Remove the dowels.
    3. Remove and discard the main bearing cap bolts.
  155. Fig 68: Identifying Main Bearing Cap Bolts
    GF0002796Courtesy of FORD MOTOR CO.
  156. Remove the 5 main bearing caps, the lower crankshaft main bearings and the lower thrust washer.
  157. Fig 69: Locating Main Bearing Caps, Lower Crankshaft Main Bearings And Lower Thrust Washer
    GF0000356Courtesy of FORD MOTOR CO.
  158. Remove the crankshaft, the upper crankshaft main bearings and the upper thrust washers from the cylinder block.
  159. Fig 70: Removing Crankshaft, Upper Crankshaft Main Bearings And Upper Thrust Washers From Cylinder Block
    GF0000357Courtesy of FORD MOTOR CO.