LEMON Manuals: Even more car manuals for everyone: 1960-2025
Home >> Lincoln >> 2019 >> MKC Base, AWD >> Repair and Diagnosis (Single Page) >> Brakes >> Traction Control >> Abs Guided Routine >> Pinpoint Tests >> Pinpoint Tests BH: ABS Module Communication Concern With The RCM >> Possible Causes
April 5, 2026: LEMON Manuals is launched! Read the announcement.

Possible Causes

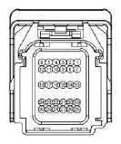
Fig 1: Antilock Braking System (ABS) Module Connector - C135
G13340462Courtesy of FORD MOTOR CO.

Harness Side

Circuit Pin
Fig 2: Restraint Control Module-A (RCM-A) Connector - C310A
G13340463Courtesy of FORD MOTOR CO.

Harness Side

Circuit Pin
Fig 3: Restraint Control Module-B (RCM-B) Connector - C310B
G13340464Courtesy of FORD MOTOR CO.

Harness Side

Circuit Pin
  1. BH1: CHECK THE COMMUNICATION NETWORK 
    • Ignition ON, engine OFF.
    • Press the Read Vehicle Information button to view the results of the modules communicating on the network.
    • Retrieve the continuous memory DTCs.
    • Does the RCM pass the network test? 
    Yes No
    Go to  BH2. DIAGNOSE the no communication with the RCM. REFER to the Module Communications Network article.
  2. BH2: RECHECK FOR THE ABS MODULE DTCS 
    • Clear the ABS DTCs.
    • Ignition OFF.
    • Ignition ON, engine OFF.

    Carry out the ABS self-test.

    • Record all ABS module DTCs.
    • Is any DTC from the DTC Fault Trigger Conditions table retrieved again? 
    Yes No
    Go to  BH3. The system is operating correctly at this time. The DTC may have been set due to high network traffic or an intermittent fault condition.
  3. BH3: CHECK FOR VOLTAGE DTCS IN THE ABS MODULE 
    • Review the recorded DTCs from the ABS module self-test.
    • Is DTC U3003:16 or U3003:17 present? 
    Yes No
    For DTC U3003:17, GO to PINPOINT TEST F . For DTC U3003:16, GO to PINPOINT TEST A . Go to  BH4.
  4. BH4: CHECK FOR DTCS IN THE RCM 

    Carry out the RCM self-test.

    • Record all DTCs from the RCM self-test.
    • Are any DTCs present? 
    Yes No
    DIAGNOSE the RCM DTCs. REFER to the Diagnosis and Testing in the Supplemental Restraint System article. Go to  BH5.
  5. BH5: CHECK FOR OTHER CAUSES OF COMMUNICATION NETWORK CONCERN 
    NOTE: If new modules were installed prior to the DTC being set, the module configuration can be incorrectly set during the PMI or the PMI may not have been carried out.
    • Check the vehicle service history for recent service actions related to the RCM or the ABS module. If recent service history is found:
      • Verify the correct replacement module was installed. HVBOM may be used to verify correct part fitment.
      • Verify the configuration of replacement module was correct. Re-configure the module using as-built data if prior configuration is suspect.
      • Verify the module was not obtained from a like vehicle and installed into customer vehicle. Return the swapped module to source vehicle and obtain new replacement module.
    • Operate the system and determine if the observable symptom is still present.
    • Is the observable symptom still present? 
    Yes No
    Go to  BH6. The system is operating correctly at this time. The concern may have been due to incorrect parts replacement procedures or incorrect module configuration.
  6. BH6: CHECK FOR LOST COMMUNICATION DTCS SET IN OTHER MODULES 
    • Retrieve the continuous memory DTCs.
    • Is DTC U0151xx or U0452:xx set in 1 or more modules in addition to the ABS module? 
    Yes No
    Go to  BH10. Go to  BH11.
  7. BH7: CHECK THE PRIVATE HS-CAN FOR A SHORT TO GROUND 
    WARNING: Turn the ignition OFF and wait one minute to deplete the backup power supply. Failure to follow this instruction may result in serious personal injury or death in the event of an accidental deployment.
    • Ignition OFF.
    • Wait one minute.
    • ABS Module connector disconnected. (C135)
    • RCM_A connector disconnected. (C310A)
    • RCM_B connector disconnected. (C310B)
    • Measure the resistance between:
      (+)
      RCM_B (C310B) Connector, Harness Side
      (-)
      CAN Ground
      CAN+ Ground
    • Is the resistance greater than 10, 000 ohms? 
    Yes No
    Go to  BH8. REPAIR the circuit.
  8. BH8: CHECK THE PRIVATE HS-CAN FOR AN OPEN 
    • Measure the resistance between:
      (+)
      RCM B (C310B) Connector, Harness Side
      (-)
      ABS Module (C135) Connector, Harness Side
      CAN CAN
      CAN+ CAN+
    • Is the resistance less than 3 ohms? 
    Yes No
    Go to  BH9. REPAIR the circuit.
  9. BH9: CHECK THE PRIVATE HS-CAN FOR A SHORT TOGETHER 
    • Measure the resistance between:
      (+)
      RCM B (C310B) Connector, Harness Side
      (-)
      RCM B (C310B) Connector, Harness Side
      CAN CAN+
    • Is the resistance greater than 10, 000 ohms? 
    Yes No
    Go to  BH11. REPAIR the circuit.
  10. BH10: CHECK FOR CORRECT RCM OPERATION 
    WARNING: Turn the ignition OFF and wait one minute to deplete the backup power supply. Failure to follow this instruction may result in serious personal injury or death in the event of an accidental deployment.
    NOTE: The battery must be removed to access the ABS module electrical connector.
    • Ignition OFF.
    • Wait one minute.
    • Remove the battery. Refer to the appropriate procedure in the Battery, Mounting and Cables article.
    • ABS Module connector disconnected. (C135)
    • RCM_A connector disconnected. (C310A)
    • RCM B connector disconnected. (C310B)
    • Using a good light source, inspect all disconnected electrical connectors for the following:
      • corrosion - install new connector or terminal and clean the module pins
      • damaged or bent pins - install new terminals or pins
      • pushed-out pins - install new pins as necessary
      • spread terminals - install new terminals as necessary
    • ABS Module connector connected. (C135) Make sure the connector seats and latches correctly.
    • RCM_B connector connected. (C310B) Make sure the connector seats and latches correctly.
    • RCM_A connector connected. (C310A) Make sure the connector seats and latches correctly.
    • Install the battery. Refer to the appropriate procedure in the Battery, Mounting and Cables article.
    • Operate the system and determine if the concern is still present.
    • Is the concern still present? 
    Yes No
    INSTALL a new RCM.
    CHECK OASIS for any service articles: TSB, GSB, SSM or FSA.
    If a service article exists for this concern, DISCONTINUE this test and FOLLOW the service article instructions.
    If no services articles address this concern, INSTALL a new RCM. REFER to the Supplemental Restraint System article.
    ORDER a replacement RCM and INCLUDE the RVC on the form.
    If this is a Ford paid repair, INCLUDE the RVC on the warranty claim form.
    The system is operating correctly at this time. The concern may have been caused by module connections. ADDRESS the root cause of any connector or pin issues.
  11. BH11: CHECK FOR CORRECT ABS MODULE OPERATION 
    WARNING: Turn the ignition OFF and wait one minute to deplete the backup power supply. Failure to follow this instruction may result in serious personal injury or death in the event of an accidental deployment.
    NOTE: The battery must be removed to access the ABS module electrical connector.
    • Ignition OFF.
    • Wait one minute.
    • Remove the battery. Refer to the appropriate procedure in the Battery, Mounting and Cables article.
    • ABS Module connector disconnected. (C135)
    • RCM_A connector disconnected. (C310A)
    • RCM_B connector disconnected. (C310B)
    • Using a good light source, inspect all disconnected electrical connectors for the following:
      • corrosion - install new connector or terminal and clean the module pins
      • damaged or bent pins - install new terminals or pins
      • pushed-out pins - install new pins as necessary
      • spread terminals - install new terminals as necessary
    • ABS Module connector connected. (C135) Make sure the connector seats and latches correctly.
    • RCM_B connector connected. (C310B) Make sure the connector seats and latches correctly.
    • RCM_A connector connected. (C310A) Make sure the connector seats and latches correctly.
    • Install the battery. Refer to the appropriate procedure in the Battery, Mounting and Cables article.
    • Operate the system and determine if the concern is still present.
    • Is the concern still present? 
    Yes No
    INSTALL a new ABS module.
    CHECK OASIS for any service articles: TSB, GSB, SSM or FSA.
    If a service article exists for this concern, DISCONTINUE this test and FOLLOW the service article instructions.
    If no services articles address this concern, INSTALL a new ABS module. REFER to the Anti-Lock Brake System (ABS) and Stability Control article.
    ORDER a replacement ABS module and INCLUDE the RVC form.
    If this is a Ford repair, INCLUDE the RVC on the warranty claim form.
    The system is operating correctly at this time. The concern may have been caused by module connections. ADDRESS the root cause of any connector or pin issues.
  12. BH12: CHECK FOR CORRECT ABS OPERATION 
    • Using a good light source, inspect all disconnected electrical connectors for the following:
      • corrosion - install new connector or terminal and clean the module pins
      • damaged or bent pins - install new terminals or pins
      • pushed-out pins - install new pins as necessary
      • spread terminals - install new terminals as necessary
    • Install the battery. Refer to the appropriate procedure in the Battery, Mounting and Cables article.
    • ABS Module connector connected. (C135) Make sure the connector seats and latches correctly.
    • RCM_B connector connected. (C310B) Make sure the connector seats and latches correctly.
    • RCM_A connector connected. (C310A) Make sure the connector seats and latches correctly.
    • Operate the system and determine if the concern is still present.
    • Is the concern still present? 
    Yes No
    INSTALL a new ABS module.
    CHECK OASIS for any service articles: TSB, GSB, SSM or FSA.
    If a service article exists for this concern, DISCONTINUE this test and FOLLOW the service article instructions.
    If no service articles address this concern, INSTALL a new ABS module and HCU assembly. REFER to the Anti-Lock Brake System (ABS) and Stability Control article.
    ORDER a replacement ABS module and HCU assembly. INCLUDE the RVC form.
    If this is a Ford repair, INCLUDE the RVC on the warranty claim form.
    The system is operating correctly at this time. The concern may have been caused by module connections. ADDRESS the root cause of any connector or pin issues.