LEMON Manuals: Even more car manuals for everyone: 1960-2025
Home >> Lincoln >> 2019 >> MKC Select, AWD >> Repair and Diagnosis >> Brakes >> Traction Control >> Abs Guided Routine >> Pinpoint Tests >> Pinpoint Tests AN: Stability Control Sensor Initialization Fault >> Possible Causes
April 5, 2026: LEMON Manuals is launched! Read the announcement.

Possible Causes

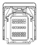
Fig 1: Antilock Braking System (ABS) Module Connector - C135
G13340446Courtesy of FORD MOTOR CO.

Harness Side

Circuit Pin
Fig 2: Restraint Control Module-A (RCM-A) Connector - C310A
G13340447Courtesy of FORD MOTOR CO.

Harness Side

Circuit Pin
Fig 3: Restraint Control Module-B (RCM-B) Connector - C310B
G13340448Courtesy of FORD MOTOR CO.

Harness Side

Circuit Pin
  1. AN1: CARRY OUT THE IVD INITIALIZATION 
    NOTE: If present, diagnose DTC C0040:64 before any of the DTCs listed in the Fault Trigger Conditions table.
    NOTE: The vehicle must be on level ground and at a complete standstill during IVD Initialization. Any vehicle movement results in a failed calibration.
    • Using a diagnostic scan tool, carry out the IVD Initialization routine, Follow the diagnostic scan tool instructions.
    • Does the sensor calibration routine pass successfully? 
    Yes No
    Go to  AN14. Go to  AN2.
  2. AN2: VERIFY BATTERY STATE OF CHARGE 
    • Using a multi-meter or similar tool, verify the battery voltage is greater than 10 volts.
    • Is the battery voltage greater than 10 volts? 
    Yes No
    Go to  AN6. DIAGNOSE the battery low voltage condition. REFER to the Charging System General Information article.
  3. AN3: CHECK THE PRIVATE HS-CAN FOR A SHORT TO GROUND 
    WARNING: Turn the ignition OFF and wait one minute to deplete the backup power supply. Failure to follow this instruction may result in serious personal injury or death in the event of an accidental deployment.
    • Ignition OFF.
    • Wait one minute.
    • ABS Module connector disconnected. (C135)
    • RCM_A connector disconnected. (C310A)
    • RCM_B connector disconnected. (C310B)
    • Measure the resistance between:
      (+)
      RCM_B (C310B) Connector, Harness Side
      (-)
      CAN Ground
      CAN+ Ground
    • Is the resistance greater than 10, 000 ohms? 
    Yes No
    Go to  AN4. REPAIR the circuit.
  4. AN4: CHECK THE PRIVATE HS-CAN FOR AN OPEN 
    • Measure the resistance between:
      (+)
      RCM_B (C310B) Connector, Harness Side
      (-)
      ABS Module (C135) Connector, Harness Side
      CAN CAN
      CAN+ CAN+
    • Is the resistance less than 3 ohms? 
    Yes No
    Go to  AN5. REPAIR the circuit.
  5. AN5: CHECK THE PRIVATE HS-CAN FOR A SHORT TOGETHER 
    • Measure the resistance between:
      (+)
      RCM B (C310B) Connector, Harness Side
      (-)
      RCM B (C310B) Connector, Harness Side
      CAN CAN+
    • Is the resistance greater than 10, 000 ohms? 
    Yes No
    Go to  AN6. REPAIR the circuit.
  6. AN6: CHECK THE RCM MOUNTING SURFACE AND ELECTRICAL GROUNDING 
    WARNING: Turn the ignition OFF and wait one minute to deplete the backup power supply. Failure to follow this instruction may result in serious personal injury or death in the event of an accidental deployment.
    NOTE: The RCM is electrically grounded through the module case. The case and body sheet metal must be clean for a good electrical connection.
    • Ignition OFF.
    • Wait one minute.
    • RCM_A connector disconnected. (C310A)
    • RCM_B connector disconnected. (C310B)
    • Remove the RCM. Refer to the Supplemental Restraint System article.
    • Inspect the RCM mounting surface for damage, corrosion, dirt and other irregularities.
    • Install the RCM. Refer to the Supplemental Restraint System article.
      • Make sure the RCM is installed in the correct direction (arrow to front of vehicle) and make sure all fasteners are tighten to specifications.
    • ABS Module connector connected. (C135) Make sure the connector seats and latches correctly.
    • Install the battery. Refer to the Battery, Mounting and Cables article.
    • Is the RCM installed correctly and the mounting surface clean and free from damage? 
    Yes No
    Go to  AN7. CLEAR or REPAIR the RCM mounting surface as necessary. CORRECTLY INSTALL the RCM and TIGHTEN the fasteners to the correct toque specification.
    Go to  AN7.
  7. AN7: VERIFY MODULE NETWORK COMMUNICATION 
    • RCM_A connector connected. (C310A) Make sure the connector seats and latches correctly.
    • RCM_B connector connected. (C310B) Make sure the connector seats and latches correctly.
    • Ignition ON, engine OFF.
    • Press the Read Vehicle Information button to view the results of the modules communicating on the network.
    • Retrieve the continuous memory DTCs.
    • Do the RCM, PCM, BCM, and ABS module all pass the Network Test? 
    Yes No
    Go to  AN8. REFER to Module Communications Network article to diagnose the module not communicating on the network.
  8. AN8: CHECK FOR RCM DTCS 

    Carry out the RCM self-test.

    • Are there any DTCs present in the RCM? 
    Yes No
    DIAGNOSE the RCM DTCs. REFER to the Supplemental Restraint System article. Go to  AN9.
  9. AN9: CHECK THE ABS MODULE LONGITUDINAL ACCELERATION (LONG_ACCEL) PID 
    NOTE: The LONG_ACCEL PID must be between -0.17g and 0.17g for the ABS module to store a reading and clear DTC C0062:54. A reading greater than 0.17g or less than -0.17g indicates the vehicle is not level or may be overloaded.
    • Position the vehicle on a flat, level surface. Make sure the vehicle has no payload or passengers.
    • Access the ABS and monitor the LONG_ACCL (ACC) PID.
    • Access the ABS and monitor the LNGACC (ACC) PID.
    • Is the PID reading between -0.17g and 0.17g? 
    Yes No
    Go to  AN10. Go to  AN11.
  10. AN10: CARRY OUT THE STABILITY CONTROL SENSOR CALIBRATION ROUTINE 
    NOTE: The vehicle must be on level ground and at a complete standstill during IVD Initialization. Any vehicle movement results in a failed calibration.
    • Using a diagnostic scan tool, carry out the IVD Initialization routine, Follow the diagnostic scan tool instructions.
    • Does the sensor calibration routine pass successfully? 
    Yes No
    Go to  AN13. Go to  AN11.
  11. AN11: VERIFY ALL WIRING CONNECTIONS 
    WARNING: Turn the ignition OFF and wait one minute to deplete the backup power supply. Failure to follow this instruction may result in serious personal injury or death in the event of an accidental deployment.
    NOTE: The battery must be removed to access the ABS module electrical connector.
    • Ignition OFF.
    • Wait one minute.
    • Remove the battery. Refer to the Battery, Mounting and Cables article.
    • ABS Module connector disconnected. (C135)
    • RCM_A connector disconnected. (C310A)
    • RCM_B connector disconnected. (C310B)
    • Using a good light source, inspect all disconnected electrical connectors for the following:
      • corrosion - install new connector or terminal and clean the module pins
      • damaged or bent pins - install new terminals or pins
      • pushed-out pins - install new pins as necessary
      • spread terminals - install new terminals as necessary
    • Are the connectors free of corrosion, damaged pins, bent pins, pushed-out pins and spread terminals? 
    Yes No
    Go to  AN12. REPAIR the connector or terminals. Refer to the Connector Repair Procedures for schematic and connector information.
  12. AN12: CHECK FOR CORRECT RCM OPERATION 
    • RCM_A connector connected. (C31 OA) Make sure the connector seats and latches correctly.
    • RCM_B connector connected. (C310B) Make sure the connector seats and latches correctly.
    • ABS Module connector connected. (C135) Make sure the connector seats and latches correctly.
    • Install the battery. Refer to the Battery, Mounting and Cables article.
    • Operate the system and determine if the concern is still present.
    • Is the concern still present? 
    Yes No
    INSTALL a new RCM.
    CHECK OASIS for any applicable service articles: TSB, GSB, SSMs or FSA.
    If a service article exists for this concern, DISCONTINUE this test and FOLLOW the service article instructions.
    If no service articles address this concern, INSTALL a new RCM. REFER to the Supplemental Restraint System article.
    ORDER a replacement RCM and INCLUDE the RVC on the form.
    If this is a Ford paid repair, INCLUDE the RVC on the warranty claim form.
    The system is operating correctly at this time. The concern may have been caused by a loose or corroded connector. ADDRESS the root cause of any connector or pin issues.
  13. AN13: RECHECK FOR THE ABS MODULE DTC 
    • Ignition ON, engine OFF.
    • Clear the ABS DTCs.
    • Ignition OFF.
    • Ignition ON, engine OFF.

    Carry out the ABS self-test.

    • Are any of the DTCs listed in the Fault Trigger Conditions table still present? 
    Yes No
    Go to  AN18. The system is operating correctly. The concern may have been caused by; an incomplete stability control sensor calibration routine, a dirty RCM ground connection or an incorrectly installed RCM.
  14. AN14: RECHECK FOR THE ABS MODULE DTC 
    • Ignition ON, engine OFF.
    • Clear the ABS DTCs.
    • Ignition OFF.
    • Ignition ON, engine OFF.

    Carry out the ABS self-test.

    • Are any of the DTCs listed in the Fault Trigger Conditions table still present? 
    Yes No
    Go to  AN18. The system is operating correctly. The concern may have been caused by; an incomplete stability control sensor calibration routine, a dirty RCM ground connection or an incorrectly installed RCM.
  15. AN15: CHECK THE PRIVATE HS-CAN FOR A SHORT TO GROUND 
    WARNING: Turn the ignition OFF and wait one minute to deplete the backup power supply. Failure to follow this instruction may result in serious personal injury or death in the event of an accidental deployment.
    • Ignition OFF.
    • Wait one minute.
    • ABS Module connector disconnected. (C135)
    • RCM_A connector disconnected. (C310A)
    • RCM_B connector disconnected. (C310B)
    • Measure the resistance between:
      (+)
      RCM_B (C310B) Connector, Harness Side
      (-)
      CAN Ground
      CAN+ Ground
    • Is the resistance greater than 10, 000 ohms? 
    Yes No
    Go to  AN16. REPAIR the circuit.
  16. AN16: CHECK THE PRIVATE HS-CAN FOR AN OPEN 
    • Measure the resistance between:
      (+)
      RCM B (C310B) Connector, Harness Side
      (-)
      ABS Module (C135) Connector, Harness Side
      CAN CAN
      CAN+ CAN+
    • Is the resistance less than 3 ohms? 
    Yes No
    Go to  AN17. REPAIR the circuit.
  17. AN17: CHECK THE PRIVATE HS-CAN FOR A SHORT TOGETHER 
    • Measure the resistance between:
      (+)
      RCM_B (C310B) Connector, Harness Side
      (-)
      RCM_B (C310B) Connector, Harness Side
      CAN CAN+
    • Is the resistance greater than 10, 000 ohms? 
    Yes No
    Go to  AN18. REPAIR the circuit.
  18. AN18: VERIFY ALL WIRING CONNECTIONS 
    WARNING: Turn the ignition OFF and wait one minute to deplete the backup power supply. Failure to follow this instruction may result in serious personal injury or death in the event of an accidental deployment.
    NOTE: The battery must be removed to access the ABS module electrical connector.
    • Ignition OFF.
    • Wait one minute.
    • Remove the battery. Refer to the Battery, Mounting and Cables article.
    • ABS Module connector disconnected. (C135)
    • RCM_A connector disconnected. (C310A)
    • RCM_B connector disconnected. (C310B)
    • Using a good light source, inspect all disconnected electrical connectors for the following:
      • corrosion - install new connector or terminal and clean the module pins
      • damaged or bent pins - install new terminals or pins
      • pushed-out pins - install new pins as necessary
      • spread terminals - install new terminals as necessary
    • Are the connectors free of corrosion, damaged pins, bent pins, pushed-out pins and spread terminals? 
    Yes No
    Go to  AN19. REPAIR the connector or terminals. Refer to the Connector Repair Procedures for schematic and connector information.
  19. AN19: CHECK FOR CORRECT ABS MODULE OPERATION 
    • RCM_A connector connected. (C310A) Make sure the connector seats and latches correctly.
    • RCM_B connector connected. (C310B) Make sure the connector seats and latches correctly.
    • ABS Module connector connected. (C135) Make sure the connector seats and latches correctly.
    • Install the battery. Refer to the Battery, Mounting and Cables article.
    • Operate the system and determine if the concern is still present.
    • Is the concern still present? 
    Yes No
    INSTALL a new ABS module.
    CHECK OASIS for any applicable service articles: TSB, GSB, SSMs or FSA.
    If a service article exists for this concern, DISCONTINUE this test and FOLLOW the service article instructions.
    If no service articles address this concern, INSTALL a new ABS module. REFER to the Anti-Lock Brake System (ABS) and Stability Control article.
    ORDER a replacement ABS module and INCLUDE the RVC on the form.
    If this is a Ford paid repair, INCLUDE the RVC on the warranty claim form.
    The system is operating correctly at this time. The concern may have been caused by a loose or corroded connector. ADDRESS the root cause of any connector or pin issues.
  20. AN20: CHECK FOR CORRECT ABS OPERATION 
    • Ignition OFF.
    • ABS Module connector connected. (C135) Make sure the connector seats and latches correctly.
    • RCM_A connector connected. (C310A) Make sure the connector seats and latches correctly.
    • RCM_B connector connected. (C310B) Make sure the connector seats and latches correctly.
    • Install the battery. Refer to the Battery, Mounting and Cables article.
    • Operate the system and determine if the concern is still present.
    • Is the concern still present? 
    Yes No
    INSTALL a new ABS module.
    CHECK OASIS for any applicable service articles: TSB, GSB, SSMs or FSA.
    If a service article exists for this concern, DISCONTINUE this test and FOLLOW the service article instructions.
    If no service articles address this concern, INSTALL a new ABS module and HCU assembly. REFER to the Anti-Lock Brake System (ABS) and Stability Control article. ORDER a replacement ABS module and HCU assembly. INCLUDE the RVC on the form. If this is a Ford paid repair, INCLUDE the RVC on the warranty claim form.
    The system is operating correctly at this time. The concern may have been caused by a loose or corroded connector. ADDRESS the root cause of any connector or pin issues.