LEMON Manuals: Even more car manuals for everyone: 1960-2025
Home >> Mazda >> 1986 >> 626 Base >> Repair and Diagnosis >> Engine Performance >> System >> Idle-Up System >> Component Testing >> High Altitude Compensation
April 5, 2026: LEMON Manuals is launched! Read the announcement.

High Altitude Compensation

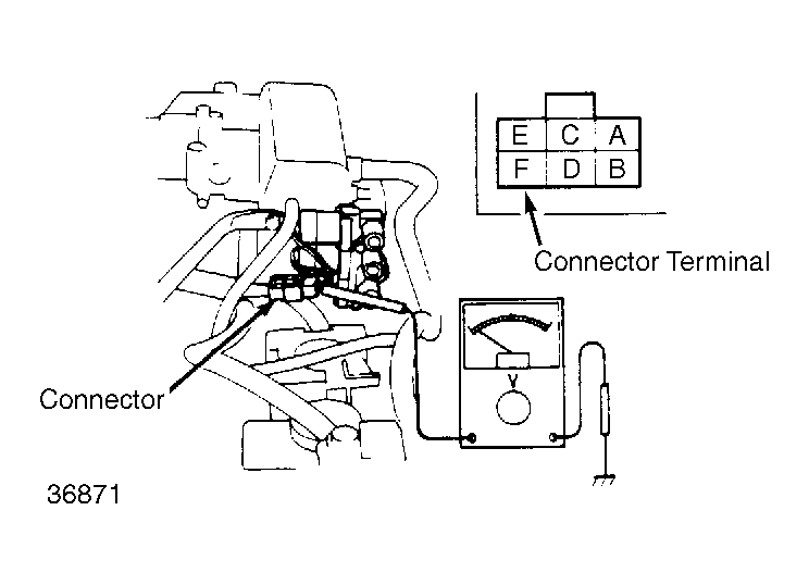
  1. Bring engine to normal operating temperature and run at idle. Connect vacuum pump to atmospheric pressure sensor. Use connector as previously shown and connect voltmeter to terminal D and ground. See Figure . Apply 6.10 in.Hg vacuum. Voltage should be zero.
  2. Release vacuum and ensure 12 volts are present. Connect voltmeter to terminal F and ground. Apply 3.35 in.Hg vacuum. Voltage should be zero. Release vacuum and ensure 12 volts are present. Check atmospheric pressure sensor and wiring harness if not within specifications. See ATMOSPHERIC PRESSURE SENSOR TEST in COMPUTERIZED ENGINE CONTROL SYSTEM article.