LEMON Manuals: Even more car manuals for everyone: 1960-2025
Home >> Mazda >> 1988 >> 929 Automatic >> Repair and Diagnosis >> Engine Performance >> System >> EGI Control System >> Component Testing >> System Components >> Main Relay
April 5, 2026: LEMON Manuals is launched! Read the announcement.

Main Relay

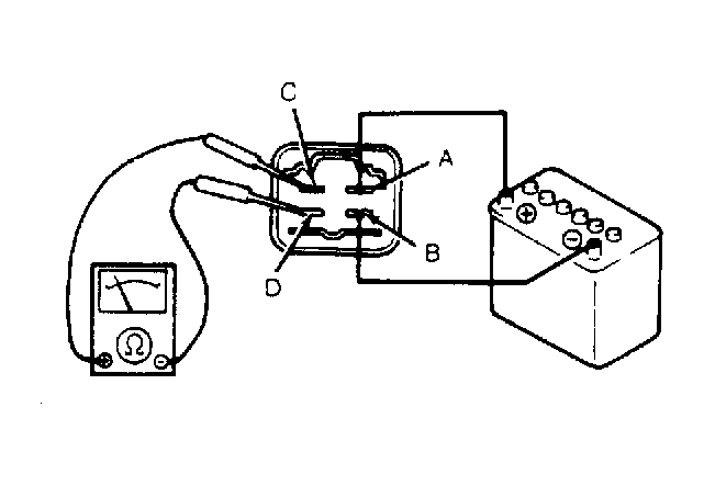
  1. Ensure a clicking sound is heard at main relay when turning ignition on and off. Disconnect main relay. Apply 12 volts to terminal A and ground terminal B. See Fig 1 .
  2. Ensure there is continuity between main relay terminals C and D, when voltage is applied. There should be no continuity when voltage is not applied.
Fig 1: Main Relay Connector Terminal Identification
G94841Courtesy of MAZDA MOTORS CORP.