LEMON Manuals: Even more car manuals for everyone: 1960-2025
Home >> Mazda >> 1991 >> 323 Base, Standard >> Repair and Diagnosis >> Electrical >> Charging Systems >> Alternator & Regulator >> Bench Testing >> Alternator & Regulator >> Rectifier/Diode Assembly
April 5, 2026: LEMON Manuals is launched! Read the announcement.

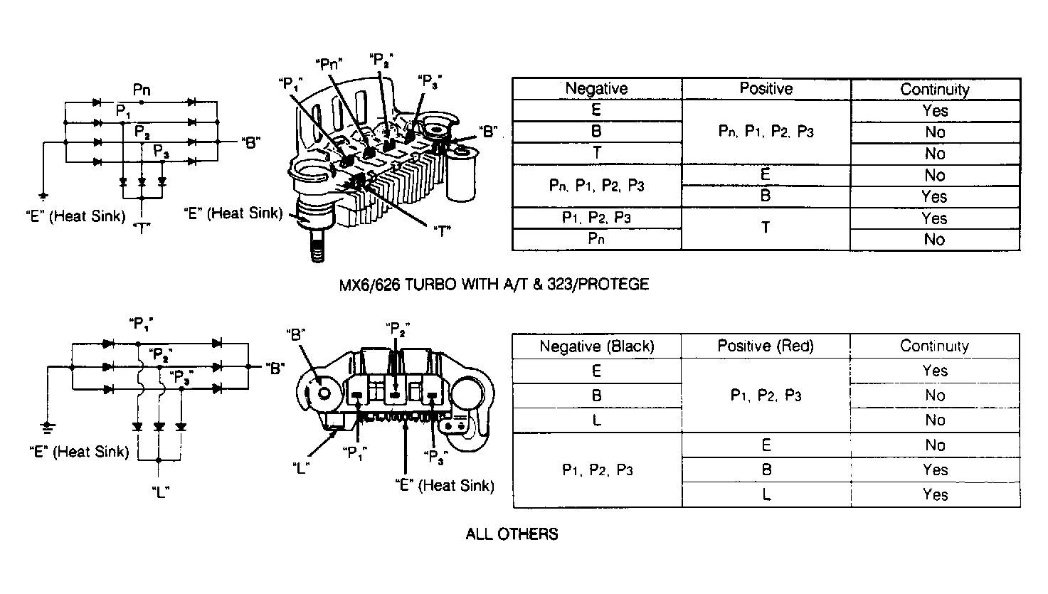
Rectifier/Diode Assembly

  1. Using an ohmmeter, check continuity of each diode in both directions (polarity). See Fig 1 and Fig 2. If diode shows high resistance in one direction and low resistance in other direction, diode is okay.
  2. If diode shows low resistance in both directions, it is shorted. If diode shows high resistance in both directions, diode is open. If any diode is defective, replace rectifier assembly.
Fig 1: Testing Alternator Rectifier & Diodes
G92A00109Courtesy of MAZDA MOTORS CORP.
Fig 2: Testing Alternator Rectifier & Diodes (1992)
G93F00708Courtesy of MAZDA MOTORS CORP.