LEMON Manuals: Even more car manuals for everyone: 1960-2025
Home >> Mazda >> 1993 >> MX-3 GS, Standard >> Repair and Diagnosis >> Engine Performance >> System >> Engine Controls - Tests W/Codes - 6-CYL >> Trouble Code Identification >> Code 16: (EGR Position Sensor)
April 5, 2026: LEMON Manuals is launched! Read the announcement.

Code 16: (EGR Position Sensor)

Fig 1: Trouble Code No. 16 - Diagnostic Flowchart
G92A25049Courtesy of MAZDA MOTORS CORP.
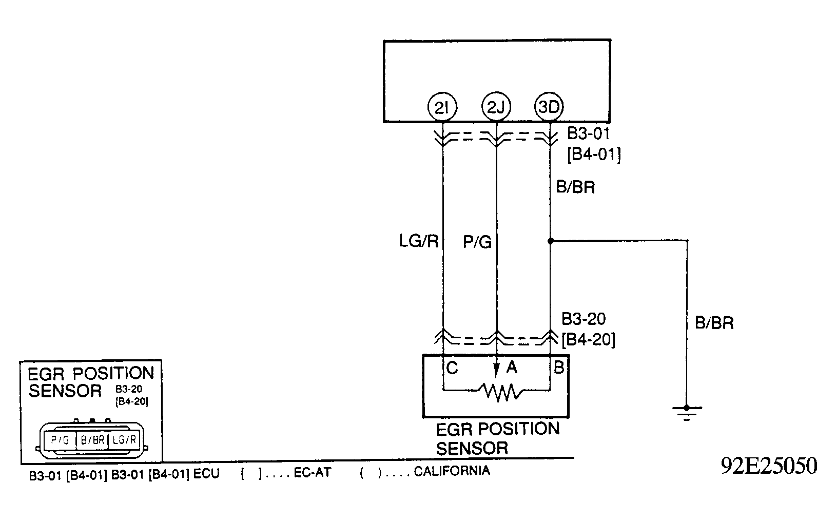
Fig 2: Trouble Code No. 16 - Schematic
G92E25050Courtesy of MAZDA MOTORS CORP.