LEMON Manuals: Even more car manuals for everyone: 1960-2025
Home >> Mazda >> 2000 >> MPV DX >> Repair and Diagnosis >> Engine Performance >> System >> Engine Controls - System & Component Testing >> Relays & Solenoids >> Main Relay
April 5, 2026: LEMON Manuals is launched! Read the announcement.

Main Relay

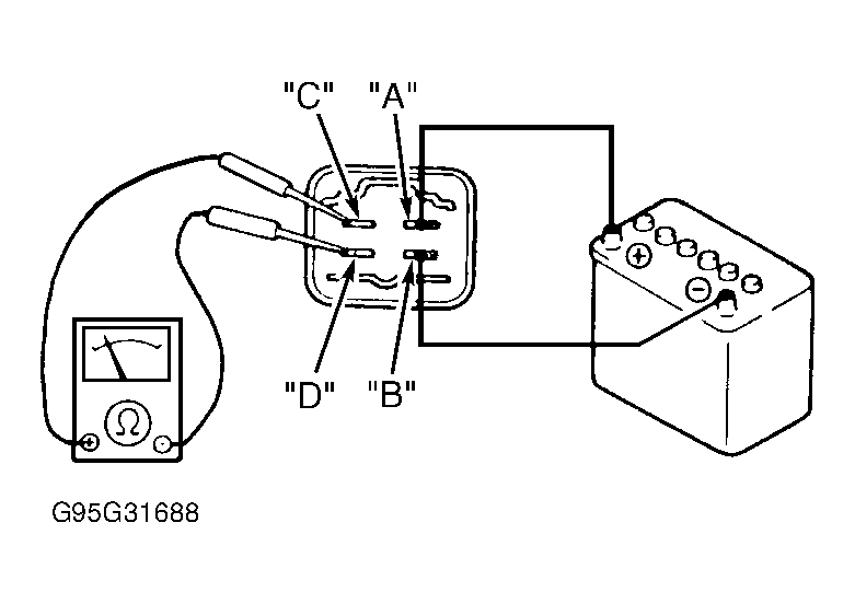
  1. Ensure main relay clicks when ignition is turned on and off. If no sound is heard, locate and remove main relay from main fuse block, in left side of engine compartment. Using ohmmeter, check continuity between terminals "C" and "D". See Figure . Continuity should not exist.
  2. Using jumper wires, apply battery voltage to relay terminal "A" and ground terminal "B". Check continuity between relay terminals "C" and "D". Continuity should exist with battery voltage applied. If continuity is not as specified, replace main relay.