LEMON Manuals: Even more car manuals for everyone: 1960-2025
Home >> Mazda >> 2000 >> MPV DX >> Repair and Diagnosis >> External Pages >> Different car >> Section 555 (Basic System (HVAC)) >> Cooling Unit Disassembly/Assembly >> Thermoswitch Assembly Note
April 5, 2026: LEMON Manuals is launched! Read the announcement.

Thermoswitch Assembly Note

WARNING: This page is about a different car, the 2005 Mazda MX-5 Miata. However, it is still accessible from the selected car via links, so may be relevant.
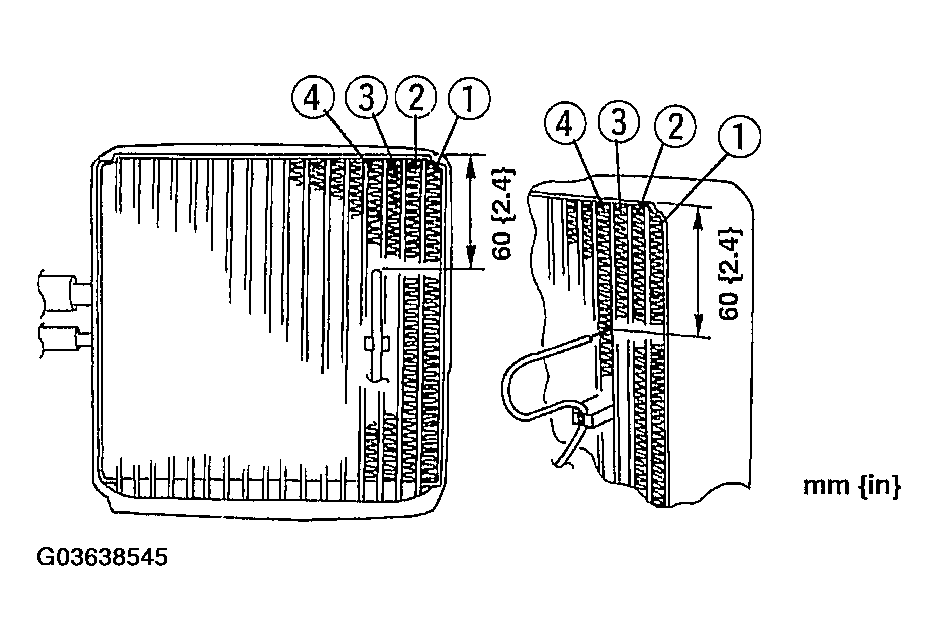
  1. Insert the thermoswitch probe in location as shown in Fig 1.
    Fig 1: Identifying Thermoswitch Assembly
    G03638545Courtesy of MAZDA MOTORS CORP.