LEMON Manuals: Even more car manuals for everyone: 1960-2025
Home >> Mazda >> 2000 >> MPV ES >> Repair and Diagnosis >> External Pages >> Different car >> Section 207 (HVAC System) >> Basic System >> Condenser Removal/Installation >> Notes
April 5, 2026: LEMON Manuals is launched! Read the announcement.

Condenser Removal/Installation: Notes

WARNING: This page is about a different car, the 2004 Mazda MPV. However, it is still accessible from the selected car via links, so may be relevant.
  1. Disconnect the negative battery cable.
  2. Discharge the refrigerant from the system. (See REFRIGERANT RECOVERY .) (See REFRIGERANT CHARGING .)
  3. Remove the radiator grille.
    CAUTION:
    • If moisture or foreign material enters the refrigeration cycle, cooling ability will be lowered and abnormal noise will occur. Always immediately plug all open fittings after removing any refrigeration cycle parts to keep moisture or foreign material out of the cycle.
    • Do not allow A/C Compressor oil to spill. Operating the A/C compressor without sufficient A/C compressor oil can lead to abnormal noise and cause the A/C compressor to seize up.
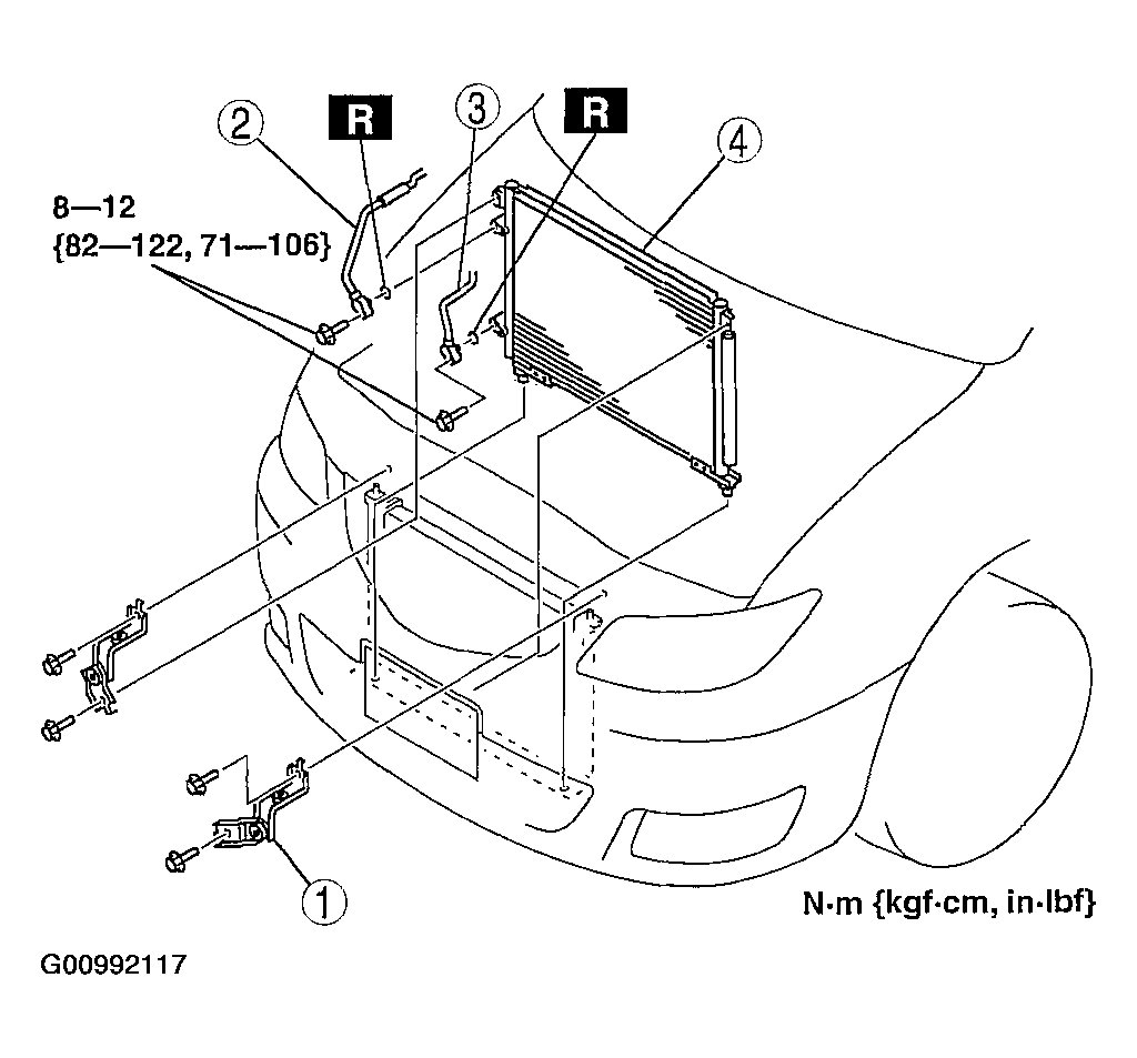
  4. Remove in the order indicated in the illustration.
    Fig 1: Removing Order Of Condenser Unit
    G00992116Courtesy of MAZDA MOTORS CORP.
    Fig 2: Removing/Installing Condenser Unit
    G00992117Courtesy of MAZDA MOTORS CORP.
  5. Install in the reverse order of removal.
  6. Perform the refrigerant system performance test. (See REFRIGERANT SYSTEM PERFORMANCE TEST .)