LEMON Manuals: Even more car manuals for everyone: 1960-2025
Home >> Mazda >> 2000 >> MPV ES >> Repair and Diagnosis >> External Pages >> Different car >> Section 403 (Basic System (HVAC)) >> A/C Unit Disassembly/Assembly >> Evaporator Temperature Sensor Assembly Note
April 5, 2026: LEMON Manuals is launched! Read the announcement.

Evaporator Temperature Sensor Assembly Note

WARNING: This page is about a different car, the 2005 Mazda 6. However, it is still accessible from the selected car via links, so may be relevant.
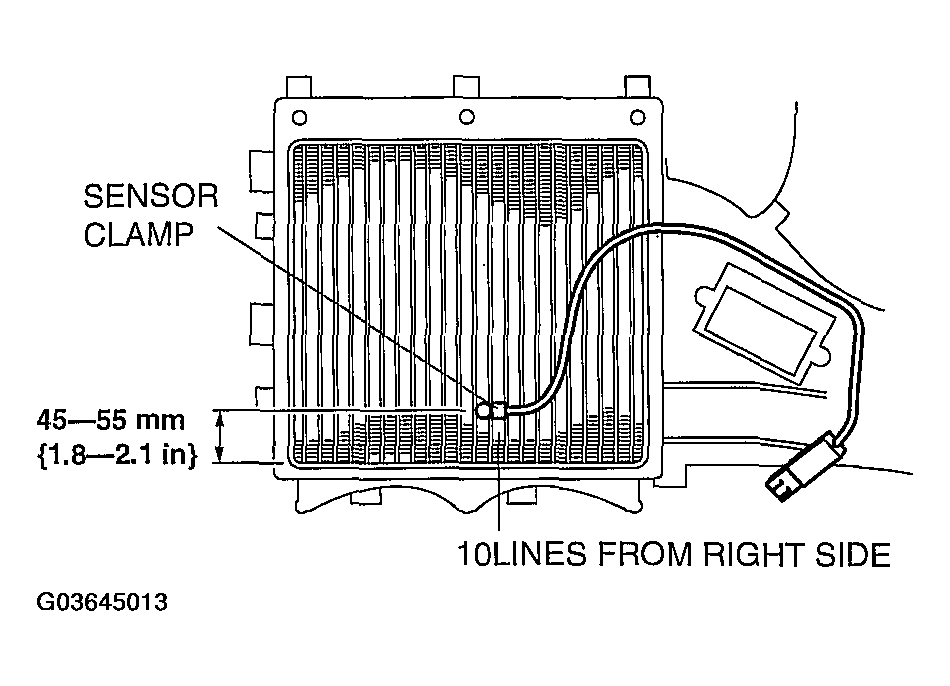
  1. Assemble the evaporator temperature sensor as shown in the figure.
    Fig 1: Installing Evaporator Temperature Sensor
    G03645013Courtesy of MAZDA MOTORS CORP.