LEMON Manuals: Even more car manuals for everyone: 1960-2025
Home >> Mazda >> 2000 >> MPV ES >> Repair and Diagnosis >> External Pages >> Different car >> Section 403 (Basic System (HVAC)) >> A/C Unit Removal/Installation >> Notes
April 5, 2026: LEMON Manuals is launched! Read the announcement.

A/C Unit Removal/Installation: Notes

WARNING: This page is about a different car, the 2005 Mazda 6. However, it is still accessible from the selected car via links, so may be relevant.
  1. Disconnect the negative battery cable.
  2. Discharge the refrigerant from the system. (See REFRIGERANT CHARGING .)
  3. Drain the engine coolant. (See ENGINE COOLANT REPLACEMENT .)
  4. Remove the dynamic chamber.
  5. Remove the dashboard. (See DASHBOARD REMOVAL/INSTALLATION .)
  6. Remove the theft-deterrent control module. (See THEFT-DETERRENT CONTROL MODULE REMOVAL/INSTALLATION .)
    CAUTION:
    • If moisture or foreign material enters the refrigeration cycle, cooling ability will be lowered and abnormal noise will occur. Always immediately plug open fittings after removing any refrigeration cycle parts to keep moisture or foreign material out of the cycle.
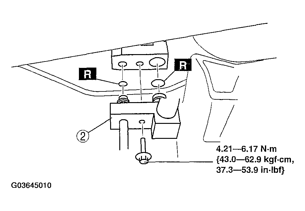
  7. Remove in the order indicated in the table. Do not allow compressor oil to spill.
    Fig 1: Removing Heater Hose
    G03645009Courtesy of MAZDA MOTORS CORP.
    Fig 2: Removing Evaporator Manifold (Torque Specs)
    G03645010Courtesy of MAZDA MOTORS CORP.
    Fig 3: Removing A/C Unit
    G03645011Courtesy of MAZDA MOTORS CORP.
  8. Install in the reverse order of removal.
  9. Perform the refrigerant system performance test. (See REFRIGERANT SYSTEM PERFORMANCE TEST .)