LEMON Manuals: Even more car manuals for everyone: 1960-2025
Home >> Mazda >> 2000 >> Protege DX L4-1.6L DOHC >> Repair and Diagnosis >> Relays and Modules >> Relays and Modules - Powertrain Management >> Relays and Modules - Computers and Control Systems >> Engine Control Module >> Diagrams
April 5, 2026: LEMON Manuals is launched! Read the announcement.

Engine Control Module: Diagrams






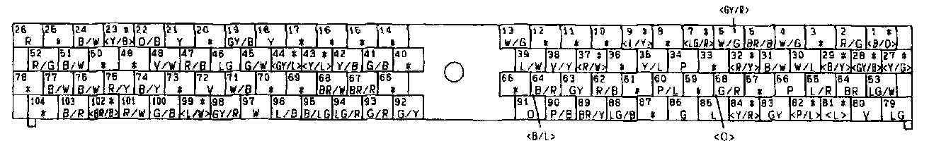
Terminal No: 1 - 6:






Terminal No: 7 - 21:






Terminal No: 22 - 30:






Terminal No: 31 - 38:






Terminal No: 39 - 47:






Terminal No: 48 - 58:






Terminal No: 59 - 66:






Terminal No: 69 - 81:






Terminal No: 82 - 89:






Terminal No: 90 - 95:






Terminal No: 96 - 104:






*1 : ATX only
*2 : California emission regulation applicable model
*3 : Measure at AC range
*4 : Except federal emission regulation applicable MTX models
*5 : The ECT when the engine is started should be lower than when the ignition switch was turned from on to off in the past by more than 50 °C {122 °F}.
*6 Except California emission regulation applicable model