LEMON Manuals: Even more car manuals for everyone: 1960-2025
Home >> Mazda >> 2001 >> Tribute ES, 4WD >> Repair and Diagnosis >> Transmission >> Automatic Trans >> Automatic Transaxle >> Main Control Valve Body >> Removal
April 5, 2026: LEMON Manuals is launched! Read the announcement.

Main Control Valve Body: Removal

  1. Disconnect the battery cables.
  2. Remove the battery and tray.
  3. Disconnect the breather tube and mass air flow (MAF) / intake air temperature (IAT) sensor.
    Fig 1: Disconnecting Breather Tube And Mass Air Flow (MAF)/ Intake Air Temperature (IAT) Sensor
    G01163148
  4. Remove the intake tube and air cleaner cover.
    Fig 2: Removing Intake Tube And Air Cleaner Cover
    G01163149
  5. Disconnect the transaxle wiring harness electrical connector, and TR sensor connector.
    Fig 3: Disconnecting Transaxle Wiring Harness Electrical Connector, And TR Sensor Connector
    G01163150
  6. Disconnect the shift cable.
    Fig 4: Disconnecting Shift Cable
    G01163151
  7. Remove the shift cable and bracket, and position out of the way.
    Fig 5: Removing Shift Cable And Bracket, And Position Out Of The Way
    G01163152
  8. Remove the vent tube hose.
    Fig 6: Removing Vent Tube Hose
    G01163153
  9. Raise and support the vehicle.
  10. Remove the LH front wheel.
  11. Remove the splash shield.
    Fig 7: Removing Splash Shield
    G01163154
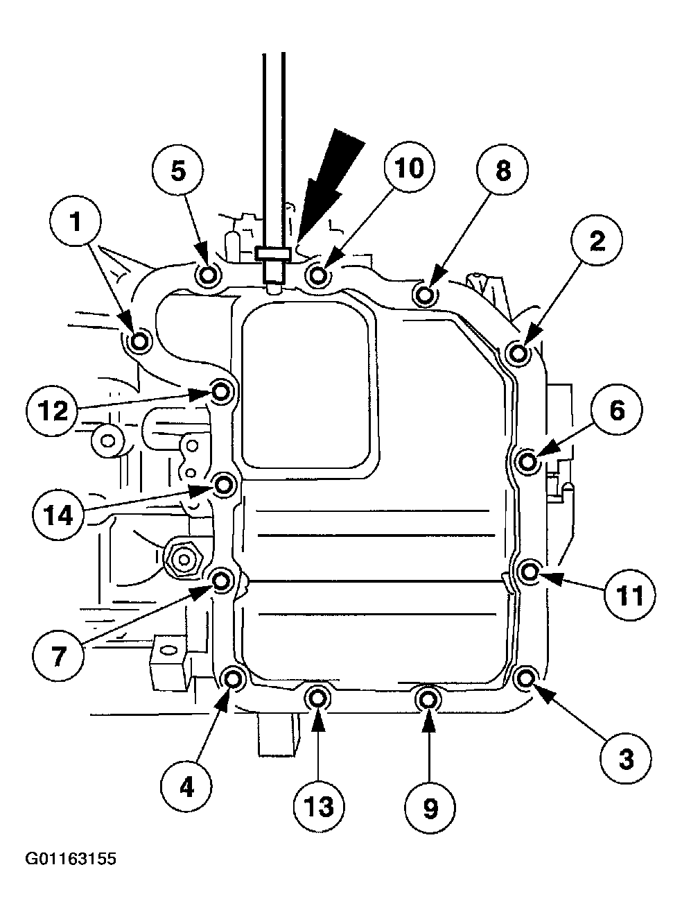
    NOTE: Remove the bolts in the indicated sequence.
  12. Remove the main control cover.
    Fig 8: Removing Bolts On The Main Control Cover
    G01163155
  13. Remove the main control cover gasket.
    Fig 9: Removing Main Control Cover Gasket
    G01163156
    NOTE: Remove the bolts in the indicated sequence.
  14. Remove the main control valve body bolts.
    Fig 10: Removing Main Control Valve Body Bolts
    G01163157
  15. NOTE: Do not damage the manual valve.
    Fig 11: Disconnecting Manual Valve Link
    G01163158
  16. Lift the main control valve body while disconnecting the manual valve link.
  17. Depress the retaining tabs and push the solenoid valve body electrical connector down through the transaxle case.
    Fig 12: Locating Solenoid Valve Body Electrical Connector
    G01163159
  18. Make sure the manual valve control lever does not fall out of the main control valve body while removing from the vehicle.
    Fig 13: Removing Main Control Valve Body
    G01163160