LEMON Manuals: Even more car manuals for everyone: 1960-2025
Home >> Mazda >> 2003 >> 6 s, Automatic >> Repair and Diagnosis >> Transmission >> Automatic Trans >> Automatic Transaxle [Shift Mechanism] >> Selector Lever Component Removal/Installation >> Selector Cable Installation Note (FN4A-El Automatic Transaxle Models)
April 5, 2026: LEMON Manuals is launched! Read the announcement.

Selector Cable Installation Note (FN4A-El Automatic Transaxle Models)

  1. Install the selector cable to the selector lever securely.
  2. Install the selector cable to the bracket securely.
    NOTE:
    • Steps 3 and 4 are for the selector cable replacement only.
    Fig 1: Installing Selector Cable To Bracket
    G01932711Courtesy of MAZDA MOTORS CORP.
  3. Verify that the selector lever is in the position.
  4. Lock the lock piece of the selector cable (selector lever side) in the order shown in Fig 2 .
    Fig 2: Locking Lock Piece Of Selector Cable (Selector Lever Side)
    G01932712Courtesy of MAZDA MOTORS CORP.
  5. Verify that the manual shaft is in the position.
    CAUTION:
    • Bending the selector cable in the manner shown in Fig 3 will damage the cable and it may become loose when shifted. When installing the selector cable, hold it straight.
    Fig 3: Wrong Way Of Bending Selector Cable
    G01932713Courtesy of MAZDA MOTORS CORP.
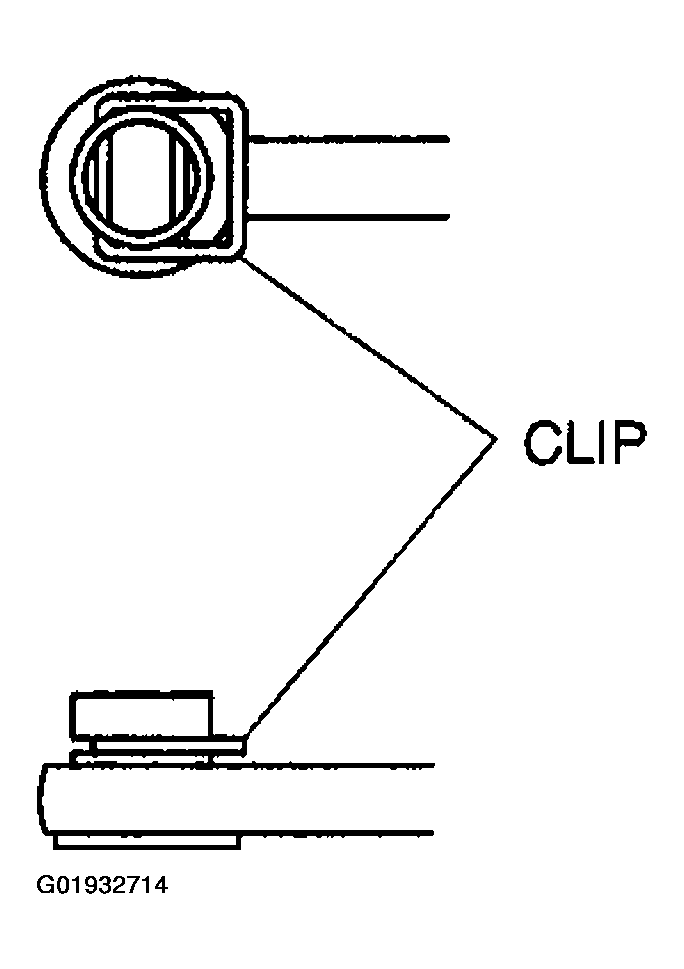
  6. Install the clip as shown in Fig 4 .
    Fig 4: Installing Selector Cable Clip
    G01932714Courtesy of MAZDA MOTORS CORP.
    NOTE:
    • Install the selector lever to the manual shaft lever with the clip side of the selector cable end facing the front of the vehicle.
  7. Install the selector lever to the manual shaft lever in such a way that the selector cable does not bear a load.
  8. Confirm that the end of the manual shift lever sticks out of the end of the selector cable.
    Fig 5: Confirming End Of Manual Shift Lever Sticks Out Of End Of Selector Cable
    G01932715Courtesy of MAZDA MOTORS CORP.
  9. Install the selector cable to the selector cable bracket securely.