LEMON Manuals: Even more car manuals for everyone: 1960-2025
Home >> Mazda >> 2004 >> 3 i, Automatic >> Repair and Diagnosis >> Engine Performance >> System >> Engine Control System >> Control System Diagram >> Except for California Emission Regulation Applicable Model
April 5, 2026: LEMON Manuals is launched! Read the announcement.

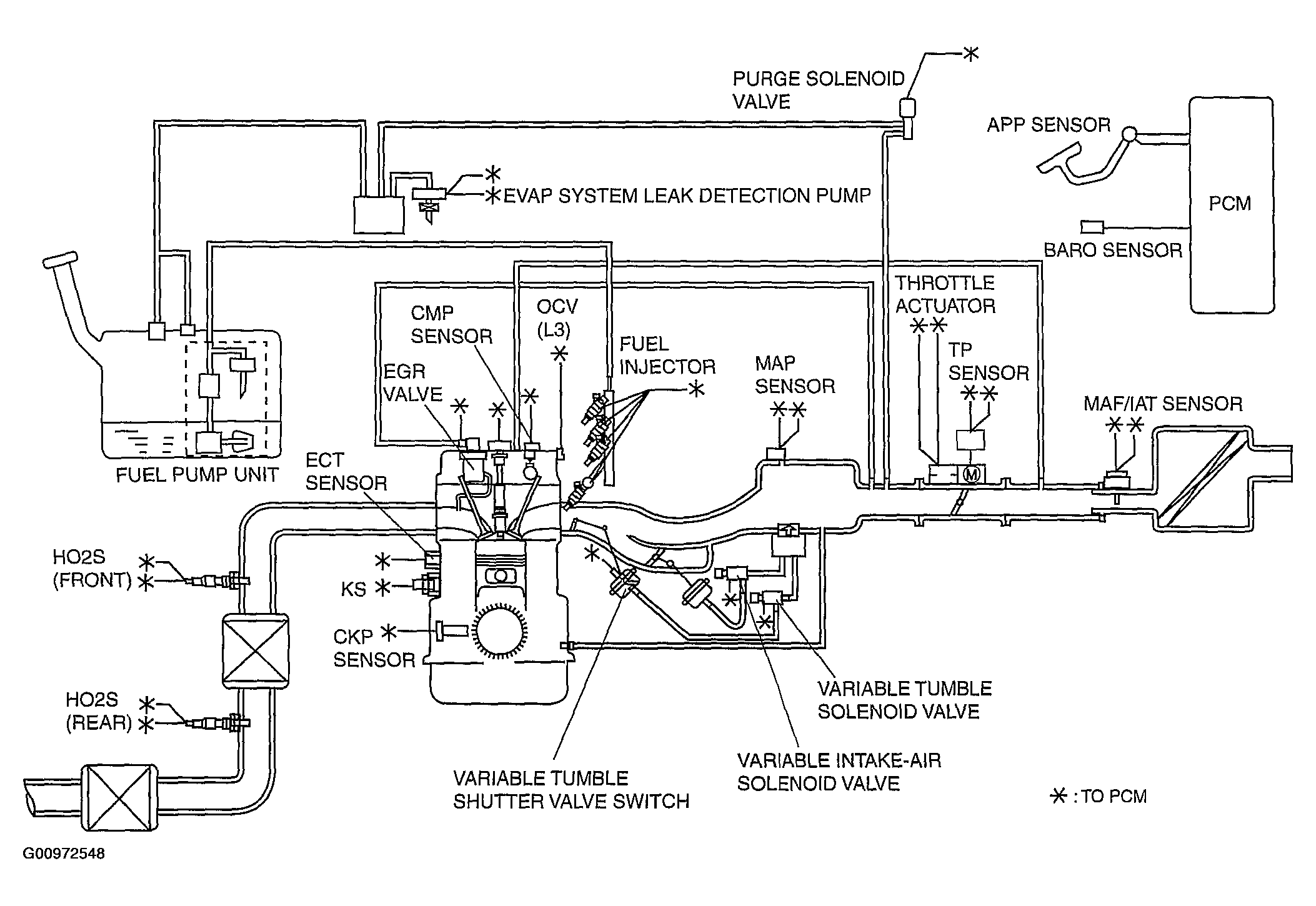
Except for California Emission Regulation Applicable Model

Fig 1: Control System Diagram-Except For California Emission Regulation Applicable Model
G00972548Courtesy of MAZDA MOTORS CORP.