LEMON Manuals: Even more car manuals for everyone: 1960-2025
Home >> Mazda >> 2004 >> 3 i, Standard >> Repair and Diagnosis >> Restraints >> Restraints Control Systems >> Seat Belt System >> Front Buckle Removal/Installation
April 5, 2026: LEMON Manuals is launched! Read the announcement.

Front Buckle Removal/Installation

WARNING:
  1. Turn the ignition switch to the LOCK position.
  2. Disconnect the negative battery cable and wait for 1 min or more. 
  3. Remove the front seat. (See FRONT SEAT REMOVAL/INSTALLATION .)
  4. Detach the tab as shown in the figure and remove the connector from the seat connector.
    Fig 1: Removing Pre-Tensioner Front Buckle Connector
    G00975966Courtesy of MAZDA MOTORS CORP.
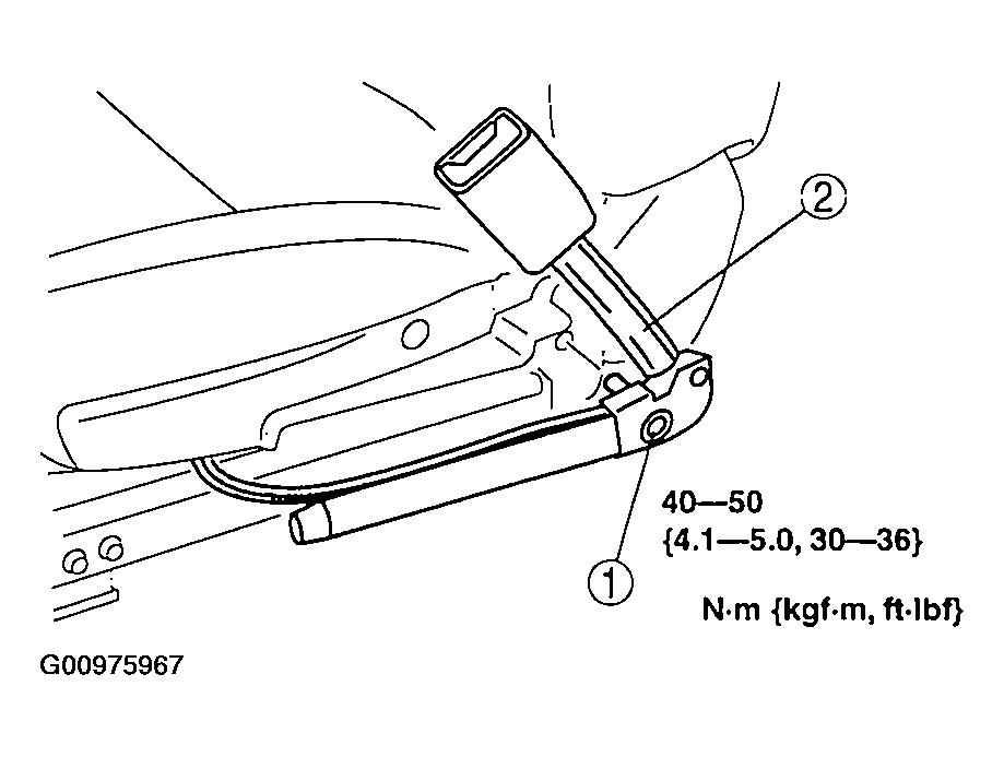
  5. Remove in the order indicated.
    Fig 2: Front Buckle Removal Sequence
    G00975967Courtesy of MAZDA MOTORS CORP.
    Fig 3: Front Buckle Removal Sequence Legend
    G00975968Courtesy of MAZDA MOTORS CORP.
  6. Install in the reverse order of removal.
  7. Verify that the air bag system warning light illuminates for approx. 6 s  and then goes out when the ignition switch is turned to the ON position.
    • If the air bag system warning light does not operate, refer to the on-board diagnostic system (air bag system) and perform inspection of the system.