LEMON Manuals: Even more car manuals for everyone: 1960-2025
Home >> Mazda >> 2004 >> B2300 Base, Standard >> Repair and Diagnosis >> Body & Frame >> Door Locks >> Security System And Locks System >> Relay Component Test >> Notes
April 5, 2026: LEMON Manuals is launched! Read the announcement.

Relay Component Test: Notes

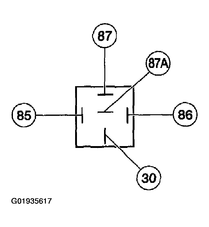
Fig 1: Identifying Relay Terminals
G01935617Courtesy of MAZDA MOTORS CORP.

Testing of an ISO relay can be accomplished through the use of three No. 10 (or larger gauge) jumper wires and a multimeter.