LEMON Manuals: Even more car manuals for everyone: 1960-2025
Home >> Mazda >> 2004 >> MPV ES >> Repair and Diagnosis >> Transmission >> Automatic Trans >> Automatic Transaxle (Service) >> TCM Removal/Installation
April 5, 2026: LEMON Manuals is launched! Read the announcement.

TCM Removal/Installation

  1. Disconnect the negative battery cable.
  2. Remove the floor mat of passenger seat.
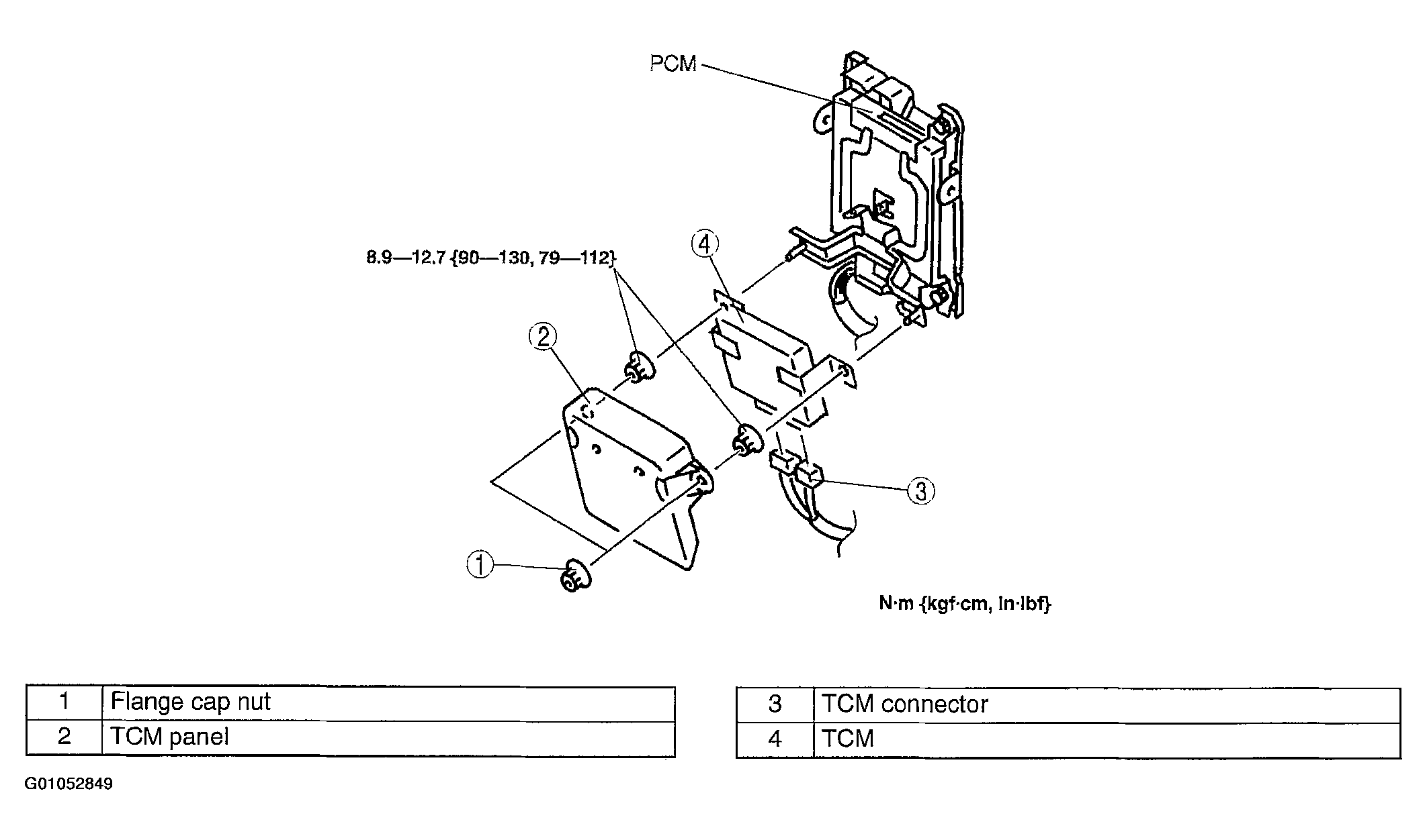
  3. Remove in the order indicated in the figure.
    Fig 1: Removing/Installing TCM
    G01052849Courtesy of MAZDA MOTORS CORP.
  4. Install in the reverse order of removal.
  5. Install the floor mat of passenger seat.
  6. Connect the negative battery cable.