LEMON Manuals: Even more car manuals for everyone: 1960-2025
Home >> Mazda >> 2004 >> RX-8 1.3 3 >> Repair and Diagnosis >> Engine Performance >> System >> On-Board Diagnostic (Engine Control System 13BMSP] >> Control System Wiring Diagram
April 5, 2026: LEMON Manuals is launched! Read the announcement.

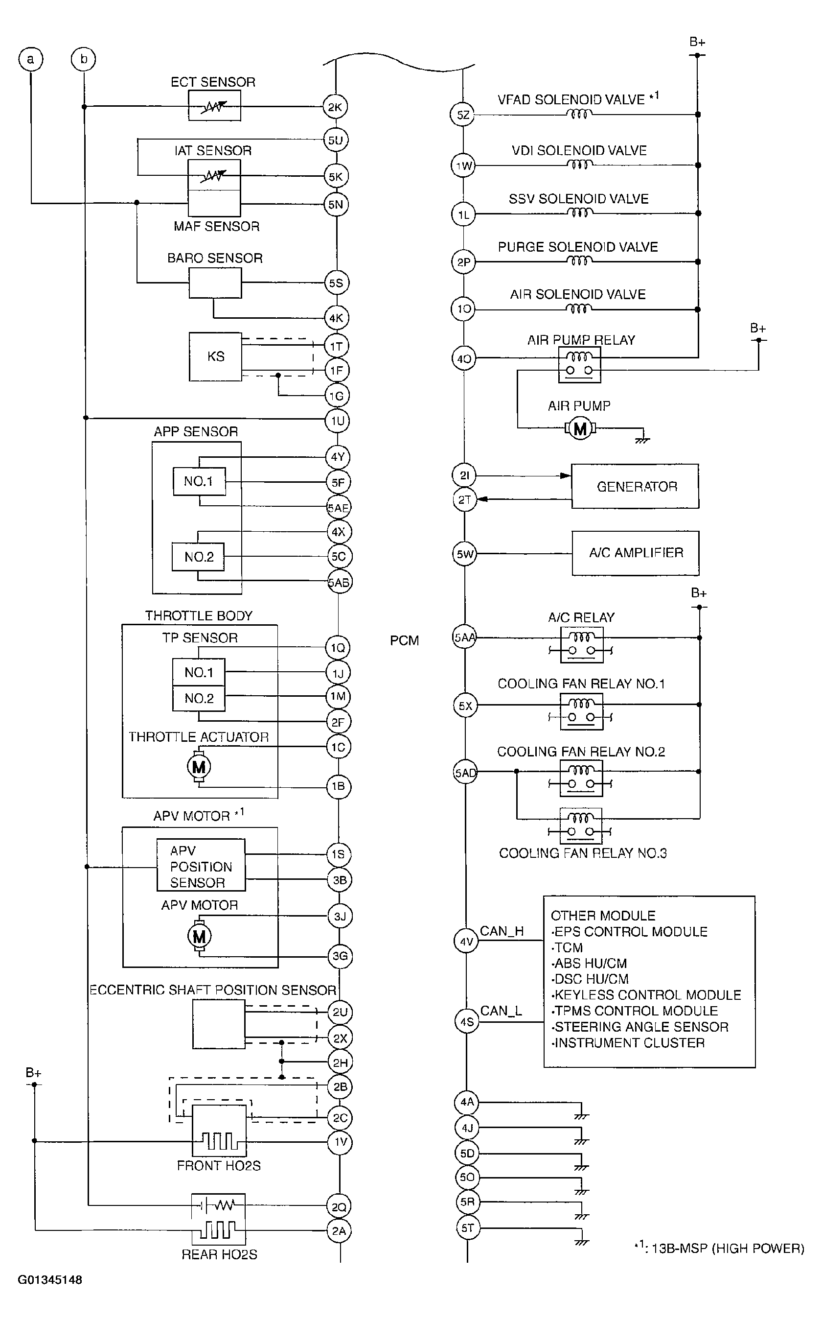
Control System Wiring Diagram

Fig 1: Control System Wiring Diagram (1 Of 2)
G01345147Courtesy of MAZDA MOTORS CORP.
Fig 2: Control System Wiring Diagram (2 Of 2)
G01345148Courtesy of MAZDA MOTORS CORP.