LEMON Manuals: Even more car manuals for everyone: 1960-2025
Home >> Mazda >> 2005 >> 3 i, Standard >> Repair and Diagnosis >> Electrical >> Charging Systems >> Charging System >> Battery Removal/Installation >> PCM Cover Installation Note
April 5, 2026: LEMON Manuals is launched! Read the announcement.

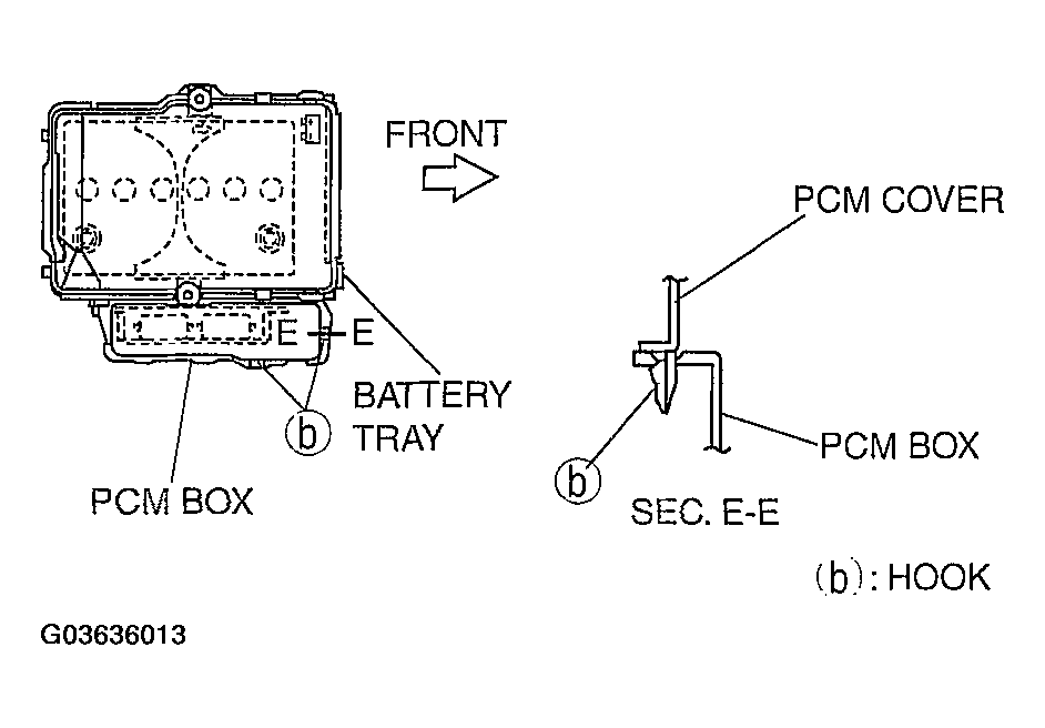
PCM Cover Installation Note

  1. Install with the PCM cover hooks B aligned with the PCM box holes.
    Fig 1: Installing/Aligning PCM Cover Hooks B With PCM Box Holes
    G03636013Courtesy of MAZDA MOTORS CORP.
  2. Install the PCM cover to the PCM box hook.
    Fig 2: Installing PCM Cover To PCM Box Hook
    G03636014Courtesy of MAZDA MOTORS CORP.