LEMON Manuals: Even more car manuals for everyone: 1960-2025
Home >> Mazda >> 2005 >> B3000 Base, Automatic >> Repair and Diagnosis >> Electrical >> Charging Systems >> Symptom Troubleshooting [Engine) >> General Test Index >> General Pinpoint Test 13: Ignition Scope Pinpoint Test
April 5, 2026: LEMON Manuals is launched! Read the announcement.

General Pinpoint Test 13: Ignition Scope Pinpoint Test

CAUTION:
  • Fouled plugs or a damaged ignition may cause high catalyst temperatures. Check components next to the catalyst and muffler for heat damage.
2.3L - FIRING ORDER AND IGNITION COIL

Firing Order Ignition Coil
1 1
3 2
4 1
2 2
3.0L & 4.0L - FIRING ORDER AND IGNITION COIL

Firing Order Ignition Coil
1 1
4 2
2 3
5 1
3 2
6 3
Fig 1: Identifying Ignition Coil And Spark Plug
G03728069Courtesy of MAZDA MOTORS CORP.
PINPOINT TEST 13 - IGNITION SCOPE PINPOINT TEST

PINPOINT TEST 13 IGNITION SCOPE PINPOINT TEST
STEP INSPECTION ACTION
1 VISUAL INSPECTION OF IGNITION SYSTEM
  • Visually inspect the engine compartment to make sure all coils and spark plug wires are properly and securely connected.
  • Examine all wiring harnesses and connectors for damaged, burned or overheated insulation and loose or broken conditions.
  • Be certain the battery is fully charged.
  • All accessories must be off during diagnosis.
  • Is a problem indicated? 
Yes Repair as necessary. Complete Misfire Monitor Repair Verification Drive Cycle.
See DRIVE CYCLES  .
No For diagnosis with engine analyzer, Go to next step.
For diagnosis without engine analyzer, Go to step 10.
2 CONNECT ENGINE ANALYZER
  • Obtain an engine analyzer to diagnose concerns in the secondary side of the ignition system.
    NOTE:
    • In order for the diagnostic procedures to provide accurate results, it is essential that the calibration of the engine analyzer be maintained. See the equipment manual for the procedure to calibrate the engine analyzer. If the equipment manual is not available, an estimate of the calibration can be made by connecting the Spark Tester 303-D037 (D81P-6666-A) or equivalent to a properly operating ignition system and measuring the firing voltage of the spark tester only. The spark tester firing voltage should be approximately 28KV.
  • Is the engine analyzer connected? 
Yes Go to next step.
No Repeat step 2.
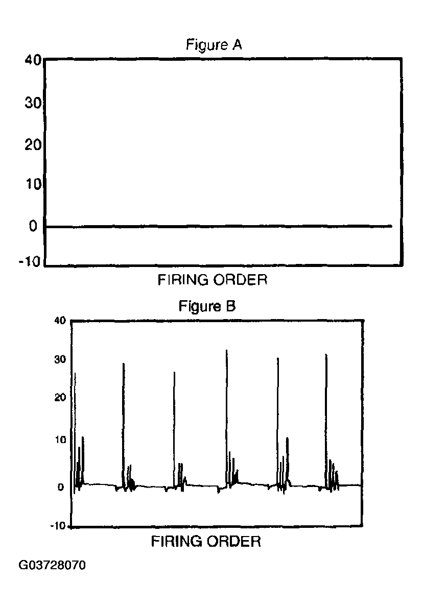
3 CHECK FOR IGNITION PATTERN
  • Observe pattern on scope while cranking engine. See Fig 2 at the end of this test.
  • Is the pattern flat which indicates no spark on all cylinders? 
Yes IGN START/RUN circuit concern. Key OFF. Check condition of related fuses/fuse links. If OK, repair open circuit. If fuse/fuse link is damaged, check IGN START/RUN circuit for short to ground. Repair as necessary. Complete Misfire Monitor Repair Verification Drive Cycle.
See DRIVE CYCLES  .
No Go to next step.
4 CHECK FOR NORMAL IGNITION PATTERN
NOTE:
  • Spark plugs are fired up to four strikes per firing. Multi-strike operating mode is dependent on the PCM calibration and is limited to less than 2000 RPM. Above 2000 RPM, spark plugs are fired once per firing.
  • Key ON, Engine Running (KOER).
  • Check spark plug firing voltage average and evenness of patterns. See Fig 2 at the end of this test.
  • Are patterns even and is the average value of spark plug firing voltage 20KV or less with evenness of spark plug firing voltage 8KV or less? 
Yes If you were directed to this Pinpoint Test from the Diagnostic Index, return to See SYMPTOM TROUBLESHOOTING CHART - ENGINE DRIVEABILITY  . If you were directed to this Pinpoint Test from Misfire Detection Monitor step 4, return to See MISFIRE DETECTION MONITOR  step 5.
If you were directed to this Pinpoint Test from Test 16: No Start step 6, return to step 7.
All others, go to See GENERAL PINPOINT TEST 4: INTERMITTENT  .
No Go to next step.
5 CHECK FOR TWO MISSING SPARK PATTERNS ON THE SAME COIL
  • Observe pattern on scope. See Fig 3 at the end of this test.
  • Is the spark pattern missing from two cylinders on the same coil? 
Yes Inspect spark plug wires and spark plugs for missing cylinders.
Measure resistance of spark plug wires.
Replace wire(s) if greater than 7000 ohms per foot.
See SPARK PLUG WIRE REMOVAL/INSTALLATION - 2.3L/3.0L/4.0L .
Measure resistance of spark plugs.
Replace if lower than 2000 or higher than 20000 ohms.
See SPARK PLUG REMOVAL/INSTALLATION .
If spark plug wires and spark plugs are OK,
See IGNITION COIL PRIMARY CIRCUIT MALFUNCTION  .
No Go to next step.
6 CHECK FOR ONE MISSING SPARK PATTERN
  • Observe pattern on scope. See Fig 3 at the end of this test.
  • Is spark pattern missing from one cylinder? 
Yes Inspect spark plug wire and spark plug for missing cylinder.
Measure resistance of spark plug wire.
Replace if greater than 7000 ohms per foot.
See SPARK PLUG WIRE REMOVAL/INSTALLATION - 2.3L/3.0L/4.0L .
Measure resistance of spark plug.
Replace if lower than 2000 or higher than 20000 ohms.
See SPARK PLUG REMOVAL/INSTALLATION .
Complete Misfire Monitor Repair Verification Drive Cycle.
See DRIVE CYCLES  .
No Go to next step.
7 CHECK FOR HIGH SPARK PLUG FIRING VOLTAGE
  • Check the spark plug firing voltage average and evenness. See Fig 4 at the end of this test.
  • Is the average value of spark plug firing voltage greater than 20KV with evenness of spark plug voltage 8KV or less? 
Yes Conditions affect all cylinders.
Inspect spark plug wires and spark plugs.
Measure resistance of spark plug wires.
Replace if greater than 7000 ohms per foot.
See SPARK PLUG WIRE REMOVAL/INSTALLATION - 2.3L/3.0L/4.0L .
Check spark plug gaps.
Measure resistance of spark plugs.
Replace if lower than 2000 or higher than 20000 ohms.
See SPARK PLUG REMOVAL/INSTALLATION .
Complete Misfire Monitor Repair Verification Drive Cycle.
See DRIVE CYCLES  .
No Go to next step.
8 CHECK FOR LOW SPARK PLUG FIRING VOLTAGE
  • Check the spark plug firing voltage average and evenness. See Fig 4 at the end of this test.
  • Is there consistently low spark plug firing voltage or sloping spark line on one or more cylinders? 
Yes Inspect spark plug wire and spark plugs.
Measure resistance of spark plug wires.
Replace if greater than 7000 ohms per foot.
See SPARK PLUG WIRE REMOVAL/INSTALLATION - 2.3L/3.0L/4.0L .
Measure resistance of spark plugs.
Replace if lower than 2000 or higher than 20000 ohms.
See SPARK PLUG REMOVAL/INSTALLATION .
Complete Misfire Monitor Repair Verification Drive Cycle.
See DRIVE CYCLES  .
No Go to next step.
9 CHECK FOR EVENNESS BETWEEN CYLINDERS
  • Check the spark plug firing voltage average and evenness. See Fig 5 at the end of this test.
  • Is the evenness of spark plug firing voltage greater than 8KV? 
Yes Inspect spark plug wires and spark plugs.
Measure resistance of spark plug wires.
Replace if greater than 7000 ohms per foot.
See SPARK PLUG WIRE REMOVAL/INSTALLATION - 2.3L/3.0L/4.0L .
Check for damaged spark plugs or narrow spark plug gaps.
Measure resistance of spark plugs.
Replace if lower than 2000 or higher than 20000 ohms.
See SPARK PLUG REMOVAL/INSTALLATION .
Complete Misfire Monitor Repair Verification Drive Cycle.
See DRIVE CYCLES  .
No See GENERAL PINPOINT TEST 4: INTERMITTENT  .
10 DTC P0301 THROUGH DTC P0306: MISFIRE ON CYLINDERS 1 THROUGH 6
  • Are any of the above listed DTCs present? 
Yes Go to next step.
No Go to step 12.
11 CHECK FOR SPARK AT CYLINDER(S) INDICATED BY DTC(S)
  • Disable fuel pump shutoff switch.
  • Disconnect spark plug wire(s) from spark plug(s).
  • Connect a Spark Tester 303-D037 (D81P-6666-A) or equivalent to a spark plug wire.
  • Check for spark while cranking engine.
  • Is the bluish-white spark present? 
Yes Key OFF.
Go to step 13.
No Key OFF.
Inspect spark plug wires.
Measure resistance of spark plug wires.
Replace if greater than 7000 ohms per foot.
See SPARK PLUG WIRE REMOVAL/INSTALLATION - 2.3L/3.0L/4.0L .
Complete Misfire Monitor Repair Verification Drive Cycle.
See DRIVE CYCLES  . If spark plug wires are OK,
See GENERAL PINPOINT TEST 4: INTERMITTENT  .
12 CHECK FOR SPARK AT ALL CYLINDERS
  • Disable fuel pump shutoff switch.
  • Using a Spark Tester 303-D037 (D81P-6666-A) or equivalent, check for spark at each cylinder while cranking engine.
  • Check for spark while cranking engine.
  • Is the bluish-white spark consistent between all cylinders? 
Yes Key OFF.
Go to next step.
No Key OFF.
Inspect spark plug wires.
Measure resistance of spark plug wires.
Replace if greater than 7000 ohms per foot.
See SPARK PLUG WIRE REMOVAL/INSTALLATION - 2.3L/3.0L/4.0L .
Complete Misfire Monitor Repair Verification Drive Cycle.
See DRIVE CYCLES  . If spark plug wires are OK,
See GENERAL PINPOINT TEST 4: INTERMITTENT  .
13 CHECK SPARK PLUGS
  • Remove and check plugs for damage, wear, carbon deposits and proper plug gap.
  • Are plugs OK? 
Yes Go to next step.
No Repair plugs.
Adjust gap or replace as necessary.
See SPARK PLUG REMOVAL/INSTALLATION .
Complete Misfire Monitor Repair Verification Drive Cycle.
See DRIVE CYCLES  .
14 MEASURE SPARK PLUG RESISTANCE
  • Measure spark plug resistance.
  • Is resistance between 2000 and 20000 ohms? 
Yes If you were directed to this Pinpoint Test from Diagnostic Index, return to See SYMPTOM TROUBLESHOOTING CHART - ENGINE DRIVEABILITY  . If you were directed to this Pinpoint Test from Misfire Detection Monitor step 4, return to See MISFIRE DETECTION MONITOR  step 5.
If you were directed to this Pinpoint Test from Test 16: No Start, return to See GENERAL PINPOINT TEST 12: NO START  .
All others,
See DRIVE CYCLES  .
No Replace spark plugs.
Complete Misfire Monitor Repair Verification Drive Cycle.
See DRIVE CYCLES  .
Fig 2: Pinpoint Test 13 Fig A & B
G03728070Courtesy of MAZDA MOTORS CORP.
Fig 3: Pinpoint Test 13 Fig C & D
G03728071Courtesy of MAZDA MOTORS CORP.
Fig 4: Pinpoint Test 13 Fig E & F
G03728072Courtesy of MAZDA MOTORS CORP.
Fig 5: Pinpoint Test 13 Fig G
G03728073Courtesy of MAZDA MOTORS CORP.